
На заметку!
Штыри обычно выполняют из дуба или из смолистого хвойного дерева. Их длина должна составлять 100 мм, а диаметр – 20–25 мм. Для строительства можно использовать даже металлические штыри.
Верхний венец сруба – верхняя обвязка или мауэрлат – обеспечивает опору для потолка и крыши. На его сооружение идут крепкие и тщательно обработанные бревна или брусья.
После того как стены будут выстроены, их необходимо тщательно проконопатить. Для этой цели используются пенька, пакля, лен, мох, войлок. Конопляную или льняную паклю предварительно нужно очистить от костры, а затем тщательно просушить. Влажный мох приведет к загниванию древесины, поэтому его тоже требуется хорошо просушить. Войлок перед укладкой следует нарезать лентами.
Для конопачения потребуется специальный инструмент: лопатки различной формы (наборная, кривая, разбивная, дорожник), киянка (молоток из древесины), а также переносные подмости или козлы. К слову сказать, все эти простые инструменты можно сделать самостоятельно.
Конопатить следует по венцам. Если вести этот процесс по стенам, то они скорее всего перекосятся. После завершения конопачения стены должны подняться на 10–15 см. Это следует учесть при окончательном оконопачивании, которое производится лишь полтора года спустя после завершения строительства, то есть когда все стены осядут.
Перед повторным конопачением необходимо освободить трубу, чтобы между ней, потолком и крышей был зазор. В противном случае труба может разрушиться. Чтобы не происходило циркуляции воздуха, нужно тщательно заделать все пустоты в стене, иначе в холодное время года из воздуха, содержащегося в них, образующийся конденсат будет разрушать древесину.
После окончательного конопачения швы в стенах можно закрыть деревянными рейками. Наружные углы стен при этом желательно обложить слоем пакли, а затем закрыть досками.
В проемы для дверей и окон устанавливаются косяки, состоящие из порога и верхнего и боковых брусьев, соединяющиеся со срубом в шип, но для этого в них нужно сделать пазы (рис. 21).

Порог и верхний брус в этой конструкции нужно сделать без пазов. Над брусом требуется оставить небольшой зазор (не более 4–5 см) для оседания стен. Его можно заполнить паклей и закрыть досками.
Косяки, порог и брус с внутренней стороны должны быть оборудованы специальными выборками в четверть, с помощью которых будут изготавливаться оконные и дверные переплеты. После того как стены дома окончательно осядут, их можно обшить досками с одной или с обеих сторон. Для этого лучше всего взять строганные доски толщиной 16 мм (так называемая вагонка), причем в них предусмотрено изготовление шпунтовки или фальцовки.
Под внутренней обшивкой можно уложить специальный пароизоляционный слой – пергамин, фольгу или пропитанную лаком стеклоткань. При этом обшивку следует производить по рейкам, приколоченным к стене. Между стеной и обшивкой в таком случае образуется зазор, способствующий сушке обшивки после пользования баней.
На заметку!
В моечной нижнюю часть стен желательно обить пластиком, стеклопластиком, асбестоцементными листами или шифером, которые не пропускают влаги.
Стены из кирпича и камня
Выстроить баню из камня или кирпича гораздо труднее, чем из древесины. Однако бывают случаи, когда камень или кирпич являются гораздо более доступными материалами по сравнению с деревом, тогда из них приходится возводить не только фундамент, но и стены. Следует отметить, что у таких стен есть свои определенные плюсы: они менее пожароопасны и служат дольше. Но у них также имеются и существенные недостатки. Например, они теряют большое количество тепла из-за своей высокой теплопроводности. Однако данный недостаток можно устранить за счет создания внутренней деревянной обшивки, в которой будет сделана дополнительная тепло– и пароизоляция.
Стены допустимо возводить из любых камней или кирпичей, но желательно использовать облегченные кирпичи с пустотами внутри, теплоизоляционные характеристики которых намного выше.
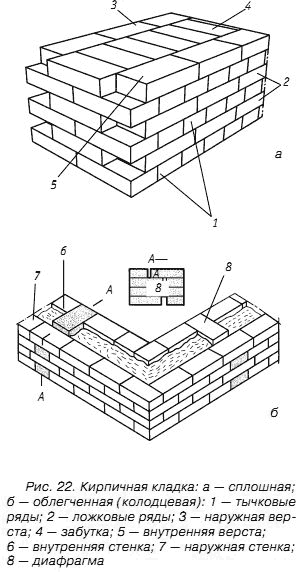
На рисунке 22 приводится кладка из обыкновенного кирпича.

Первоначально следует привести несколько общих сведений, касающихся кирпичной кладки. Это полезно знать начинающим строителям.
Кладка ведется путем укладывания кирпича плашмя (на постель). Кирпичную кладку необходимо вести с перевязкой швов, то есть каждый кирпич верхнего ряда должен лечь между двумя кирпичами нижнего ряда, чтобы перекрыть собой шов. Опытные каменщики знают несколько способов перевязки, которые значительно ускоряют процесс кладки, а также способны образовать узор на плоскости стены.
Самой простой является цепная перевязка швов (другое ее название – однорядная). Ее суть состоит в том, что сначала кладутся ряды кирпичей поперек стены (тычковыми сторонами), а следующий ряд выкладывается кирпичами вдоль стены (ложковыми сторонами). При этом необходимо помнить о том, что поперечные швы в соседних рядах должны быть сдвинуты на четверть кирпича, а продольные – на полкирпича. Толщина растворных швов должна находиться в пределах от 8 до 15 мм.
На заметку!
Как правило, толщина стен в бане составляет 38 или 51 см, то есть в полтора или в два кирпича. Если вы живете в умеренном климате, а баня сама по себе будет небольшая, то толщину стен можно уменьшить до одного кирпича.
Для хорошей кладки высота каждого ряда с учетом толщины шва должна превышать толщину кирпича примерно на 12 мм. Можно сделать несложные вычисления и получить, что для сооружения стены высотой 210–220 см вам придется выложить целых 28 рядов кирпичей, толщина которых составляет 65 мм.
Лучше всего сохраняет тепло облегченная кладка, которая к тому же позволяет сэкономить значительное количество стройматериалов. Такая конструкция включает в себя две стенки толщиной полкирпича каждая, расстояние между которыми должно составлять 13–14 см. Образующийся промежуток обычно заполнен утеплителем. Связь между этими стенками обеспечивается за счет поперечных стенок (диафрагм), которые должны находиться в 1 м друг от друга.
Каждый из кирпичей в диафрагме располагается с зазором в 2–3 см относительно кирпича соседней стены. Однако этот зазор не заполняют раствором из соображений утепления. Исключение из этого правила составляют лишь периметры оконных и дверных проемов.
Общая толщина данной конструкции обычно составляет 39–40 см. На такую стенку уходит на 6–8 % кирпичей больше, чем ушло бы на строительство стены толщиной в один кирпич. При строительстве облегченной кладки лучше всего использовать утеплители в форме плит. Их необходимо прикреплять к внутренней стенке с помощью битумных или синтетических связующих. Также крепление можно осуществлять с помощью фиксаторов-полосок, вырезанных из этих же плит и устанавленных в распор к утеплителю и наружной стене. Между этими распорками должно быть не более 50 см. А между утеплителем и наружной стеной образуется зазор из воздуха.
Если утеплителя в виде плит нет, то его может заменить сыпучий утеплитель – керамзит, легкий шлак, легкий бетон, – в котором цемента содержится крайне мало. Наиболее оптимальной является засыпка, включающая в себя опилки, песок и известь-пушонку в следующей пропрорции: 2: 2: 1. Получившуюся смесь надо засыпать в кладку примерно по 40–50 см со штыкованием, каждый засыпанный слой залить известковым раствором в консистенции сметаны.
При строительстве облегченной кладки диафрагмы лучше всего устанавливать под опорами балок перекрытия. Для того чтобы стена в средней части также была достаточно прочной, в углах и в верхней части кладки необходимо сделать арматурную сетку или проволочные связки, объединяющие между собой кирпичи в соседних стенках.
Вместо кирпичных диафрагм допускается использование стальных прутьев диаметром 5–8 мм с загнутыми концами. Прутки должны находиться на расстоянии 50 см друг от друга или даже ближе.
Колодцевая кладка должна завершаться 3–4 рядами сплошной кладки, но при этом придется использовать металлическую армировку в форме сетки или прутьев.
Для строительства стен из кирпича потребуются специальные инструменты. Это кельма (или мастерок) – лопатка, сделанная в форме треугольника, оснащенная короткой ручкой, растворная лопата (вместо нее можно использовать обыкновенную совковую лопату), расшивки для обработки швов в кладке, а также молоток-кирочка для раскалывания и отесывания кирпича (рис. 23).

Для контроля за качеством кладки потребуются различные приспособления, среди которых наиболее важными являются отвес, рулетка, складной метр, уровень, правило, деревянный угольник, порядовка и шнур-причалка.
Правило представляет собой деревянную рейку сечением 30 × 80 мм и длиной до 2 м. Оно предназначено для контроля за плоскостью стены.
Порядовка – деревянная рейка сечением 50 × 50 мм и длиной также около 2 м. На ней через каждые 77 мм нанесены насечки соответственно рядам кладки. Она предназначена для того, чтобы размечать ряды кладки, отмечать местонахождение дверных и оконных проемов, перемычек и т. д. Порядовка при строительстве крепится к наружной поверхности стены с помощью металлических держателей-скоб. В скобах сделаны специальные поперечные планки для закладки между рядами кирпича.
На заметку!
Если между угловыми порядовками будет слишком большое расстояние, придется устанавливать и промежуточные порядовки.
Перед выкладыванием стены следует установить по периметру будущих стен угловые порядовки, после чего тщательно выверить их по отвесу и уровню, чтобы засечки в каждом ряду находились в одной и той же горизонтальной плоскости.
К порядовкам на уровне первого ряда кирпичей крепятся шнуры-причалки, причем с небольшим отступлением от стены – примерно 3–4 мм. При выполнении любого типа кладки первые два ряда стен должны быть выложены всплошную.
Кладку первого ряда следует начать прямо на гидроизоляционном слое поперек фундамента, то есть с тычкового ряда. Каждый ряд начинается с укладки наружной версты (так называется лицевой ряд кладки). После этого изготавливается ряд внутренней версты, затем уже кладется забутка (промежуточный ряд кладки), если она предусмотрена конструкцией. Слой раствора должен быть 20–25 мм, при этом его лучше не доводить до края стены приблизительно на 10–15 мм. При кладке такой ход обеспечит толщину шва в 10–12 мм, а также полное заполнение зазора, образующегося между кирпичами.
Конец ознакомительного фрагмента.
Текст предоставлен ООО «ЛитРес».
Прочитайте эту книгу целиком, купив полную легальную версию на ЛитРес.
Безопасно оплатить книгу можно банковской картой Visa, MasterCard, Maestro, со счета мобильного телефона, с платежного терминала, в салоне МТС или Связной, через PayPal, WebMoney, Яндекс.Деньги, QIWI Кошелек, бонусными картами или другим удобным Вам способом.
Вы ознакомились с фрагментом книги.
Для бесплатного чтения открыта только часть текста.
Приобретайте полный текст книги у нашего партнера:
Всего 10 форматов