

Галина Серикова
Строим дачу за один сезон
Предисловие
Желание иметь дачу вполне естественно, хотя и порождает немало вопросов, в частности: где, что именно и для чего строить, как и кто это будет реализовывать, как долго все это продлится и во сколько обойдется? И очень важно ответить на них еще до того, как будут развернуты строительные работы.
Такой клубок проблем свалится на вас, как только вы примете окончательное решение. Чтобы под их тяжестью не растерять уверенность, не торопясь, обстоятельно, вникая во все детали, проведите ревизию участка, если таковой уже есть, или наведите справки о его покупке, если он отсутствует. Допустим, что есть не только участок, но и остатки какого-то строения на нем. В первую очередь проверьте, стоит ли оно на фундаменте или это всего лишь то, что в недавнем прошлом было хозблоком, предназначенным для хранения орудий труда. Если обнаружится фундамент, то в нескольких местах отбросьте от него грунт и, добравшись до подошвы (так называется нижняя часть фундамента), посмотрите, в каком он состоянии и может ли быть использован под задуманный вами дом. Если он вполне удовлетворительный, то считайте его подарком, поскольку, помимо снижения затрат, сохранится и линия застройки, к чему нередко предъявляют претензии в соответствующих организациях.
Если вы не знаете, на каких грунтах находится ваш участок и на какой глубине залегают грунтовые воды, то необходимо составить представление и о них, поскольку от этого в значительной степени зависит, удастся ли сэкономить на закладке фундамента и на строительных материалах, сократить временные затраты на те или иные виды строительных работ и пр.
Конечно, скальные грунты, являющиеся идеальными для строительства, там вряд ли окажутся, тем более что они не так распространены на нашей территории, как глинистые, особенно в местах, выделяемых под дачные участки. Но и на других грунтах можно вести строительство, хотя и с необходимыми поправками, в частности закладывать фундамент на различную глубину. Она составит не менее 500 мм при хрящеватых (обломочных, гравийных) грунтах; 400 – 700 мм – при песчаных; расчетную глубину промерзания – при глинистых. На слабых грунтах строительство тяжелого кирпичного или каменного дома обойдется достаточно дорого, но легкое деревянное строение они вполне способны выдержать.
Что касается грунтовых вод, то, безусловно, при низком их горизонте проблем не предвидится. В противном случае нужно будет выполнить дренаж.
Желательно заранее определиться с теми, кто будет вести строительство. Здесь есть несколько вариантов: нанять бригаду шабашников, обратиться в какую-либо фирму, гарантирующую сдачу объекта «под ключ», и обойтись собственными силами. Первые вряд ли оправдают ваши ожидания, поскольку чаще это малоквалифицированные люди и к тому же заинтересованные в том, чтобы сделать все максимально быстро, не слишком заботясь о качестве.
Заключение договора на разработку проекта и строительство дачного дома с той или иной фирмой потребует от вас, во-первых, наличия достаточного количества свободных средств, поскольку выложить их придется отнюдь не мало; во-вторых, вам надо будет оставить за собой контролирующие функции, на которые потребуется время.
Последний вариант, особенно если вы уже имеете опыт строительства или если у вас есть родственники либо знакомые, которые смогут помочь вам в этом деле, оказывается предпочтительнее. Если вы решитесь стать застройщиком-одиночкой, то потребуется выбрать такой проект, который реально начать и закончить самостоятельно, лишь в случае нужды прибегая к посторонней помощи.
Поэтому очень важно разработать собственную концепцию дачного дома, т. е. решить, для чего вы планируете иметь дачу. Представляется, что дачный дом ни в коей мере не должен повторять городскую квартиру, т. е. его компоновка, строительные материалы, интерьер должны быть другими. В нем можно позволить то, что в квартире сопряжено с дополнительными трудностями и хлопотами, например сложить камин, оборудовать сауну и т. п. Все должно быть направлено на то, чтобы отойти от городского быта, отвлечься от каждодневной суеты и с удовольствием предаться отдыху и свободе, поскольку основную часть времени предполагается проводить не в стенах дома, а по крайней мере на участке, разводя цветы, занимаясь газоном и пр. Только плохая погода и естественные потребности в еде и сне могут заставить вас находиться в помещении.
Подводя предварительный итог, заметим, что требуется дом:
✓ который можно построить с минимальным привлечением других лиц;
✓ в котором небольшая семья сможет проводить время с ранней весны до осени (не исключены и приезды на выходные зимой);
✓ который будет меньше всего походить на городскую квартиру.
На вопрос о том, сколько времени займет строительство, ответим, что не более одного сезона, поскольку долгострой (хотя у него тоже есть свои плюсы, но речь сейчас не об этом) рискует плавно перетечь в перманентную стадию и превратиться если не в образ жизни, то в стойкую привычку и затянуться настолько, что или наступит пора ремонта, или все так надоест, что останется только смириться с мелкими (или не очень) недоделками и дефектами.
И последнее, как говорилось в известном фильме: «Во что это выльется?» Это будет определяться многими факторами, прежде всего выбранными строительными технологиями, материалами и их стоимостью, наличием и отсутствием проекта, скрупулезным подсчетом и оптимальным раскроем пило– и лесоматериалов и др.
Таким образом, перед нами стоит задача: за короткий срок возвести дачный дом, при этом не разорившись на его строительстве. О том, как это сделать, мы и поговорим на страницах нашей книги.
Материалы для быстрого строительства
Каждый застройщик, рассматривая различные проекты, обязательно встает перед выбором: какому материалу отдать предпочтение, чтобы дом получился не только красивым, функциональным, теплым зимой и прохладным летом, но и вполне приемлемым по стоимости? Однозначно ответить на этот вопрос невозможно, поскольку слишком много разнородных факторов должно быть учтено, и в первую очередь – это назначение дома и финансовая состоятельность застройщика. Хотя нельзя принижать роль и других моментов, таких как, например, сколько человек будет осуществлять строительство. Если трудится бригада из 5 – 7 рабочих, то за сезон можно легко успеть построить и полноценный кирпичный дом; одному же человеку это явно не под силу.
Имеет значение и то, строится дом для сезонного или постоянного проживания. Если дача – это место для летнего отдыха, но вы планируете выбираться сюда и зимой, то предпочтение следует отдать древесине. Объяснение простое: этот материал обладает низкой теплоемкостью, что в реальности оборачивается тем, что, приехав в мороз, вы легко прогреете дом за короткое время. Если же это будет кирпичный дом, то вследствие тепловой инертности данного материала на обогрев потребуется гораздо больше времени, и, может быть, к моменту, когда станет тепло, вам надо будет уже собираться в город. Кирпич долго прогревается и медленно отдает тепло. Такой дом хорош для постоянного проживания.
Обзор всех имеющихся современных строительных технологий и материалов – задача практически невыполнимая. Учитывая цель, стоящую перед нашей книгой, мы предлагаем провести инвентаризацию только тех из них, которые позволяют построить дачу в течение одного сезона.
Отсюда вывод: в первом случае оптимально возвести брусовый, бревенчатый или каркасно-щитовой – одним словом, деревянный дом; во втором – кирпичный или из разных типов бетонных блоков.
Немаловажно и то, на сколько человек рассчитан дом – для семьи из двух человек или для семьи, в которой вместе проживают несколько поколений. Понятно, что второй должен быть более вместительным, следовательно, и количество строительных материалов и соответственно стоимость строительства будут гораздо выше.
Так из каких материалов можно быстро, легко и дешево построить удовлетворяющий всем потребностям дом? На это ответит только проект, в котором будут представлены предполагаемые к использованию материалы, рассчитаны расходы на их приобретение, чтобы можно было понять, как соотносятся их цена и качество. При этом следует учесть и расстояние между производителем строительных материалов и дачным участком. Если их можно закупить непосредственно на близкорасположенном предприятии, т. е. без торговых наценок, практически по себестоимости, то имеется реальная возможность, помимо этого, сэкономить и на транспортных расходах.
Таким образом, перед нами стоит задача представить различные строительные материалы и в первую очередь те, которые идут на возведение стен – элементов наиболее материалоемких и дорогих, причем для большей объективности следует сравнить не только материалы как таковые, но и варианты устройства из них ограждающих конструкций.
1. Кирпич. Это традиционный строительный материал, который, несмотря на появление новых материалов и технологий, используемых для частного строительства, по-прежнему остается самым востребованным. Производится силикатный и обыкновенный глиняный кирпич. Сырьем для первого являются кварцевый песок, известь, различные включения; для второго – легкоплавкие глины, суглинки и ряд добавок (песок, зола, опилки и др.). Наличие последних позволяет получать как полно-, так и пустотелый кирпич стандартных размеров (250 × 120 × 65 мм), а также полуторный кирпич с габаритами 250 × 120 × 88 мм. Кирпич имеет разную прочность, на что указывает его марка – М75, 100, 125, 150, 200 и др.
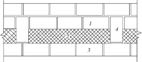
Чтобы кирпичная кладка соответствовала современным требованиям теплозащиты, толщина стены должна составлять 1,5 – 2 м, что по понятным причинам неприемлемо. Но есть другие способы, применение которых может сделать кирпичные стены вполне пригодными для дачного строительства. Достаточно устроить внутри кирпичной кладки эффективный теплоизоляционный слой. Именно такую цель преследует уже ставшая традиционной колодцевая кладка, при которой внутреннюю версту делают в кирпич (250 мм), а наружную – в полкирпича (120 мм). Версты соединяют выполняемыми с шагом не более 1170 мм внутренними поперечными связями в полкирпича, а образовавшиеся промежутки (колодцы) заполняют утеплителем (рис. 1). Каждые 5 – 6 рядов перемежают горизонтальными, армированными сеткой растворными диафрагмами, которые соединяют слои кладки, принимая на себя нагрузку от утеплителя, и одновременно служат противопожарным целям.

Рисунок 1. Колодцевая кладка: 1 – наружная верста; 2 – утеплитель; 3 – внутренняя верста; 4 – поперечные кирпичи
В малоэтажном строительстве, к которому относится и дачное, колодцевую кладку можно либо применять в таком виде, но при этом обязательно устройство дополнительного утепления (вертикальные связи становятся мостиками холода), либо усовершенствовать ее следующим образом (рис. 2) – убрать поперечные вертикальные стенки, уложив с шагом в 380 мм только тычковые кирпичи, а пространство между верстами заполнить легким утеплителем, например пенобетоном, который не только усилит несущую способность кладки, но и повысит теплоизоляционные характеристики стен и при этом значительно снизит трудовые и временные затраты на их возведение.

Рисунок 2. Модифицированная колодцевая кладка: 1 – наружная верста; 2 – внутренняя верста; 3 – утеплитель
В отличие от стандартного кирпича применение полуторного значительно сокращает сроки строительства, что особенно актуально при возведении большого дома. Пустотелые же блоки существенно уменьшают вес всего сооружения и нагрузку на фундамент, что дает экономические выгоды.
В настоящее время выпускаются крупноформатные керамические блоки (камни) размерами 510 × 260 × 219 мм, плотностью 790 кг/м2 и с показателем теплопроводности, равным 0,19 Вт/м2 °С, благодаря чему стена из такого материала, отделанная облицовочным кирпичом, характеризуется сопротивлением теплопередаче в соответствии со СНиПом 11 – 3-79. Не менее важно и то, что на 1 м2 такой стены требуются всего 34 блока, при том что кирпича понадобится 400 штук. Последнее обстоятельство позволяет вести кладку значительно быстрее.
Приобретая строительный материал, необходимо уметь визуально определить его качество. Если кирпич при падении с высоты не рассыпался на мелкие кусочки, это говорит о том, что он произведен с соблюдением технологии.
2. Стеновые камни производят не только из керамики, но и из легкого бетона, которые часто используют для строительства индивидуальных, в том числе и дачных домов. Самые распространенные – изделия из так называемого ячеистого бетона, разновидностями которого являются газо– и пенобетонные камни.
3. Газобетон (он же газосиликатобетон, сланцезольный бетон, газобетон автоклавного синтеза) изготавливается на автоматических линиях, благодаря которым материал получается геометрически идеальным. В состав сырья входит алюминиевая пудра, которая вызывает процесс газообразования с выделением водорода, что приводит к поризации цементного раствора. В результате рабочая смесь сильно увеличивается в объеме, чем напоминает дрожжевое тесто, а застыв, сохраняет свою пористую структуру.
Технология производства пенобетона несколько отличается от описанной, поскольку для этого не требуется применения автоклава. Пенобетон получается в процессе соединения цементного раствора с пеной, пузырьки которой равномерно распределяются по смеси, придавая ей необходимый объем. После застывания материал не утрачивает своей ячеистой структуры. Разница между ячеистыми бетонами состоит и в том, что в газобетоне поры замкнутые, а в пенобетоне – нет.
Сырье для получения ячеистых бетонов может иметь разные соотношения исходных компонентов, вследствие чего плотность готового продукта различна. Чем больше в бетоне пор, тем он легче, тем более высоки его тепло– и звукоизоляционные свойства, но при этом прочность материала ухудшается, и наоборот.
В соответствии с плотностью ячеистые бетоны находят разное применение, в частности плотность 400 – 600 кг/м2 имеет теплоизоляционный бетон, который используется для утепления стен, пола и прочего; 600 – 1200 кг/м2 – теплоизоляционно-конструкционный, из которого выпускают строительные плиты, блоки, сандвич-панели (бетон плотностью более 1000 кг/м2 называют конструкционным, поскольку из него могут возводиться несущие стены).
По своим тепло– и звукоизоляционным свойствам ячеистые бетоны похожи на натуральное дерево за исключением одного свойства – они пожаробезопасны, поскольку не только не горят, но и не поддерживают горение.
Но этим их положительные качества не ограничиваются. Из других достоинств укажем следующие:
✓ блоки из ячеистого бетона легко поддаются обработке (они распиливаются обычной ножовкой, легко гвоздятся);
✓ благодаря высокой геометрической точности для кладки необязательно (даже нежелательно) использовать цементно-песчаный раствор. Для этого выпускается специальный клей, который разводят согласно инструкции производителя. Толщина клеевого слоя настолько мала, что в стене практически отсутствуют мостики холода, а кладка получается такой качественной, что не нуждается в выравнивании штукатурными смесями (экономия на внутренней отделке);
✓ стена из газо– и пенобетонных блоков весит значительно меньше, чем кирпичная, что позволяет осуществлять строительство на слабых грунтах, закладывать облегченный фундамент, экономя средства на этом и на строительстве вообще.
Закономерно возникают вопросы: есть ли между газо– и пенобетоном разница и какому из них отдать предпочтение? Представленные материалы, близкие по морозостойкости и теплопроводности, отличаются такими признаками, как:
✓ прочность. При одинаковых показателях плотности прочностные качества газобетона выше;
✓ водопоглощение. По этому параметру пенобетон имеет несколько большую устойчивость, а стены из газобетона нуждаются в защите от воздействия влаги;
✓ себестоимость. Пенобетон обходится примерно на 20 – 25 % дешевле, чем газобетон, поскольку добавки, вводимые в последний, более дорогие;
✓ условия изготовления. Для производства газобетона требуется сложное оборудование, которое может быть применено только в заводских условиях. Пенобетон легко изготавливается прямо на стройке, поэтому его удобно заливать в качестве утеплителя при колодцевой кладке. Но в этом есть и отрицательный момент: пенобетон может подделываться, а газобетон – нет.
Отсюда вывод: выбор в пользу газо– или пенобетона определяется целью, с которой они применяются. Несущие стены лучше поднимать из газобетона, а при необходимости утепления в большей степени подойдет пенобетон, который не только более дешевый, но и более «теплый».
После того как охарактеризованы кирпич и ячеистый бетон, можно сравнить их между собой, чтобы выяснить, какому из них отдать предпочтение при строительстве дачи. Поскольку в основном пено– и газобетон похожи, для простоты сравним кирпич и, например, газобетон.
Начнем с размеров и количества материала, необходимого для возведения 1 м2 стены. Как уже было замечено, стандартный кирпич имеет параметры 250 × 120 × 65 мм, газобетонный блок – 600 × 200 × 200 мм, из чего следует, что на 1 м2 стены потребуются 380 кирпичей и 27 газобетонных блоков. Зная стоимость того и другого, а также работ, можно определить, что коробка (так называется совокупность фундамента, стен, перекрытия и крыши) из кирпича обойдется на 15 – 30 % дороже, чем из газобетона. Кроме того, кирпичная кладка займет примерно на 20 % больше времени, чем из ячеистого бетона, поскольку кирпич в 4 раза тяжелее, а газобетонный блок в 13 раз больше. Это означает, что в зависимости от размеров дома на него уйдут 4 – 6 месяцев, если строить его из кирпича, и 1 – 3 месяца – если из газобетона.
От массы стенового материала зависит тип фундамента, который придется закладывать. Кирпич по массе примерно в 20 раз превышает газобетон, следовательно, под кирпичную стену необходимо заложить более сложный и дорогой ленточный фундамент, под газобетонную можно обойтись и более простым и дешевым столбчатым.
Кирпич и газобетон отличаются и пределом прочности на сжатие, т. е. нагрузкой на 1 см2, которую выдерживает материал. Если предполагается строить двухэтажный садовый дом с междуэтажным перекрытием в виде железобетонной плиты, то для несущих стен лучше приобрести кирпич, который выдержит вес и стен, и перекрытия. В этом отношении газобетон уступает кирпичу и больше подходит для самонесущих и ненесущих стен и перегородок.
Конец ознакомительного фрагмента.
Текст предоставлен ООО «ЛитРес».
Прочитайте эту книгу целиком, купив полную легальную версию на ЛитРес.
Безопасно оплатить книгу можно банковской картой Visa, MasterCard, Maestro, со счета мобильного телефона, с платежного терминала, в салоне МТС или Связной, через PayPal, WebMoney, Яндекс.Деньги, QIWI Кошелек, бонусными картами или другим удобным Вам способом.
Вы ознакомились с фрагментом книги.
Для бесплатного чтения открыта только часть текста.
Приобретайте полный текст книги у нашего партнера:
Всего 10 форматов