

Константин Ефанов
Теория расчета толстостенных нефтяных аппаратов
Введение в расчеты
В настоящее время нефтяные аппараты делят на тонкостенные и толстостенные по критерию из теории тонких оболочек (типа Кирхгофа-Лява) отношения толщины стенки к диаметру, равному 0,1. В нормах тонкостенным сосудам соответствуют сосуды до 21 МПа (ранее до 16 МПа), толстостенным сосудам соответствуют аппараты высокого давления до 130 МПа. Аппараты высокого давления по нормам работают при давлении от вакуума до 130 МПа и перекрывают область рабочих давлений от вакуума до 21 МПа для тонкостенных аппаратов. Аппараты высокого давления могут использоваться и взамен аппаратов до 21МПа в интервале давлений от вакуума до 21МПа, являются более универсальными так как имеют широкий предел применения по давлениям. В ряде случаев возможно проектирование и поставка аппаратов, соответствующих нормам (стандартам) на давление до 130 МПа взамен аппаратов по нормам на давление до 21 МПа. В этом случае каких-либо противоречий или формального несоответствия нормативной документации, по-видимому, не должно быть.
Существует критерий деления оболочек на тонкие и толстые в зависимости от толщины стенки. Так оболочки до 50 мм считаются тонкими, от 50 до 100 мм (150 мм) считаются оболочками переходной толщины, свыше 100 мм считаются толстыми оболочками.
Критерий деления оболочек на тонкие и толстые по толщине является более примемлемым, чем критерий по нормам в 0,1 отношения толщины стенки к диаметру. По критерию 0,1 реактор гидрокрекинга с диаметром 4000…5000 мм и стенкой свыше 180 мм относится подпадает под нормы для сосудов и аппаратов до 21МПа, то есть условно под нормы для расчета тонкостенных сосудов. Это является некорректным по мнению автора настоящей работы.
В настоящее время расчеты по нормам являются устаревшим подходом. Расчеты выполняются точно методом конечных элементов в программных пакетах. Для тонкостенных оболочек до 50 мм могут быть применены плоские конечные элементы, для переходных и толстых оболочек применяют трехмерные пространственные конечные элементы. Вместе с тем и для тонких оболочек могут быть применены трехмерные конечные элементы. Плоские конечные элементы могут быть построены на теориях оболочек типа Кирхгофа-Лява или Тимошенко, трехмерные элементы строятся на теории упругости. В этом случае можно увидеть совпадение с нормами в применении теории оболочек для тонкостенных сосудов и теории упругости для толстостенных сосудов.
Аппараты высокого давления до 130 МПа рассчитываются по нормам по формулам теории упругости для задачи Ламе. Тонкостенные аппараты до 21 МПа по нормам рассчитываются по безмоментной теории тонких оболочек.
Критерий деления аппаратов на толстостенные и тонкостенные, равный 0,1, соответствуют точности теории оболочек типа Кирхгофа-Лява, свыше которого теория не должна применяться. На этом основании для сосудов высокого давления теория тонких оболочек и нормативная методика для аппаратов до 21 МПа не применяются. Существует теория оболочек типа Власова с увеличенной точностью по сравнению, но она не применяется для толстостенных аппаратов высокого давления.
Академик Новожилов В.В. [1,с.205] указывает о том, что теория оболочек воспринимается как «надстройка» над теорией упругости и получена из последней путем постулирования допущений и сведения задачи к двухмерной. Новожилов считал, что теорию оболочек необходимо рассматривать вместе с теорией упругости.
По мнению автора настоящей работы, теория тонких оболочек по сравнению с теорией упругости является технической теорией, менее обоснованной физически. Поэтому необходимо использовать для расчетов более точную и обоснованную теорию упругости. То есть нормы для сосудов высокого давления до 130МПа более обоснованы теоретически по сравнению с нормами для сосудов до 21МПа.
Теория упругости имеет трехмерную пространственную задачу и осесимметричную задачу. Эти две задачи могут применяться для расчета оболочек корпусов сосудов и аппаратов до 130МПа с учетом нюанса, состоящего в том, что трехмерная задача теории более обоснована по сравнению с осесимметричной задачей.
В трехмерной задаче теории упругости, корпус аппарата (оболочка) рассматривается как трехмерное твердое тело, к которому непосредственно приложены нагрузки.
Осесимметричная теория построена на симметричности геометрии оболочки вращений корпуса аппарата.
По мнению автора осесимметричная задача является содержит грубейшие ошибки в основании, состоящие в том, что по граням выделенного из стенки сегмента считается, что отсутствуют касательные напряжения [2].
Кроме того, при оценке прочности стенки оболочки, в осесимметричной теории упругости не ищутся главные напряжения. В формулу подставляются кольцевые и меридиональные напряжения. На основании того, что выделенный из стенки сегмент имеет симметрию, утверждается о том, что действующие на грани напряжения являются главными напряжениями.
Безухов утверждал [2,с.142], что так как меридиональная плоскость является плоскостью симметрии, то в меридиональной плоскости касательные напряжения отсутствуют и площадка на этой плоскости является главной площадкой.
Касательные напряжения присутствуют на меридиональных плоскостях и препятствуют вырыву элемента из стенки. Не принятие этого факта в расчетной модели, по которой выводятся все формулы осесимметричной теории является грубейшей некорректностью.

В теории упругости выделяется кубический элемент твердого тела и для него записываются условия равновесия и выполняется поиск главных площадок и главных напряжений [3], [4]. Тимошенко и Новожилов указывают о том, что для равновесия элемента необходимо, чтобы площади граней элемента были равны. Так как по граням действуют касательные напряжения, создающие моменты относительно осей, совпадающих с ребрами кубического элемента.
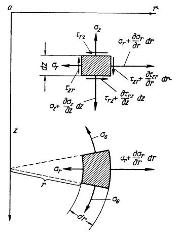
В осесимметричной задаче выделенный сегмент на виде в плане является трапецией с криволинейными основаниями, очерченными по сегментам окружности (радиусам).
Процитируем графику из работы Безухова сегмента в полярных координатах [2,с.143]:

Процитируем графику из работы Новожилова [3,с.75]:

Для ответа на поставленный вопрос о некорректности осесимметричной задачи теории упругости, необходимо в одной точке стенки оболочки совместить кубический и трапецеидальный сегменты, при этом в одних, например, прямоугольных координатах.
Важным является то, что элемент обеспечивает размерами условие сплошности. Это требует, чтобы размеры были намного больше размеров молекул, кристаллических структур и даже зерен (для стали), на уровне которых существует не сплошность.
Конец ознакомительного фрагмента.
Текст предоставлен ООО «Литрес».
Прочитайте эту книгу целиком, купив полную легальную версию на Литрес.
Безопасно оплатить книгу можно банковской картой Visa, MasterCard, Maestro, со счета мобильного телефона, с платежного терминала, в салоне МТС или Связной, через PayPal, WebMoney, Яндекс.Деньги, QIWI Кошелек, бонусными картами или другим удобным Вам способом.
Вы ознакомились с фрагментом книги.
Для бесплатного чтения открыта только часть текста.
Приобретайте полный текст книги у нашего партнера:
Всего 10 форматов