

Василий Михайлович Востриков
Строительные инструменты
Введение
Эта книга посвящена строительным инструментам. Ни для кого не секрет, что первые приспособления для возведения жилищ появились в глубокой древности, сразу же после создания орудий труда. Собственно, для древнего человека каменный топор служил и для охоты, и для защиты от хищников и недругов, и для того, чтобы нарубить веток и соорудить крышу над головой. К первым строительным инструментам, по данным археологов, относятся каменное рубило, изготовлявшееся из кремня, и топор.
До следующего шага в развитии строительных инструментов прошли века: сначала огонь прочно вошел в жизнь первобытных племен, затем были открыты металлы и разработаны технологии их плавления. В сущности, говорить о разработке технологий можно только условно, так как вся работа велась методом проб и ошибок. Уникальный опыт древних мастеров накапливался по крупицам, а его передача осуществлялась от учителя к ученику. В те времена даже умелые кузнецы и столяры, способные сделать топор, пилу или лопату, были уважаемыми людьми, не говоря о мастерах с большой буквы, чей авторитет был сравним с авторитетом племенных вождей.
Со временем люди все больше и больше учились ценить комфорт своих жилищ, начиная предъявлять повышенные требования к качеству строительства и, следовательно, к мастерству каменщиков и плотников, которое, в свою очередь, опиралось на умелое владение строительными инструментами. Потребовалось улучшить качество инструментов, а также создать новые, которые облегчили бы работу и позволили бы сделать ее более точной.
В XX веке стремительное развитие технологий затронуло и строительство. Множество трудоемких операций было механизировано, появились специальные приспособления и механизмы, избавляющие строителей от тяжелой работы. Большое количество инструментов получило электрический привод, а измерительные приборы стали более точными. В настоящее время простые строительные инструменты доведены практически до совершенства: целесообразность, прочность и функциональность сочетаются в них очень гармонично.
В этой книге описаны основные инструменты, которые требуются при строительстве и ремонте, а также множество видов работ, выполняемых с их помощью. И хотя современный человек не обязан быть специалистом в различных областях, но знать азы строительства и уметь грамотно пользоваться строительными инструментами он, безусловно, должен, чтобы не испытывать чувства беспомощности перед внезапно протекшей крышей, разбившимся стеклом или скрипучей половицей.
1. Измерительные инструменты
Без них невозможно представить выполнение даже самой простой как строительной, так и отделочной операции.
Рулетка
Данный вид измерительного инструмента – это лента из тонкой гибкой стали, заключенная в металлический или пластмассовый корпус. Сматывается лента автоматически при нажатии кнопки (фиксатора). Длина колеблется от 100 до 1000 см. Рулетки большой длины снабжены пластмассовой или стальной ручкой П-образной формы. Деления нанесены через каждый миллиметр. Цифрами отмечены сантиметры и десятки сантиметров. Рулетка используется для измерения прямолинейных величин.

Рис. 1. Контрольно-измерительные инструменты: а, б – виды рулеток; в – складной метр.
Складной метр
Применяется для измерения вертикальной и горизонтальной кладки.
Состоит из десяти отрезков, скрепленных между собой клепками, по 10 см каждый. Метр изготавливается из пластмассы, железа и древесины мягких пород. Для продления срока службы каждое сочленение смазывают машинным маслом.
Переносить складной метр следует в чехле или в специальном футляре. Не рекомендуется носить метр в кармане, так как острыми краями можно испортить одежду и пораниться.
Угольник
Очень прост и удобен в обращении. Но несмотря на простоту, он бывает нескольких видов, каждый из которых имеет особенности и отличия.
Угольник обыкновенный
Предпочтительно, чтобы длина сторон, образующих прямой угол, была не меньше 90–100 см.

Рис. 2. Контрольно-измерительные инструменты: а – деревянный угольник; б – металлический угольник.
Этот вид угольника можно смастерить и самому.
Изготавливается как из металла, так и дерева, но древесина под воздействием влаги разбухает, а при просушке пленки угольника могут деформироваться.
Ерунок
Представляет собой угольник из двух пластин, одна из которых закреплена на середине другой под углом 45°. Такой угольник удобен также при определении угла 135°.
Малка
Используется для перенесения углов без их точного поградусного уточнения. Такой инструмент состоит из двух деревянных пластин, закрепленных на шарнире.
Угольник-центроискатель
Такой угольник используется при поиске центра у деталей цилиндрической формы. Он состоит из линейки, закрепленной на середине основания равнобедренного треугольника. Угольник укладывается на цилиндрическую поверхность и затем постепенно передвигается к центру, при этом искомая величина является диаметром окружности.
Нутромер
Представляет собой некоторое подобие циркуля, концы которого вывернуты наружу. Такой прибор используется для измерения внутреннего диаметра различных деталей.
Циркуль
Используется для вырисовывания круглых деталей на заготовках, а также при быстром перенесении разметки.
Обычно он изготавливается из металла, но иногда можно встретить и деревянный. Циркуль известен человечеству уже более двух тысяч лет. Первые циркули были достаточно примитивны и состояли из двух ровных палок с заостренными концами, скрепленных между собой деревянным штырем.
В наше время вид циркуля значительно преобразился.
Штангенциркуль
Применяется для измерения величины деталей. Для этого сторона детали помещается между штангой и рамкой, верхний ус будет показывать размер измеряемого расстояния.

Рис. 3. Штангенциркуль.
Рейсмус
Используется для нанесения на поверхности параллельных стороне бруска линий. Сам рейсмус состоит из двух толстых планок, которые вставлены в большой брусок. На одной из сторон планок имеются острые шпильки – ими и производится разметка.
Скоба
Применяется для нанесения линий при ручной выборке древесины под гнезда и проушины. В основе устройства скобы лежит деревянный брусок, в котором с одной стороны на расстоянии 1/3 всей длины выбрана четверть. Затем на этой четверти на определенном расстоянии вбиваются гвозди, которыми наносится разметка в виде параллельных линий.
Строительный уровень
Применяется для проверки горизонтальных и вертикальных направлений. Он снабжен специальными устройствами в виде немного изогнутых трубок, сделанных из стекла. Внутри трубочек находится спирт. Две линии в самой высокой части трубки указывают вертикальное направление. Расположение пузырька воздуха между линиями второй трубки указывает горизонтальное направление. Длина уровня должна быть 40–80 см.
При покупке инструмента необходимо обращать внимание на то, чтобы он сохранял показания по всем направлениям.
Для этого надо повернуть уровень на 180°, перед этим расположив его на плоскости. После этого нужно внимательно посмотреть на пузырек воздуха: он должен остаться между двумя мерными линиями.

Рис. 4. Виды уровней: а – металлический; б, в – деревянные.
Хранить его, а также переносить следует только в специальном футляре и во время работы стараться не уронить. Уровень – вещь хрупкая и может очень быстро выйти из строя.
Гибкий уровень
Если нет возможности приобрести гибкий уровень промышленного образца, в этом случае его можно заменить гибкой трубкой (как в системе для внутреннего вливания). Она значительно удобнее заводской, так как представляет собой сплошное визирное (смотровое) окошко, и не нужно вымерять количество заливаемой в уровень воды. Длина трубки вычисляется следующим образом: длина облицовываемой поверхности умножается на 1,5.

Рис. 5. Гибкий уровень: а – общий вид; б – оформление оконечностей.
Отвес
Отвес служит для проверки вертикальности стен, столбов, простенков и правильности углов кладки.

Рис. 6. Виды отвесов.
Он состоит из шнура и цилиндрообразного грузила 15 мм в диаметре, весом 150–200 г. При использовании отвеса нужно проверить, как крепко шнур привязан к грузилу, и только если он прикреплен хорошо, стоит приступать к работе.
Применять отвес нужно следующим образом: подойдя к проверяемому углу на расстояние вытянутой руки, а затем согнув руку в локте, надо размотать отвес, держа конец шнура на уровне глаз. После того как произведены вышеуказанные действия, определяется, соответствует ли угол между полом и нитью отвеса углу между полом и тестируемым объектом.
Отвес хранят в сухом и прохладном месте рядом с другим строительным инвентарем. Но прежде чем положить его на хранение, нужно свернуть шнур так, чтобы он не запутался.
Отволока
Используется при отметке линий на краю заготовки. Представляет собой большой брусок со скосом на одном конце и выступом со вбитым гвоздем. Линии отмечаются на поверхности именно острым концом этого гвоздя.
Причальный шнур
Это крученый шнур толщиной 3 мм, который натягивают при кладке верст между порядовками и маяками. Им пользуются как ориентиром для обеспечения прямолинейности и горизонтальности рядов кладки, а также одинаковой толщины горизонтальных швов. С помощью шнура каменщик определяет, какое положение должен иметь каждый укладываемый кирпич в версте.
Устанавливают и переустанавливают шнур с помощью двойной скобы, которая удерживается на рейке порядовки напряжением шнура-причалки и в результате трения между скобой и порядовкой; шнур крепят к зачалочной части скобы.
Для хранения и переноски рекомендуется пользоваться сумкой в виде контейнера размером 350 х 260 х 100 мм.
Порядовка
Это специальное приспособление, состоящее из уголков, труб или реек с делениями, соответствующими толщине горизонтальных рядов кладки (77 мм для одинарного и 100 мм для утолщенного кирпича), предназначено для закрепления причального шнура и обеспечения четкости вертикальных и горизонтальных швов выкладываемых стен. Порядовки бывают металлические угловые, рассчитанные на один ярус кладки (до 1,8 м), с винтовыми зажимами, и деревянные промежуточные на один этаж (до 3 м), со скобами и клиньями.

Рис. 7. Инвентарная деревянная порядовка.
Используют порядовку следующим образом: к наружной поверхности стен их устанавливают так, чтобы стороны, на которых размечены ряды кладки, были обращены к каменщику. Порядовку крепят к кладке П-образными стальными держателями. Делают это таким образом.
В горизонтальные швы по ходу кладки через каждые 6–8 рядов по высоте вводят держатели-скобы, располагая их один над другим. Скобы должны войти в стену своими концами и поперечной планкой.
Уложив над вторым держателем один-два ряда кирпичей, в скобы вставляют порядовку и закрепляют деревянными клиньями.
Порядовку снимают, находясь на подмостках, вместе с держателями, не вынимая клиньев. Для этого ее осторожно раскачивают в плоскости, перпендикулярной к поверхности стены. Держатели, преодолевая сопротивление раствора, выходят из горизонтальных швов кладки, и порядовку поднимают вместе с ними.
2. Ручные инструменты
Ручные инструменты предназначены для выполнения работ с приложением собственной силы. Большинство из них с легкостью можно заменить механическими аналогами, которые приводятся в действие силой тока. Но даже несмотря на то, что уровень технологического развития достиг значительных высот, некоторые ручные инструменты до сих пор остаются незаменимыми.
Появился ручной инструмент 50 тысяч лет назад, когда первобытный человек только начал думать о том, как бы облегчить свое существование. И первое, о чем он подумал, было следующее: если взять в руку камень, то можно увеличить силу удара руки. Так возник первый, древнейший вид ударного инструмента.
Человек заметил, что при падении с высоты или при сильном ударе по камню он раскалывается с образованием камней другой формы, имеющих острые кромки. Из получившихся кусков был выбран тот, который лучше всех ложился в руку и имел удобно расположенную режущую кромку. Это было ручное рубило. Так возник второй вид инструмента – режущий.
Технология родилась именно в этом процессе. Применение рубила показало, что для успешной работы нужно искать достаточно твердые камни для его изготовления. Режущая кромка у мягких камней быстро затуплялась, что заставляло тратить время на изготовление другого рубила.
Материаловедение возникло из опыта сравнительной оценки различного вида камней для создания рубил с режущими кромками высокой стойкости и подборе соответствующего вида камня.
Опыт применения данного инструмента показал, что его режущие свойства обеспечиваются тем, что кромка имеет острую форму (клин). Открытие клина и его режущих свойств было одним из великих открытий первобытного человека. Оно стоит в одном ряду с открытием огня и умением добывать его.
Кирка
Применяется для разрыхления твердого грунта, раскерновки твердого балласта, грунта и льда. Однако также для этого используют киркомотыгу. Мотыга имеет сечение в оба конца, как молоток, а кирка сделана кривым заступом, «костылем» или с «клювом» в одну сторону.
Вес кирки – 3,4 кг. Изготавливается из стали марки Ст. 45. Ее рабочие концы закалены до твердости 35–40 Rс.
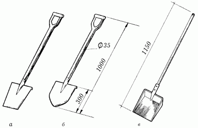
Лопата
При устройстве фундамента или выравнивании почвы перед началом строительства используются определенные виды лопат.

Рис. 8. Виды строительных лопат: а – лопата с прямой режущей частью; б – лопата с остроконечной нижней частью; в – растворная лопата.
Лопата с прямой режущей частью
Применяется во время работы, связанной со снятием мягкого грунта и выравниванием почвы. Рекомендуется выбирать ее с учетом собственных сил и возможностей. Самый оптимальный размер режущей части (ножа) – 30 х 28 см.
Лопата остроконечная
Незаменима, когда надо снять такой грунт, как гравий. Но советуем обратить внимание на то, что она не предназначена для выравнивания поверхностей.
Этот вид лопаты применяется при копании траншей под фундамент небольшого строения, например садового домика.
Подбирать лопату следует в соответствии со своим ростом, а работать – только в перчатках.
Заступ с остроконечной режущей частью
Используется для перемешивания и смягчения различных растворов, применяемых во время строительства.
Длина ножа составляет около 30 см, а ширина – 25 см. Оптимальный размер черенка должен быть чуть больше 1,35 см в диаметре. Черенок может быть изготовлен как из дерева, так и из пластика.
Делаем фундамент
Фундамент – это подземные несущие конструкции, предназначенные для передачи и распределения нагрузки от здания на грунт.
Верхнюю плоскость фундамента, на которую опираются стены, колонны, лестничные клетки и другие элементы здания, называют обрезом, а плоскость, благодаря которой фундамент опирается на грунт, – подошвой фундамента. Расстояние от подошвы до обреза фундамента называется высотой фундамента. Иногда стены фундамента образуют подвал здания. К фундаментам предъявляют определенные требования: прочность, стойкость к воздействию воды и холода, простота изготовления, экономичность.

Рис. 9. Фундаменты, сделанные из различных материалов: а – бутовый; б – бутобетонный; в – кирпичный с бутобетоном; г – кирпичный; д – кирпичный с бутом; е – бутовый на песчаной подушке.
По конструкции фундаменты бывают:
– ленточные – под стены или ряд столбов;
– столбчатые – под стены и отдельные колонны;
– сплошные – в виде железобетонной плиты под все здания;
– свайные – состоящие из отдельных свай, объединенных вверху бетонной или железобетонной плитой-ростверком, под здания повышенной этажности при слабом грунте.
В качестве материала применяют преимущественно бетон или железобетон, бутовый камень, бутобетон.
Фундаменты обычно делают ступенчатыми. Подошва фундамента наружных стен в связанных грунтах, например в глине, должна располагаться не выше уровня промерзания, а в песчаных грунтах она может быть расположена и выше уровня, но не меньше чем на глубине 1 м от поверхности земли. Глубина закладки фундамента под внутренние стены отапливаемых зданий не зависит от глубины промерзания грунта, но не может быть менее 30 см.
Инструменты, используемые при строительстве и штукатурных работах

Рис. 10. Инструменты для кладки кирпича и оштукатуривания: а, б – мастерок штукатурный; в – мастерок строительный; г, д – расшивки; е – сокол для густого раствора; ж, з – сокол для жидкого раствора; и – кельма; к – молоток-кирочка.
Кельма
Кельма (или мастерок) предназначена для выполнения работ, связанных с бетоном или другими строительными растворами. Используется для заглаживания поверхностей (например, пола) и возведения каменной кладки.
Данный инструмент состоит из двух частей: деревянной ручки и изогнутой лопатки, сделанной из железа. Лопатка должна быть ровной, гладкой. Это позволит более качественно выровнять нужную поверхность. Общая длина составляет около 20 см. Размер рукояти – 8 см, лопатки – 10 см. Общий вес – 300–400 г. Но не обязательно придерживаться строго этих рамок, параметры мастерка можно подбирать индивидуально.
Кирпичная кладка кельмой вприжим выполняется следующим образом: держа в правой руке кельму, разравнивают ею растворную постель, затем ребром кельмы подгребают часть раствора и прижимают к вертикальной грани ранее уложенного кирпича, а левой рукой доносят кирпич к месту укладки. После этого укладывают кирпич на заранее подготовленную постель и, пододвигая его левой рукой к уже уложенному кирпичу, прижимают к полотну кельмы. Движением вверх правой руки вынимают кельму, а кирпичом, придвигаемым левой рукой, зажимают раствор между вертикальными гранями укладываемого и ранее уложенного кирпичей.
Нажимом руки осаживают уложенный кирпич на растворной постели. Избыток раствора, выжатый из шва на лицевую часть кладки, подрезают кельмой за один прием после укладки тычками каждых 3–5 кирпичей или после укладки ложками двух.
Для выполнения штукатурных работ кельмой поступают следующим образом: забор раствора производят правым ребром или концом мастерка, продвигая его к середине. В зависимости от условий работы набрасывание осуществляется слева направо и наоборот. В процессе набрасывания раствора участвует только кисть, а не вся рука. Не стоит также делать слишком сильный замах, чтобы раствор не разбрызгивался. Набрасывание раствора кельмой обеспечит лучшее сцепление с оштукатуриваемой поверхностью.
Расшивка
Для придания наружной поверхности кладки четкого рисунка и уплотнения раствора в швах их расшивают.
В этом случае кладку ведут с подрезкой раствора, а швам придают различную форму – прямоугольную заглубленную, с выпуклостью наружу или вогнутую вовнутрь, треугольную двухсрезную, применяя для этого расшивки с рабочей частью различных очертаний.
Расшивки вогнутой формы используют для получения выпуклых швов, а круглого сечения – для вогнутых швов. Швы расшивают до того, как схватится раствор, потому что в этом случае процесс становится менее трудоемким, а качество швов – значительно лучше.
Перед началом работы расшивкой поверхность кладки необходимо протереть ветошью или щеткой, чтобы избавиться от кусочков раствора. Затем расшивают вертикальные швы, после чего – горизонтальные.
Расшивка состоит из двух частей: деревянной ручки 7 см и изогнутой пластины 10 см.
Пользоваться расшивкой нужно следующим образом: расшивка, смоченная водой, передвигается без применения силы по шву между кладкой. После каждого проведения по швам ее необходимо очищать от налипшего раствора.
Молоток-кирочка
Применяется для рубки целого кирпича на половинки, четвертинки и т. п., а также для обтесывания кирпича.
Швабровка
Предназначена для очистки вентиляционных каналов от выступившего из швов раствора, а также для более полного заполнения швов раствором и заглаживания их.
На стальной ручке швабровки внизу закреплена между фланцами резиновая пластина размером 140 х 140 х 10 мм, с помощью которой и осуществляется процесс зачистки и заглаживания.
Правило
Конец ознакомительного фрагмента.
Текст предоставлен ООО «ЛитРес».
Прочитайте эту книгу целиком, купив полную легальную версию на ЛитРес.
Безопасно оплатить книгу можно банковской картой Visa, MasterCard, Maestro, со счета мобильного телефона, с платежного терминала, в салоне МТС или Связной, через PayPal, WebMoney, Яндекс.Деньги, QIWI Кошелек, бонусными картами или другим удобным Вам способом.
Вы ознакомились с фрагментом книги.
Для бесплатного чтения открыта только часть текста.
Приобретайте полный текст книги у нашего партнера:
Всего 10 форматов