

Галина Алексеевна Серикова
Работы с полами. Паркет, плитка, ламинат, линолеум
Предисловие
Полы необходимо рассматривать в качестве одной из важных составляющих интерьера дома или квартиры наряду со стенами, потолком и др. Чтобы все помещение производило благоприятное впечатление, они должны быть идеальными, поскольку даже безупречные стены, потолок и дорогая обстановка не смогут компенсировать дефекты на полу. Более того, полы можно назвать основой, фундаментом, потому что мы их активно эксплуатируем – постоянно ходим по ним, передвигаем мебель. В связи с этим напольное покрытие должно быть приятным глазу, долговечным и износоустойчивым.
Качественное напольное покрытие способствует поддержанию в помещении соответствующего санитарно-гигиенического состояния и обеспечивает тепловой комфорт. Поэтому важно грамотно подойти не только к вопросу выбора материала, но и к устройству всей конструкции.
Современная строительная индустрия предлагает настолько широкий ассортимент разнообразных материалов (в том числе и для пола), что, не обладая нужными знаниями и руководствуясь чисто эмоциональными критериями, можно не только не получить требуемого результата, но и неэффективно потратить деньги и время. Согласитесь, что это весомый аргумент, чтобы дочитать эту книгу до конца, поскольку мы ставим перед собой задачу не просто перечислить разновидности напольного покрытия (причем далеко не все), но и научить вас принимать правильные конструктивные решения.
Глава 1.
Основание пола – это начало
Даже если вы приобретете высококачественный материал, подберете рисунок и уложите напольное покрытие, оно не прослужит долго, если вы нарушили технологию укладки. Основная причина недолговечности напольного покрытия – неправильно выполненное основание, хотя роль плохого ухода за покрытием тоже нельзя сбрасывать со счетов. Так же как и любое другое дело, процесс укладки напольного покрытия имеет свои правила, особенности и нюансы, без соблюдения которых можно забыть о таких понятиях, как долговечность, устойчивость к истиранию, декоративность и др. Поэтому, прежде чем характеризовать разновидности напольных покрытий, нужно рассмотреть ряд вопросов, связанных с тем, как устроены полы и с чего начинается процесс укладки паркета, линолеума, плитки или ламината.
Конструкции пола
Мы привыкли называть полом ту поверхность, которую визуально воспринимаем. На самом деле это только лицевая отделка, которая представляет собой лишь часть (пусть даже и не менее важную) конструкции, которая обязательно должна быть заложена под напольное покрытие. Поскольку полы испытывают значительное воздействие от перемещения как людей, так и грузов, оборудования, то их следует рассматривать в качестве одного из важных элементов здания, к которому предъявляют целый ряд требований – конструктивных, эксплуатационных, гигиенических, эстетических и декоративных.
Поскольку такой конструктивный элемент здания, как полы, очень важен ему посвящены различные нормативные документы, в частности СНиПы 2.03.13-88. «Полы», 3.02.01-87 «Земляные сооружения, основания и фундаменты», 3.04.01-87 «Изоляционные и отделочные покрытия», 12-03-2001 «Безопасность труда в строительстве. Часть 1. Общие положения», 12-04-2002 «Безопасность труда в строительстве. Часть 2. Строительное производство», ГОСТы 4.212-80 «СПКП. Строительство. Бетоны. Номенклатура показателей», 4.233-86 «СПКП. Строительство. Растворы строительные. Номенклатура показателей» и т. д. Например, в СНиП 3.04.01-87 «Изоляционные и отделочные покрытия» говорится следующее:
«4. Устройство полов. Общие положения 4.1. До начала работ по устройству полов должны быть выполнены в соответствии с проектом мероприятия по стабилизации, предотвращению пучения и искусственному закреплению грунтов, понижению грунтовых вод, а также примыкания к деформационным швам, каналам, приямкам, сточным лоткам, трапам и т. д. Элементы окаймления покрытия необходимо выполнить до его устройства.
4.2. Грунтовое основание под полы должно быть уплотнено в соответствии со СНиП 3.02.01-87 «Земляные сооружения, основания и фундаменты».
Растительный грунт, ил, торф, а также насыпные грунты с примесью строительного мусора под грунтовое основание не допускаются.
4.3. Устройство полов допускается при температуре воздуха в помещении, измеряемой в холодное время года около дверных и оконных проемов на высоте 0,5 м от уровня пола, а уложенных элементов пола и укладываемых материалов – не ниже, °С:
15 – при устройстве покрытий из полимерных материалов; такая температура должна поддерживаться в течение суток после окончания работ;
10 – при устройстве элементов пола из ксилолита и из смесей, в состав которых входит жидкое стекло; такая температура должна поддерживаться до приобретения уложенным материалом прочности не менее 70% от проектной;
5 – при устройстве элементов пола с применением битумных мастик и их смесей, в состав которых входит цемент; такая температура должна поддерживаться до приобретения материалом прочности не менее 50% от проектной;
0 – при устройстве элементов пола из грунта, гравия, шлаков, щебня и из штучных материалов без приклейки к нижележащему слою или по песку.
4.4. Перед устройством полов, в конструкции которых заложены изделия и материалы на основе древесины или ее отходов, синтетических смол и волокон, ксилолитовых покрытий, в помещении должны быть выполнены штукатурные и др. работы, связанные с возможностью увлажнения покрытий. При устройстве этих полов и в последующий период до сдачи объекта в эксплуатацию относительная влажность воздуха в помещении не должна превышать 60%. Сквозняки в помещении не допускаются.
4.5. Полы, стойкие к агрессивным средам, должны выполняться в соответствии с требованиями СНиП 3.04.03-85.
4.6. Работы по устройству асфальтобетонных, шлаковых и щебеночных полов следует производить в соответствии со СНиП 3.06.03-85 (разд. 7).
4.7. Требования к материалам и смесям для специальных видов полов (жаростойких, радиационностойких, безыскровых и др.) должны быть указаны в проекте.
4.8. Подстилающие слои, стяжки, соединительные прослойки (для керамических, бетонных, мозаичных и др. плиток) и монолитные покрытия на цементном вяжущем должны в течение 7-10 дней после укладки находиться под слоем постоянно влажного водоудерживающего материала.
4.9. Нормативная эксплуатация полов ксилолитовых, из цементного или кислотостойкого бетона или раствора, а также из штучных материалов, уложенных на прослойках из цементно-песчаного или кислотостойкого (на жидком стекле) раствора, допускается после приобретения бетоном или раствором проектной прочности на сжатие. Пешеходное движение по этим полам может быть допущено не ранее приобретения бетоном монолитных покрытий прочности на сжатие, равной 5 МПа, а раствором прослойки под штучными материалами – 2,5 МПа».
Полы должны быть:
1) прочными, то есть эффективно сопротивляться истиранию, ударам и пр.;
2) нетеплопроводными (обладать незначительным теплоусвоением);
3) максимально изолированными от ударного и воздушного шума;
4) нескользкими, но при этом гладкими;
5) эстетичными;
6) легкими в эксплуатации;
7) функционально соответствующими помещению;
8) влагонепроницаемыми во влажных помещениях;
9) негорючими;
10) экономичными в устройстве.
В отличие от потолков и стен, которым достаточно косметического ремонта раз в 5-10 лет, напольное покрытие надо или чаще обновлять, или выбирать надежные, прочные и долговечные (и поэтому дорогие) материалы.
Конструкция пола является многослойной и включает в свой состав следующие элементы:
1) основание, которым может быть междуэтажное перекрытие или грунт;
2) покрытие, представляющее собой верхнюю часть пола и подвергающееся наибольшей эксплуатации (его еще называют чистым полом);
3) прослойка в качестве промежуточного слоя, который связывает покрытие с лежащими ниже составляющими пола или перекрытия;
4) стяжка, которая выравнивает поверхность основания и придает ему определенную жесткость. Ее толщина составляет 15-50 мм;
5) лаги, которые служат несущим элементом пола. Это значит, что они с помощью столбиков (они относятся к вспомогательным элементам), на которые они уложены, передают нагрузку на грунтовое основание или междуэтажное перекрытие;
6) подстилающий слой, основной функцией которого является распределение нагрузки на грунт;
7) гидро-, тепло– и звукоизоляционные слои в виде плит, сыпучих материалов, обмазок, обклеек и пр.
Различные конструкции пола представлены на рис. 1, 2.
Лицевое покрытие и стяжка могут лежать на упругой звукопоглощающей прослойке (промежуточном слое). В этом случае он называется «плавающим». Если основание под покрытие (стяжка) представляет собой материал с низким теплоусвоением, то такой пол называется теплым.

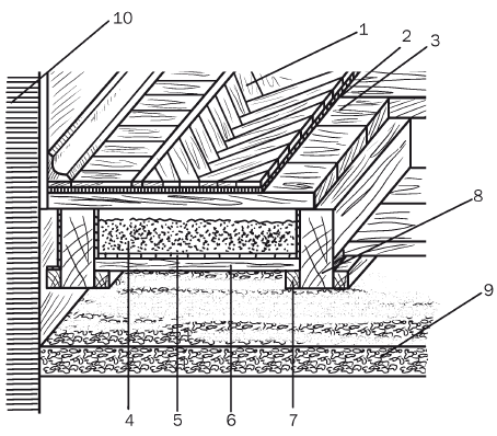
Рис. 1. Конструкция пола (вариант 1): 1 – чистый пол; 2 – черный пол; 3 – лага; 4 – асептированная прокладка; 5 – рубероид; 6 – столбик; 7 – щебень

Рис. 2. Конструкция пола (вариант 2): 1 – чистый пол; 2 – слой пароизоляции; 3 – черный пол; 4 – слой теплоизоляции (засыпка); 5 – слой картона на обмазке; 6 – накат; 7 – черепной брусок; 8 – балка; 9 – щебень; 10 – стена
Кроме того, в его основании (в последнее время это очень востребовано) могут укладываться трубы с теплоносителем или кабель для обогрева. В этом случае пол называется активным теплым. В бытовом использовании название пола совпадает с материалом покрытия, которое может быть выполнено из:
1) штучных материалов:
а) паркета;
б) линолеумных плиток;
в) пластмассовых плиток;
г) плиток из пробки;
2) рулонных материалов:
а) линолеума;
б) ковролина;
в) пробкового покрытия;
3) плиточных материалов минерального происхождения:
а) мозаичной плитки;
б) керамической плитки;
в) плитки из натурального камня.
Кроме того, существуют и монолитные полы, к которым относятся наливные (мастичные), мозаичные (терраццовые), асфальтовые и ксилолитовые.
Из всего разнообразия материалов мы остановимся только на паркете, линолеуме, плитке и ламинате. Но предварительно поговорим о том, каким должно быть основание под напольное покрытие.
Основание под напольное покрытие
Независимо от избранного материала напольного покрытия оно должно быть уложено на ровное основание, поскольку наличие дефектов в виде углублений, выпуклостей или уклона испортит внешний вид пола и сократит срок его службы. Технология и материал для основания выбираются в соответствии с напольным покрытием. Например, если основание представляет собой бетонное перекрытие, то его выравнивают так называемым мокрым способом, то есть поверх него выполняют стяжку из цементного или особого выравнивающего растворов. Это, наверное, самая трудоемкая технология. Но, поскольку она все-таки используется, необходимо остановиться на ней более подробно.
Традиционно плиты, представляющие собой основание для пола в многоэтажных домах, гладкими бывают только с одной стороны, а именно с той, которая станет потолком в нижележащей квартире. Сторона, которая будет полом в квартире этажом выше, нередко имеет перепады до 10 см, покрыта углублениями и выпуклостями, случается, что из нее торчит арматура. Если речь идет об индивидуальном строительстве, то ниже уровня пола находится грунт, поверхность которого изолирована различными способами, или же это черный пол, который может быть выполнен из той же бетонной плиты перекрытия. В целом картина очень грустная и требующая обязательного исправления, поскольку даже неискушенному человеку понятно, что ни о каком качественном напольном покрытии такого основания можно не говорить. Решение проблемы – стяжка, основное предназначение которой как раз и состоит в том, что максимально выровнять поверхность. Но ее нельзя уложить непосредственно на бетонную плиту, которую практически невозможно сделать идеально чистой. Поэтому после приведения в порядок (насколько это возможно) ее покрывают вяжущим веществом – грунтовкой, благодаря которой повышается адгезия между поверхностью плиты и стяжкой. Это необходимо для любого напольного покрытия, но для плитки это особенно важно. Если стяжка, которой покрыта поверхность плиты, плохо схватится с ней, после того как будет уложена плитка, при ходьбе по ней сначала будет слышен своеобразный звук, потом пол утратит ровность, в конце концов, плитка просто выпадет. Все сказанное относится к бетонным плитам в только что построенных домах.
В тех домах, где предстоит сменить напольное покрытие и стяжка уже есть, необходимо тщательно ее проинспектировать. Если старая стяжка покрылась трещинами, их расшивают и заливают цементным раствором, после чего выравнивают и грунтуют. В результате на поверхности образуется пленка, которая не позволит влаге из новой стяжки проникать в старую или в бетонные плиты.
Стяжка может быть сплошной и сборной.
Сплошная стяжка применяется чаще всего. Материалом для нее служат цементно-песчаный раствор, керамзито– и шлакобетоны, растворы на магнезиальном (ксилолитовые) и битумном связующем. Сплошные стяжки отличаются тем, что до укладки напольного покрытия должно пройти определенное время, чтобы из него испарилась влага, что, естественно, удлиняет сроки проведения работ. Нарушение данного требования ухудшает качество основания.
Работа по устройству стяжки осуществляется следующим образом:
1. В первую очередь укладываются прямые маячные рейки (рис. 3) толщиной 15-20 мм, а их длина должна совпадать с длиной помещения.
Первую маячную рейку устанавливают вплотную к стене, а вторую – посередине (в больших комнатах расстояние между маяками равно 500 мм), после чего проверяют их горизонтальность правилом, на котором укреплен строительный уровень. Его перемещают по рейкам-маякам и контролируют зазор между основанием и рейкой, который и будет составлять толщину стяжки. Обычно он составляет 2-10 мм.

Рис. 3. Установка маяков: 1 – маячные рейки; 2 – правило; 3 – строительный уровень; 4 – плита перекрытия; 5 – зазор; 6 – распорки
Специально сделанные вырезы на торцах правила как раз и соответствуют толщине стяжки.
Вместо реек можно использовать металлические трубы (дюймовые или полудюймовые). Профессионалы используют металлические 6– или 9-миллиметровые профили, специально предназначенные для выравнивания стяжки.
2. Чтобы маячные рейки были прочно прикреплены, используют распорки.
3. Раствор для стяжки должен иметь такую консистенцию, чтобы сохранять приданную ему руками форму.
4. Стяжка ляжет хорошо, если плиту перекрытия предварительно увлажнить и покрыть жидким цементным тестом.
5. Уложенную стяжку выравнивают правилом, не допуская образования пустот или раковин. Сначала выполняют стяжку на одной половине комнаты, потом – на другой.
6. Чтобы маячные рейки легко демонтировались и не схватились со стяжкой, их оборачивают полиэтиленовой пленкой. Образовавшиеся после удаления маяков канавки аккуратно заполняют раствором и выравнивают.
7. Стяжка требует определенного ухода в течение 23 дней, для чего ее периодически увлажняют. Можно накрыть ее полиэтиленовой пленкой, под которой возникнет парниковый эффект. В результате этого влага из стяжки будет испаряться, конденсироваться на пленке и снова выпадать на поверхность, увлажняя ее. В таких условиях стяжка равномерно, без трещин высохнет. Как определить, высохла ли она? Специалист сможет легко это сделать, а как быть начинающему мастеру? Можно поступить так: вырезать кусок полиэтиленовой пленки (примерно 1 м2), накрыть ею участок стяжки, прижав края грузом. Спустя сутки посмотреть, скопились ли на ее поверхности капли воды. Если влага есть, значит, стяжка еще не просохла и продолжить работу (настилать фанеру, ДВП, ДСП) еще рано.
Когда стяжка просохнет (на это может уйти не менее 2-3 недель или более в зависимости от ее толщины), ее гидроизолируют и покрывают слоем влагостойкой фанеры толщиной 12 мм, что особенно необходимо при использовании паркета. Фанеру нельзя отнести к дешевым материалам, поэтому вместо нее можно уложить обычные доски, очистить их от мусора, отциклевать, зашпатлевать и выровнять, после чего на них можно с легкостью настелить линолеум, ковролин и пр.
По аналогии с евроремонтом и евродизайном можно говорить о евростяжке, поскольку по технологиям, прочно утвердившимся в Европе, для этого применяют самовыравнивающиеся смеси, называемые наливным полом. Это специальные сухие смеси, которые, будучи затворенными водой, превращаются в подвижную массу, растекающуюся по поверхности под собственным весом. Толщина слоя, в зависимости от способа нанесения (вручную или перекачиванием), варьируется от 4 до 20 мм. Смесь настолько быстро высыхает, что через 30-60 минут по ней уже можно ходить.
Прежде чем воспользоваться этим методом, на плиту перекрытия кладут шумо– и теплоизоляционные материалы (пенополистирол, который также называют пенопластом) и гидроизолируют полимерной пленкой. Благодаря такой подоснове и при условии соблюдения технологии настилки фанера не потребуется (если только речь не идет о штучном паркете), и прямо на наливной пол можно укладывать ламинат, линолеум и пр. Немаловажным достоинством такой технологии является то, что выравнивающий слой имеет толщину от 25 мм, что существенно для помещений с низкими потолками.
Возможен и комбинированный вариант, который состоит в том, что по выполненной обычным способом цементной стяжке устраивают наливной пол. Двойная стяжка покрывается слоями гидроизоляции из каучуковой или битумной мастики, а затем – листы фанеры, на них настилают напольное покрытие (ламинат, линолеум) или кладут паркет (под плитку фанеру не кладут). Бесспорно, это достаточно дорого, но эксплуатационные характеристики такого основания настолько высоки, что окупят все расходы (вам не придется в ближайшие годы вспоминать о ремонте).
Сборные стяжки выполняют из крупноразмерных листов и плит, к которым относятся фанера, ДСП, ДВП, гипсоволокнистые листы. Это так называемый сухой настил, который можно рассматривать в качестве альтернативы «мокрому способу». Основным преимуществом такой стяжки является то, что вместо грязных работ осуществляют монтаж, за которым сразу же может следовать укладка напольного покрытия. Основание из ДВП (М-12, М-20, ПТ-100, СТ-500 и др.) и ДСП относится к лучшим, но довольно дорогим вариантам. Если есть возможность, то такое основание монтируют двухслойным, например первый слой из М-12, а верхний – из СТ-500. К бетонному перекрытию листы прикрепляют шурупами, предварительно просверлив отверстия победитовым сверлом (эту же работу можно выполнить с помощью строительного пистолета), или сажают на клей. Места соединения плит покрывают шпатлевкой или клеем.
Не менее удачным считается основание из фанеры. Для этой цели используют облицованную, ребристую, бакелизированную и другие виды фанеры.
В качестве основания под любое напольное покрытие (паркет, ламинат, линолеум и пр.) неплохо себя зарекомендовали гипсоволокнистые листы (ГВЛ), которые укладываются как на железобетонное, так и на деревянное основание. Для этого применяют листы толщиной 10-12 мм и размером 150 x 100 см, укладывая их в 2 слоя на выравнивающую засыпку (например, керамзит) слоем 20-30 мм, которую насыпают на полиэтиленовую пленку толщиной, как минимум, 0,2 мм.
Плиты монтируют в следующей последовательности:
1. По периметру стен прокладывают кромочную ленту, толщина которой составляет 1 см. Она предназначена для компенсации деформаций в конструкции и препятствует распространению звука. Потом ее подрезают, чтобы сравнять ее уровень с поверхностью нового основания.
2. Расстилают полиэтиленовую пленку (стыки делают внахлест), которую засыпают керамзитом (фракция – 5 мм), выставляют направляющие, выравнивают их по строительному уровню.
3. Керамзит выравнивают правилом, перемещая его по направляющим, и уплотняют, обращая особое внимание на участки в углах, у дверного проема, вдоль стен.
4. Плиты начинают размещать от ближайшего к двери угла, чтобы не разрушить засыпку. Подгонку осуществляют в последнем ряду, благодаря чему выполняется разбежка стыков (не менее 25 см).
5. Первый слой смазывают мастикой или клеем ПВА и укладывают следующий слой плит, перемещаясь к двери.
6. Чтобы плиты образовали единую конструкцию, их скрепляют шурупами для ГВЛ с шагом в 30 см, утапливая головки крепежа, которые потом зашпатлевывают. Выступивший клей сразу же вытирают.
7. Поверхность грунтуют, причем грунтовку подбирают такую, которая будет совместима с клеящим составом, на который будет уложено напольное покрытие.
8. В качестве утеплителя под плиты ГВЛ кладут пено-полистирол (листы размещают на засыпке либо полиэтиленовой пленке).
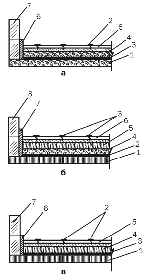
Различные конструкции основания из ГВЛ показаны на рис. 4.
Помимо того что основание может быть неподвижным, существуют конструкции регулируемого основания для пола. Рассмотрим некоторые из них.
Конструкция по лагам (технология была разработана в Швеции) устраивается под паркетные покрытия. Лаги могут быть как деревянными (влажность – не более 12%), так и пластмассовыми и иметь сечение 34 x 45, 45 x 45, 70 x 45 или 120 x 45 мм, но независимо от этого они имеют сквозные отверстия с нарезанной резьбой. Какие бруски-лаги выбрать, зависит от того, какой перепад необходимо нивелировать или от того, на какую высоту должен быть поднят пол. Расстояние между ними в собранном виде составляет 40-50 см. В качестве крепежа используют пластиковые болты длиной 100 и 150 мм.

Рис. 4. Варианты конструкций основания из ГВЛ: а – на засыпке из керамзита: 1, 4 – сухая засыпка; 2 – шуруп для ГВЛ; 3 – полиэтилен; 5 – гипсоволокнистые листы с клеевой прослойкой; 6 – кромочная лента; 7 – стена; б – на пенополистирольных листах: 1 – несущее основание; 2 – полиэтилен; 3 – шуруп для ГВЛ; 4 – сухая засыпка; 5 – пенополистирол; 6 – гипсоволокнистые листы с клеевой прослойкой; 7 – кромочная лента; 8 – стена; в – на пенополистирольных листах, уложенных поверх керамзита: 1 – несущее основание; 2 – шуруп для ГВЛ; 3 – полиэтилен; 4 – пенополистирол; 5 – гипсоволокнистые листы с клеевой прослойкой; 6 – кромочная лента; 7 – стена
В отверстия в лагах вкручиваются пластиковые болты, которые будут играть роль стоек под лаги и регулирующих элементов, поскольку с помощью специального ключа их можно поднимать и опускать (рис. 5).
Благодаря такому несложному действию достигается выравнивание пола. Кроме того, образующееся пространство между лагами и основанием позволяет осуществлять вентиляцию, что положительно скажется на долговечности покрытия. Между лагами на особые скобы-опоры укладывают изоляционные маты. Завершив установку, излишек болтов срезают, после чего на лаги саморезами прикрепляют десятимиллиметровую фанеру, слой которой послужит непосредственным основанием под напольное покрытие.

Рис. 5. Конструкция регулирующегося основания: 1 – болты; 2 – лаги; 3 – рейка-шаблон
Представленная конструкция имеет ряд неоспоримых достоинств, среди которых:
1) экономичность;
2) сокращение временных затрат (конструкция в 50 м2 монтируется за 1 день);
3) улучшение звуко– и теплоизоляции;
4) возможность скрыть коммуникации;
5) длительность эксплуатации (как минимум, 50 лет);
6) выравнивание до необходимого уровня в промежутке между 25 и 190 мм;
7) прочность и способность выдерживать нагрузки 3-5 т на 1 м2;
8) увеличение срока службы напольного покрытия благодаря вентиляции пола.
Если ваше помещение довольно низкое, описанная конструкция вряд ли вам подойдет, поскольку не исключено, что потолок станет еще ниже. Мы рекомендуем воспользоваться другой, более эффективной в данном случае конструкцией – по регулируемой фанере. Поскольку в ней отсутствуют лаги, пол приподнимется всего лишь на 2,5 см (именно такова толщина 2 листов фанеры по 12 мм). Функции лаг возьмут на себя пластиковые втулки с внутренней резьбой, которые вкручивают в просверленные в фанере отверстия. А затем уже в них вкручиваются пластиковые болты-стойки. Фанеру укладывают на основание и через болты-стойки жестко фиксируют к основанию дюбель-гвоздями. Как и в первом случае, выровнять конструкцию помогают ключи, которыми вращают болты. Проверив горизонтальность полученного основания, вразбежку укладывают второй слой фанеры и соединяют их саморезами.