
Финская баня
Наиболее широкое распространение в Западной Европе и Америке получили финские бани – сауны, отличие которых от русской бани состоит лишь в том, что финские бани обогреваются сухим паром (он легче переносится), температура в парильне доходит до 100° С при влажности 10–30%, при этом в них не пользуются веником. Иногда температура достигает 140–160° С. Париться при такой высокой температуре могут лишь люди, полностью уверенные в своем здоровье.
Если же по завершении процедуры все же используется веник, температура в помещении обязательно понижается, т. к. при стегании веником повышается влажность воздуха, что может привести к ожогам. Охлаждение осуществляется на воздухе или в воде.
Обычно финская баня представляет собой небольшой домик на берегу реки или озера, обращенный к водоему своей верандой. Внутри расположены парилка и душ.
В Финляндии можно встретить бани различных размеров: от мини-саун до банных дворцов. Мини-сауны представляют собой маленькие помещения, рассчитанные на одного-двух сидящих, они быстро прогреваются и долго держат необходимую температуру. Такие сауны обычно устанавливают в ванной комнате квартиры. Даже несмотря на небольшие размеры, в финской бане обязательно имеется полок. Расстояние от полка до потолка должно быть не менее 1–1,2 м при общей высоте сауны 2,1 м.
При отапливании сауны используют электропечь или печку-каменку. Электропечь расположить лучше в углу ближе к двери, а каменку, огражденную перилами, так, чтобы длина дымовой трубы была минимальной.
Для финской сауны характерно сочетание горячего и сухого жара с холодной водой реки или озера. Если не было возможности построить баню на берегу естественного водоема, выкапывали искусственный.
Следует учитывать, что недостатком сауны является то, что она пересушивает верхние дыхательные пути: появляется першение в горле, сухость кожи и слизистых оболочек.
Римская баня
В отличие от влажной русской римская баня обогревается сухим горячим воздухом, при этом температура в тепидарии (теплом помещении) сохраняется на уровне 45° С, в кальдарии (лаконикуме) – 70° С. Горячий воздух поступает через отверстия в стенах и подводится к полу. Тепидарий и кальдарий оснащены деревянными лавками, которые находятся на различной высоте. Охлаждаются купающиеся в бассейнах с разной температурой воды (35 и 12° С).
Турецкая (арабская) баня
Турецкая баня аналогична римской. Температура воздуха в ней достигает 40–50° С, влажность можно отрегулировать путем нагрева воды в котлах. Для охлаждения переходят в специальные помещения: в одних можно облиться холодной водой, постепенно понижая ее температуру, в других просто отдохнуть при комнатной температуре.
По завершении процедуры, согласно обычаю, посетители бань не торопятся домой (не принято). Они отдыхают в специально предназначенных для этих целей комнатах, где можно выпить чая, выкурить кальян или сыграть несколько партий в нарды.
Ирландская баня
Этот вид бани, распространенный в Средней Европе, был придуман в 1856 году ирландским врачом. Перед тем как перейти в парную с температурой 50–55° С, моющийся грелся 30 минут в нежарком помещении. После пребывания в сухой парильне купающийся делал массаж, затем принимал душ или обливался холодной водой.
Японская баня
В Японии существует два основных типа бань: сэнто – общественная, фуро – традиционная семейная, или домашняя. Фуро представляет собой большую деревянную бочку с горячей водой, которую нагревают на печи до 50° С. Купающиеся погружаются по грудь в воду и садятся на расположенное внутри бочки сиденье. На голову надевают смоченную в холодной воде шапочку. Продолжительность такой процедуры составляет 5–15 минут. Затем делают массаж тела при помощи жесткой рукавицы. Обычно баню устраивают ежедневно или через день вечером перед ужином. После такой бани купающийся вытирается насухо, заворачивается в простыню или халат и отдыхает около 1 часа на кушетке. Желающие избавиться от лишнего веса закутываются в шерстяное одеяло для усиленного потоотделения. Далее – моцион по дорожкам парка. Принимать такую процедуру японцы начинают с 3–4 лет.
Японцы посещают и общественную баню – сэнто, что в переводе означает «дешевый кипяток», т. к. она доступна по цене каждому. В таких банях имеется бассейн с горячей водой, рассчитанный на 5–6 человек. Температура в нем достигает 50° С. Вода регулярно меняется. Прежде чем погрузиться в бассейн, моются в специально отгороженных помещениях, сидя на деревянных решетках на полу, при этом периодически намыливаясь и обливаясь водой. После банной процедуры посетитель переходит в специально предназначенную для отдыха комнату, обставленную цветами, аквариумами, мини-водопадами и т. п. Несмотря на дешевизну бани, сэнто блещет чистотой.
В последнее время японцами почитается еще и опилочная баня, для которой пригодны лишь мелкие кедровые опилки, смешанные в пропорции 4 : 1 со смесью 60 лекарственных и пряных трав, кореньев или рисовых отрубей. Парящийся погружается на 8–12 минут в деревянную бочку со слегка увлажненной смесью, нагретой до температуры 50° С. После принятия опилочной ванны ему делают энергичный массаж. Такая банная процедура оказывает омолаживающий эффект.
В Стране восходящего солнца считают, что фуро и сэнто снимают стресс, благотворно влияют на сердечно-сосудистую систему и деятельность почек, помогают при ревматизме, простудных заболеваниях, нарушении обмена веществ.
Как показывает статистика, в Японии самый высокий в мире показатель продолжительности жизни: 77 лет – у мужчин, 83 года – у женщин. Это объясняется образом жизни, который ведут японцы: сбалансированное питание, регулярное посещение бани и массаж.
Итак, различают несколько видов бань: русскую паровую с высокой влажностью, римскую и турецкую бани с горячим сухим паром при низкой влажности, финскую баню – сауну – с сухим горячим воздухом при невысокой влажности и водным охлаждением и японскую – фуро и сэнто.
Устройство современных бань претерпело некоторые изменения. Баня представлена несколькими отделениями: ожидальня-остывочная, раздевальная, моечная, или мыльня, парильня. Многие бани оборудованы душевыми кабинами и ванными комнатами, плавательными бассейнами, массажными и косметическими кабинетами, в них имеются также парикмахерская, солярий, бильярдная, бар. Можно считать, что современная баня – это насто-ящий центр красоты и здоровья.
Выбор места для строительства
Прежде чем приступить к строительству, необходимо определиться, какую вы хотите построить баню. Наиболее распространенные в России русская и финская бани могут топиться как по-белому, так и по-черному. Следует учесть, что преимуществом черной бани является ее своеобразный банный воздух, а также дешевизна, поскольку ее строительство потребует незначительных материальных затрат. Печка-каменка в черной бане выкладывается без трубы, поэтому на нее пойдет в два раза меньше кирпича, чем на печку с трубой для белой бани, а для того, чтобы ее натопить, необходимо небольшое количество дров.
Итак, если выбор сделан, вам нужно подумать над тем, где баню разместить, а для этого прислушайтесь к нашим советам.
Идеальным местом для строительства бани является берег какого-либо водоема: реки, озера или пруда. Но располагать ее у самой воды не стоит, т. к. всегда существует опасность ее затопления в период весеннего паводка. Поэтому закладывать баню лучше всего на расстоянии 15–30 м от воды, но так, чтобы использованная вода не попадала в водоем и не загрязняла его. Желательно, чтобы выбранный под баню участок находился на некотором возвышении. Это позволит избежать дополнительных расходов на устройство водоотвода, использованная вода будет отводиться самотеком. Выбранное для бани место должно находиться как можно дальше от дороги и быть отгорожено забором или какими-либо хозяйственными постройками от соседних участков. Построить баню можно на крутом склоне в виде землянки или полуземлянки с террасой на столбах, которая будет служить солярием, детской площадкой, мастерской или местом для отдыха. Вход в баню желательно сделать с юга, т. к. зимой с южной стороны меньше сугробов, а весной они тают быстрее.
Хорошо, если окна вашей бани будут выходить на запад или юго-запад. Ведь баню чаще всего топят по вечерам, и тогда лучи заходящего солнца будут заглядывать к вам в окна и создавать атмосферу уюта и покоя.
При выборе ориентации бани очень важно учесть направление косых дождей в данной местности, чтобы установить входную дверь бани с противоположной стороны. В противном случае перед дверью необходимо будет построить тамбур для защиты ее от намокания и разбухания.
Черная баня должна быть расположена не менее чем в 12 м от границ участка и остальных построек и желательно с той стороны жилого дома, куда чаще всего дуют ветры. Белую баню в целях экономии средств можно разместить в непосредственной близости от других строений или совместить с летней кухней, мастерской, теплицей, гаражом и т. д. При этом степень совмещения может быть разной. Так, две соседские бани можно сблокировать по глухой боковой стене и сделать для них общую канализацию. А между гаражом и баней лучше сделать небольшой тамбур для хранения топлива. Здесь уместно задать вопрос: а не приведет ли совмещение бани с домом к сырости и неприятным запахам в жилом помещении? Нет, не приведет, если все работы будут выполнены со строгим соблюдением санитарно-технических требований.
Внутреннее устройство бани
Наиболее простым вариантом бани является баня с топкой по-черному. Такие бани строятся по типу старинной русской бани или старинной сауны, которые представляли собой бревенчатую однокомнатную избушку, служившую одновременно и парной, и баней. Обогрев в такой бане осуществляется от горящего в очаге костра. Очаг располагается, как правило, в центре помещения, под кучей камней. Трубы в бане нет, поэтому дым свободно циркулирует по помещению, равномерно обогревая потолок, стены, скамьи, а затем выходит через щели стен и крыши.
Финны бани подобного типа нередко устраивают частично или полностью под землей. Крыша такой бани обычно выступает над крыльцом, образуя навес. Крыльцо же, огороженное стенами, используется как раздевалка. Бревенчатые стены бани хорошо сохраняют тепло. Несмотря на то что воздух постоянно фильтруется через стены, сменяясь при закрытой двери 7–8 раз в час, жар внутри сохраняется.
Более комфортабельная баня состоит из трех комнат: парной, моечной и раздевалки (предбанника). Их размеры и конфигурация могут варьироваться по желанию, но наиболее приемлемое соотношение – 1 : 1,5 : 2. Кроме трех основных комнат, в бане можно устроить душевую, комнату для отдыха или тамбур, который будет предохранять предбанник от проникновения холодного воздуха зимой.
Обычно комнату для отдыха, кладовую для хранения топлива и инструментов совмещают с раздевалкой, душ устанавливают в моечной, а в малогабаритных банях совмещают парную с моечной.
Как театр начинается с вешалки, так и баня – с раздевалки, или предбанника, где моющиеся могут раздеться, отдохнуть, остудиться. Он предо-храняет основные помещения бани от холода и ветра, поэтому должен быть хорошо утепленным. Но если вы собираетесь пользоваться баней только летом, вместо предбанника можно построить террасу или широкое крыльцо с навесом. В малогабаритной бане предбанник может быть заменен широким тамбуром с вешалкой для одежды. Освещаться такой тамбур будет через небольшое окошко в наружной двери.
Освещение в предбаннике может быть как искусственным, так и естественным. Поскольку окна в нем, как правило, не зашториваются, высота подоконников должна быть не менее 140 см от пола.
В предбаннике размещаются вешалка для одежды, скамейки, подставки для обуви, ведер с водой, дров. Если печь топится углем, то там же находится и ящик для угля с крышкой. Кроме того, в предбаннике, если он одновременно является и комнатой отдыха, можно разместить камин, стол, удобные стулья, а также лежанку, над которой не помешает укрепить дополнительную откидную полку.
Размеры предбанника рассчитываются, исходя из того, что на одного человека должно приходиться не менее 1,3 м2. Причем обратите внимание на то, что ширина предбанника должна быть не менее 1 м. В больших банях устраивают две раздевалки: в одной снимают верхнюю одежду, в другой оставляют нижнее белье.
Из предбанника дверь ведет в моечную. Для вычисления ее размеров также существует определенный стандарт – не менее 1 м2 на одного человека. Кроме того, в моечной должно быть достаточно места для размещения емкостей с холодной и горячей водой, скамеек, а при необходимости – и для душа. Если вы намерены в моечной проводить сеансы оздоровительного массажа, то ее размер должен быть не менее 200 х 200 см, чтобы установить там лежак необходимого размера.
Легкой перегородкой моечная соединяется с парной. Основное требование, предъявляемое к этому помещению, – сохранение и поддержание высокой температуры.
Ее размеры могут быть различными в зависимости от того, на сколько человек она рассчитана и какой вид печки-каменки вы в ней установите. Парилку лучше сделать квадратной.
Одна из основных составляющих парной – полок, форма и размеры которого зависят от того, в какой позе вы предпочитаете париться. Полок – это специальные лежанки или топчаны, предназначенные для парения.
Считается, что минимальная ширина пристенного полка 40–45 см при положении сидя и 95–100 см – при положении лежа. На рис. 1 показаны основные виды полков и примерные их размеры.

Рис. 1. Виды полков в зависимости от позы парящегося: а – сидя; б – отклонившись назад; в – сидя на полке с согнутыми ногами; г – лежа, положив поднятые ноги на упор

Рис. 1 (продолжение). Виды полков в зависимости от позы парящегося: д – лежа с согнутыми ногами; е – лежа на полке-шезлонге, положив ноги на упор; ж – лежа
Обычно каждый полок делается в виде ступеньки. Самая высокая температура – на верхнем полке (достигает 90–100° С), соответственно, самая низкая – на нижнем (около 50° С).
Полок изначально делали деревянным, чаще всего из липы. Доски для полка следует укладывать не вплотную, а с небольшим зазором, чтобы во время парения пот мог стекать, не задерживаясь на досках. Да, не забудьте что-нибудь подстелить (простыню, полотенце), ложась или садясь на полок.
В современной парной полки находятся на различной высоте. Ее выбор производится с учетом индивидуальной переносимости. Наиболее практичными считаются лавки из липы, т. к. они чисты, не оставляют заноз.
Наряду с правильной планировкой банных помещений, большое значение имеет грамотная организация отопления, способствующая поддержанию оптимального температурного режима. В каждом помещении во время купания должна постоянно и без особых усилий удерживаться строго определенная температура: в парной – 50–55° С, в моечной, так же как и в душевой – только немного выше температуры человеческого тела, около 40° С, в раздевалке – не ниже 21° С. Только при таких условиях банная процедура действительно будет полезной для здоровья.
Для создания и поддержания высокой температуры в парной используется печь-каменка или электрические нагреватели – калориферы. Основным преимуществом калориферов является то, что они позволяют нагреть воздух в парной до более высокой температуры и обеспечивают ее дальнейшее регулирование. Но они плохо поддерживают нужную температуру и уровень влажности в помещении.
Поэтому мы советуем вам установить в парной печь-каменку, использу-ющую различные виды топлива. Проследите за тем, чтобы она располагалась вдали от легковоспламеняющихся деталей помещения и во избежание ожогов была снабжена ограждением из теплоизоляционного материала. Следует также учесть, что дрова в печку удобнее загружать из предбанника.
Что же представляет собой печка-каменка? Это камни, подогреваемые огнем. Причем они должны быть достаточно большими, увесистыми и округлыми. Камни постепенно раскаляются, пока горит огонь и тлеют угли. Только после того, как камни нагреются до определенной температуры, можно поддавать жару. Выплеснутая на них вода мгновенно поднимается вверх в виде пара, в результате чего в парной резко поднимается температура. Затем она постепенно снижается до следующей порции воды, выплеснутой на печь. Определить точное время этого почти ритуального действия помогает опыт.
Раз уж речь зашла о печке-каменке, необходимо отметить, что многие любители попариться, следуя стародавнему обычаю, предпочитают топить печь дровами, при горении которых баня наполняется особым ароматом. Но, если вы не хотите, чтобы банный дух нес запах плесени и болота, то отнеситесь с должным вниманием к заготовке дров. От их качества и количества зависит, как будет натоплена баня и каким будет жар.
Наиболее подходящий вариант – дубовые дрова, причем использовать лучше дерево среднего возраста. Постарайтесь заготовить сухие и крепкие поленья. Только в этом случае баня будет наполнена запахом свежести и лесным ароматом.
Дуб – не единственное сырье, подходящее для растопки бани. Для этой цели подойдут и березовые дрова. Они хорошо горят и способны довольно долго хранить жар. Кроме того, людям, имеющим проблемы с органами дыхания, полезно вдыхать воздух, насыщенный ароматом березы. Использовать следует хорошо просушенные дрова, заготовленные в середине лета.
Не забывайте о том, что хранить березовые поленья желательно в сухом помещении не более двух лет.
Помимо дуба и березы, можно использовать дрова из ольхи, липы. Банный дух, пропитанный запахом ольхи и липы, считается целебным.
И еще один важный момент. Заготавливать поленья лучше летом, в самую жару. Только не берите стволы деревьев, лежащие на земле, т. к. они содержат вредные вещества, которые при горении выделяют ядовитый угарный газ.
Может случиться и такое, что не удалось заготовить поленья летом, а на дворе уже зима. Не отчаивайтесь – заготовку дров можно проводить и зимой. Рубить дрова лучше в сильный мороз, потому что в это время деревья не насыщены влагой. Чтобы выбрать нужное дерево, ударьте обухом топора по его стволу – если раздастся долгий и звонкий звук, это то, что вам надо.
Распиленные дрова можно хранить не только в сухом помещении, но и на открытом воздухе в тени.
Из-за нехватки леса часто прибегают к растопке бани углем. Это экономично, но вы не почувствуете приятного запаха сгорающих поленьев, и к тому же в парилке будет наблюдаться повышенная влажность. Зато жар от угля держится довольно долго.
Еще один совет: не пытайтесь, освобождаясь от старых, ненужных вещей и всяческого хлама (макулатуры и т. п.), топить ими баню, т. к. в этом случае воздух в парильне будет настолько токсичным, что о лечении и удовольствии придется забыть.
Проектирование бани
Наиболее простой вариант расположенной отдельно от жилого помещения бани – бревенчатая избушка, которая состоит из помещения, служащего одновременно раздевалкой и парилкой. Для его отопления используют дровяную печь или электрокамин, установленные в углу парилки. Три полки шириной по 60 см расположены ступенями друг над другом. Такой вариант бани требует наименьшего расхода строительных материалов, материальных затрат и топлива.
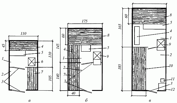
На рис. 2 представлены планы традиционных бань, состоящих из парной, моечной и раздевалки.

Рис. 2. Бани: а – баня для 1–2 человек с размещением сидя; б – баня для 2–3 че-ловек с размещением сидя и лежа; в – баня для 3–4 человек с размещением сидя и лежа; 1 – вешалка; 2 – предбанник; 3 – парная; 4 – моечная; 5 – скамья; 6 – полок; 7 – лежанка; 8 – двери; 9 – электропечь-каменка; 10 – стол; 11 – шкафы
Первый вариант (рис. 2, а) предназначен для одновременного мытья двух человек, но в парной может находиться только один из них. Для экономии места в такой бане скамейки лучше заменить на небольшие низкие табуретки.
В бане, представленной на следующем плане (рис. 2, б), могут одновременно мыться три человека. В парной двое из них могут забраться на верх-ний полок и разместиться там, поджав ноги. Отапливать такую баню лучше всего печкой-каменкой из моечной.
Самый комфортный вариант бани приведен на рис. 2, в. Расчет всех ее помещений произведен с учетом того, что человек на полках располагается лежа. Печку-каменку в такой бане рекомендуется разместить в предбаннике, чтобы топить ее, не заходя в моечную.
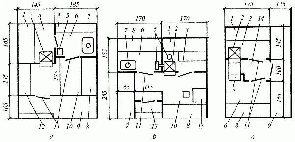
На рис. 3 представлены планы малогабаритных бань, в которых парная совмещена с моечной.

Рис. 3. Малогабаритные бани: а – баня для 1 человека; б – баня для 2 человек; в – баня для 3 человек; 1 – парная-моечная; 2 – предбанник; 3 – двери; 4 – полок для размещения сидя; 5 – подставка; 6 – электропечь-каменка; 7 – скамейка; 8 – полок-лежанка; 9 – печь-каменка для топки дровами; 10 – лежанка; 11 – стул; 12 – стол
Основным преимуществом таких бань является то, что они занимают в два раза меньше места, чем традиционные, а главным недостатком – невозможность создать высокую температуру и поддерживать низкую влажность воздуха. Поэтому при пользовании такой баней надо очень аккуратно мыться, стараясь не расплескивать воду. Кроме того, если в бане одновременно находится несколько человек, то сначала им лучше попариться, затем проветрить помещение и только после этого приступать к мытью.
Если вы собираетесь совмещать посещение бани с общением в кругу приятных вам людей, то ее полезная площадь должна быть не менее 12 м2, а парная и моечная разделены.
Так вам будет удобнее поддерживать разные температурные режимы в этих помещениях, когда одни будут париться, а другие мыться.
Полок в парной должен быть достаточно широким и длинным, чтобы на нем можно было не только сидеть, но и лежать.
Предлагаем вам приблизительные размеры бани, которая предназначена для одновременного посещения 2–3 человек:
– наружные размеры бани 4 х 4 м;
– парная 200 х 150 см;
– моечная 200 х 200 см;
– предбанник 150 х 240 см.
Если полезная площадь бани менее 2 м2, то она называется банной камерой или банным шкафом.
Естественно, что ни мини-бани, ни банные камеры не отличаются тем комфортом, который может предоставить баня, построенная на больших приусадебных участках с полезной площадью 14–16 м2.
На рис. 4 представлены три варианта таких бань.

Рис. 4. Бани с полезной площадью более 12 м2: а – баня с террасой; б – баня с террасой и крыльцом; в – баня с террасой и тамбуром; 1 – полок; 2 – печь-каменка; 3 – парная; 4 – скамейка; 5 – емкость для горячей воды; 6 – моечная; 7 – душевой поддон; 8 – лежанка; 9 – терраса; 10 – предбанник; 11 – двери; 12 – подставка; 13 – крыльцо; 14 – тамбур; 15 – стол
К бане на первом плане (рис. 4, а) пристроена удобная терраса с навесом, которую можно использовать как место отдыха. В предбаннике имеются лежанка и место для складирования дров, служащее одновременно подставкой для емкости с водой.
В бане на рис. 4, б вместо террасы – широкое крыльцо с навесом, на котором расположена удобная лежанка.
С помощью легкого приспособления высота лежанки меняется, и она может использоваться как для сидения или лежания, так и для выполнения некоторых хозяйственных работ в качестве верстака.
В просторном предбаннике, кроме лежанки, можно разместить небольшой стол и стулья. Из предбанника две двери ведут в парную и моечную, оборудованную душем.
На третьем плане (рис. 4, в) предбанник заменен террасой или верандой, а вход в парную и моечную осуществляется через тамбур, в котором находится печь-каменка.
Предлагаем вам еще один вариант бани для 5–6 человек (рис. 5), состо-ящей из парной, моечной, предбанника и открытой веранды. Печь-каменка, находящаяся в парной, совмещена с камином и отапливается из предбанника.

Рис. 5. Баня для 5–6 человек: 1 – терраса; 2 – окно; 3 – стол; 4 – лежанка; 5 – предбанник; 6 – печь-каменка; 7 – полок; 8 – отдушина; 9 – парная; 10 – душевой поддон; 11 – моечная; 12 – двери; 13 – камин; 14 – вешалка; 15 – подставка-скамейка; 16 – перила
На садовом участке баню-сауну, как указывалось выше, можно совместить с жилым помещением. Домик в этом случае обычно состоит из открытой веранды, жилой комнаты – гостиной, кухни, душа с туалетом и сауны. Вход в парилку, площадь которой составляет 3,7 м2, – из примыкающей к душу раздевалки. Ее обогрев осуществляется с помощью установленной здесь электрической печи. Полки в парилке размещают в два яруса, так что на них одновременно могут париться от двух до шести человек. Если сауной по какой-то причине не пользуются, полки смещают до одного уровня, а помещение используют как спальню. Воду для сауны нагревают электроподо-гревателем объемом 25 л, который устанавливают на стене душа.