
17. Додани хулосаи экспертизаи экологӣ ба субъектҳои фаъолияти соҳибкорӣ тибқи Қонуни Ҷумҳурии Тоҷикистон "Дар бораи низоми иҷозатдиҳӣ"амалӣ карда мешавад.
18. Хулосаи экспертизаи давлатии экологӣ ба фармоишгар ва ё таҳиягари ҳуҷҷати лоиҳавӣ ва дигар ҳуҷҷатҳо фиристода мешавад.
19. Фармоишгар ва ё таҳиягари ҳуҷҷати лоиҳавӣ ва дигар ҳуҷҷатҳо ўҳдадор аст, ки нусхаи хулосаи экспертизаи давлатии экологиро ба мақомоти ҳифзи муҳити зисти маҳали татбиқи лоиҳа дастрас намояд.
2. Талабот ба таркиби ҳуҷҷатҳои лоиҳавӣ ва дигар ҳуҷҷатҳо ва тартиби пешниҳоди онҳо ба экспертизаи давлатии экологӣ
20. Ҳуҷҷатҳои лоиҳавӣ ва дигар ҳуҷҷатҳо ба экспертизаи давлатии экологӣ дар намуди қоҷазӣ ва электронӣ (аз рўи мавҷудияти имконияти техникӣ) пешниҳод карда мешавад. Ҳамаи маводи ба экспертизаи давлатии экологӣ пешниҳодшуда дар экспертизаи давлатии экологӣ нигоҳ дошта
мешаванд.
21. Шартҳои техникӣ ва экологӣ оид ба лоиҳакашӣ бояд тибқи талаботи санадҳои меъёрии ҳуқуқии техникӣ дар бахши сохтмон, меъморӣ ва шаҳрсозӣ, ҳамчунин ҳифзи муҳити зист ва истифодаи самараноки захираҳои табиӣ ба расмият дароварда шавад. Мўҳлати амали шартҳои техникӣ барои лоиҳакашӣ тибқи мўҳлатҳои меъёрии барои лоиҳакашӣ муқарраршуда муайян карда мешавад. Мўҳлати амали шартҳои экологӣ барои лоиҳакашӣ аз ду сол зиёд нест.
22. Шартҳои техникӣ ва экологӣ барои лоиҳакашӣ, ки мўҳлати амалашон ба охир расидааст, ба экспертизаи давлатии экологӣ қабул карда намешаванд.
(Бо қарори Ҳукумати Ҷумҳурии Тоҷикистон аз 3 декабри соли 2012, № 697 тасдиқ шудааст)
Дарси КМРО
Экспертизаи экологӣ
Шуъбаи экспертизаи экологӣ бо мақсади таъмини иҷрои талаботи моддаҳои 35-36 боби 6, 37-43 боби 7 Қонуни Ҷумҳурии Тоҷикистон «Дар бораи ҳифзи муҳити зист» ва Қонуни Ҷумҳурии Тоҷикистон «Дар бораи экспертизаи экологӣ» таъсис ёфтааст.
Шуъба ҷузъи таркибии Раёсати ҳифзи муҳити зисти вилоятӣ буда, татбиқи қонунгузории Ҷумҳурии Тоҷикистонро дар бахши экспертизаи экологӣ ва ба экспертизаи экологӣ фаро гирифтани объектҳои экспертизаи экологиро дар доираи салоҳияташ таъмин намуда, ҳуҷҷатҳои стандартӣ ва меъёрҳои экологиро танзим ва назорати иҷрои онҳоро таъмин менамояд.
Шуъба фаъолияти худро дар асоси Конститутсияи Ҷумҳурии Тоҷикистон, дигар санадҳои меъёрию ҳуқуқии Ҷумҳурии Тожикистон дар соҳаи истифода ва ҳифзи муҳити зист, санадҳои ҳуқуқии байналмиллалие, ки аз ҷониби Ҷумҳурии Тоҷикистон эътироф шудааст, Низомномаи Кумита, Раёсат ва ҳамин Низомнома амалӣ менамояд.
Вазифаҳои асосии шуъба:
– ташкил ва гузаронидани экспертизаи экологии объектҳо (тибқи руйхати замимагардида – иншооти категорияи 4, ки бо Қарори Ҳукумати Ҷумҳурии Тоҷикистон аз 3 июни соли 2013, №253 тасдиқ карда шудааст), назорати танзими ҳуҷҷатҳои меъёрии соҳаи муҳити зист ва лоиҳаҳое, ки ҳангоми амалишавии онҳо хавфи таъсиррасонӣ ба муҳити зист мавҷуд буда, аз тарафи шахсони воқеъӣ ва ҳуқуқӣ, новобаста аз шакли фаъолият, тобеъият, моликият, шаҳрвандӣ ва мансубият, пешниҳод мешаванд;
– фаъолияти назоратиро дар соҳаи экспертизаи экологӣ дар ҳудуди вилоят амалӣ менамояд;
– таъмини иҷрои талаботи қонунгузории Ҷумҳурии Тоҷикистон дар бахши экспертизаи экологӣ дар вилоят;
– ба ҳолати воридот ва содироти маводҳои кимиёвӣ, автошинаҳои қисман истифодашуда ва ғайраҳоро зери назорат гирифта, меъёри онҳоро муайян менамояд;
– бо тартиби муқарраршуда дар таҳлил ва пешниҳод намудани лоиҳаҳои қонунҳо ва дигар санадҳои меъёрии ҳуқуқӣ оид ба ҳифзи муҳити зист иштирок менамояд;
– иштирок дар таҳияи ҳуҷҷатҳои меъёрӣ оид ба муайян кардани ҳадди ҷоизи меъёрҳои садо, ларзиш, майдони магнитӣ ва истифодаи моддаҳои кимиёвӣ;
– бевосита ва якҷоя бо дигар мақомоти дахлдор таъмин намудани талаботи қонунҳои амаликунандаи Ҷумҳурии Тоҷикистон оид ба истифода ва ҳифзи муҳити зист ҳангоми таҳияи ҳуҷҷатҳои дастурию методӣ ва техникию идоравӣ;
– назорат оиди таҳияи ҳуҷҷатҳои танзимкунанда дар бораи ҳуқуқ ва вазифаҳои шаҳрвандон дар фаъолияти вобаста ба ҳифзи муҳити зист, тартиби ҳалли баҳсҳои ҳифзи табиат ва ҷавобгарӣ барои ҳуқуқвайронкунӣ дар самти ҳифзи муҳити зист;
– ҳамоҳангсозии фаъолияти сохторҳои Раёсат ва соҳаи такмили ҳисоботи омории давлатӣ ва идоравӣ, қоида ва стандартҳо оид ба меъёрдарории истифодаи табиат, дар мувофиқа бо воҳидҳои сохтории Кумита, омода сохтани пешниҳодҳо барои такмили стандартҳои экологӣ;
– ташкили базаи маълумот оид ба вазъи муҳити зист, фаъолияти назорати давлатӣ ва стандартҳои меъёрҳои экологӣ;
– пешниҳоди таклифҳо оид ба такмили ҳисоботи омории давлатӣ ва идоравӣ дар соҳаи истифодаи оқилонаи захираҳои табиат;
– маводҳоро барои ба экспертизаи давлатии экологӣ фаро гирифтан объектҳои категорияи 1, 2, 3, омухта, барои баррасӣ ба Кумита пешниҳод менамояд.
Шуъба барои ҳалли вазифаҳояш ҳуқуқҳои зеринро дорост:
– иштирок дар таҳияи санадҳои меъёрию ҳуқуқӣ;
– барои беҳтар намудани фаъолияти соҳаи стандартикунонӣ, сертификаткунони маҳсулоти аз ҷиҳати экологӣ тоза ба Раёсат ва Кумита таклифҳо пешниҳод менамояд;
– дар муҳокимаҳои масъалаҳои фаъолияти Раёсат, шуъбаҳо, бахшҳо дар ҷамъомадҳо, семинарҳо ва конференсияҳо иштирок менамоянд;
– аз воҳидҳои сохтории Раёсат, шуъбаҳо, бахшҳо, аз ҷумла бо мувофиқаи роҳбарияти Раёсат аз дигар вазорату идораҳо маълумоти ҷорӣ ва дигар маълумоти заруриро барои иҷрои вазифаҳои шуъба, мувофиқи ин Низомнома талаб менамояд.
– барои риояи меъёрҳои экологӣ ва стандартҳо дар соҳаи ҳифзи муҳити зист ба корхонаю ташкилотҳои дар вилоят буда, новобаста аз шакли тобеъият ва моликияташон оиди ҷавобгу будан ба талаботи Қонунҳои Ҷумҳурии Тоҷикистон дар соҳаи ҳифзи муҳити зист назорат бурда, санҷишҳо мегузаронад ва таклифҳо пешниҳод менамояд.
13. Мавқеъи сертификатсия дар экологияи муҳандисӣ
13.1. Мақсад ва вазифаҳои сертификатсия
Яке аз самтҳои ҳалли масъалаи таъмини сифати муҳити атроф, ҳифзи саломатӣ, таъмини бехатарии истеъмолкунандаи молҳо ва хизматрасониҳо ин – сертификатсия мебошад. Истилоҳи “сертификатсия” – ро васеъ истифода мебаранд, мисол дар арзёбии сифати молҳои муайян, хизматрасониҳо, равандҳо (аз он ҷумла технологӣ), системаҳо (масалан, системаи сифат), ва истеҳсолот. Инчунин гуфтан мумкин аст, оид ба сертификатсияи компютери фардӣ ё ин ки оид ба сертификатсияи бинои истиқоматӣ, сертификатсияи муассисаи таълимӣ ё ин ки сертификатсияи экологӣ. Дар ин ҳол дар арзёбӣ базаҳои гуногуни меъёриву-техникӣ ва меъёрҳои гуногуни мутобиқатро истифода мебаранд.
Сертификатсия ҳатмӣ ва ё ихтиёрӣ шуда метавонад.
Тибқи моддаи 9-и ҚҶТ Дар бораи ҳифзи муҳити зист: Моддаи 9. Ваколати мақоми ваколатдори давлатии Ҷумҳурии Тоҷикистон дар соҳаи ҳифзи муҳити зист ин – ташкил кардан ва гузаронидани сертификатсияи экологии объектҳои муҳити зист, захираҳои табиӣ, маҳсулот, мавод ва ашёи хом, партовҳои истеҳсолӣ ва истеъмолӣ, равандҳои технологӣ ва хизматрасонӣ, ки барои пешгирӣ ва бартараф кардани зарар ба муҳити зист ва таъмини амнияти экологӣ равона карда шудаанд;.
Тибқи ҚҶТ Дар бораи ҳифзи муҳити зист: Моддаи 34.Сертификатсияи экологӣ
1. Сертификатсияи экологӣ бо мақсади таъмини фаъолияти аз ҷониби хоҷагидорӣ ва дигар фаъолияти аз ҷиҳати экологӣ бехатари шахсони воқеӣ ва ҳуқуқӣ гузаронида мешавад.
2. Сертификатсияи экологӣ метавонад ҳатмӣ ё ихтиёрӣ бошад.
3. Сертификатсияи экологии ҳатмӣ мувофиқи тартиби муқаррарнамудаи Ҳукумати Ҷумҳурии Тоҷикистон анҷом дода мешавад.
Мувофиқи ҚҶТ “Дар бораи сертификатсияи маҳсулот ва хизматрасонӣ” Сертификатсияи ҳатмӣ дар ҳолатҳои пешбининамудаи қонунгузории Ҷумҳурии Тоҷикистон амалӣ мегардад. Ташкил ва гузаронидани корҳо оиди сертификатсияи ҳатмӣ ба зиммаи мақомоти ваколатдори Ҳукумати Ҷумҳурии Тоҷикистон, дар баъзе ҳолатҳои пешбининамудаи қонунгузории Ҷумҳурии Тоҷикистон оиди баъзе навъҳои малсулот метавонад ба зиммаи дигар мақомоти идораи давлатӣ гузошта шавад.
Сертификатсияи ҳатмӣ иҷроиши талаботҳои бехатарӣ, ки ба таъмини ҳаёт, саломатии истеъмолкунанда ва ҳифзи муҳити зист равона шудаанд, дар назар дорад.
Сертификатсияи ихтиёрӣ – ин сертификатсияе, ки дар асоси ихтиёрӣ бо иқдоми истеҳсолкунанда (иҷрокунанда), фурӯшанда ё истеъмолкунандаи маҳсулот гузаронида мешавад.
Тартиби системаи сертификатсиониро дар мисоли сертификатсияи ҳатмии маҳсулот дида дида мебароем. Сертификати мутобиқат – ин амали тарафи сеюм мебошад ва тасдиқ менамояд ки маҳсулот ба стандарт ва ё дигар ҳуҷҷати меъёрӣ мутобиқат менамояд.
Сертификатсия бо мақсадҳои зерин гузаронида мешавад:
–
ҳифзи инсон ва муҳити атроф аз маҳсулоти эҳтимолан хатарнок;
–
баланд бардоштани эътимоднокӣ ба сифтаи маҳсулот;
Намудҳои стандартҳои экологӣ
Стандартҳои сифати муҳити атроф;
Стандартҳои таъсироти имконпазир ба МА;
Стандартҳои равандҳои технологӣ;
Стандартҳои сифати маҳсулот;
Стандартҳои ташкилӣ-идоракунӣ;
Барои ба таври расмӣ тасдик кардани аз ҷиҳати экологӣ тоза будани маҳсулот ва истеҳсолот, инчунин безарар будани онҳо ба муҳити зист сертификатсияи экологӣ гузаронида мешавад. Илова бар ин, ин тартиб ҳадафҳои зеринро пайгирӣ мекунад: рақобати озоди маҳсулот дар асоси маълумот оид ба аз ҷиҳати экологӣ тоза будани он, ҳифзи истеъмолкунандагон аз фаъолияти истеҳсолкунандагони беинсоф, тасдиқи нишондодҳои экологии сифати маҳсулот.
Бо гузаронидани сертификатсияи экологӣ, ширкатҳо системаи менеджменти экологиро ҷорӣ мекунанд, аудити пурра мегузаронанд ва ихтиёран сертификати ISO 14000 –ро соҳиб мешаванд, кӯшиш мекунанд, ки таъсири манфии истеҳсолотро ба муҳити зист кам кунанд, самаранокии иқтисодии онро тавассути кам кардани истеъмоли захираҳо ва партовҳо беҳтар созанд. Ба шарофати мавҷудияти чунин шаҳодатнома обрӯи ширкат ба таври назаррас беҳтар мешавад.
Системаи сертификатсия қоида ва равандҳои худро дорад. Системаҳои зерини сертификатсия мавҷуд аст: миллӣ; дутарафа; бисёртарафа; минтақавӣ; байналмилалӣ.
13.2. Сертификатсияи экологӣ
Сертификатсияи экологӣ ин чораи идоракунанда вобаста ба таъмини сифати маҳсулот, корҳо, хизматрасониҳои характери экологӣ дошта мебошад. Экосертификатсия бо мақсади ташкили механизми иқтисодӣ-ҳуқуқӣ оид ба амалигардонии ҳуқуқи шаҳрвандон ба муҳити зисти мусоид гузаронида мешавад.
Экосертификатсия мусоидат менамояд ба:
–
ҷорӣ кардани равандҳои технологӣ ва таҷҳизотҳои аз ҷиҳати экологӣ бехатар;
–
истеҳсоли маҳсулоти аз ҷиҳати экологӣ бехатар, баланд бардоштани сифати он;
–
ташқили шароит барои истеҳсолоте, ки ба талаботҳои экологии муқарраршуда ҷвобгӯ мебошанд;
–
пешгирии воридшавии маҳсулот, технологияҳо, партовҳо, хизматрасониҳои аз ҷиҳати экологӣ хатарнок;
–
интегратсияи иқтисоди кишвар ба бозори ҷаҳонӣ ва иҷроиши уҳдадориҳои байналмилалӣ.
Дарси КМРО
Омӯзиши эффекти парникӣ.

Расми 13.1. Интерфейси симулятор. Эффекти парникӣ
14. Воситаҳои техникӣ ва усулҳои ҳифзи атмосфера
14.1. Таснифоти таҷҳизоти чангқаппак
Пеш аз оғоз намудани тозакунии муҳити ҳавоӣ ва газӣ, ки бо чанг ифлос шудаанд, бояд таҳлили хосият ва хусусияти чангҳо гузаронида шавад. Маълум аст, ки аз рӯи дисперснокӣ чангҳо ба панҷ гурӯҳ ҷудо мешаванд:
1 – чангҳои хеле калондисперсӣ бо диаметри зарраҳо, d50 = > 140 мкм;
2 – чанҳои калондисперсӣ, d50 = 10 … 140 мкм;
3 – чангҳои миёнадисперсӣ, d50 = 10 … 40 мкм;
4 – чангҳои майдадисперсӣ, d50 = 1 … 10 мкм;
5 – чангҳои хеле майдадисперсӣ, d50 = < 1 мкм;
Нишондиҳандаи дисперснокии чанг, чун зиччии он дар вақти интихоби воситаҳо ва таҷҳизотҳои чангқаппак нақши муҳимро мебозанд.
Зарраҷаҳои чанг вобаста аз хусусияти физико-химиявӣ зиччии гуногун доранд:
– ҳақиқӣ;
– зоҳирӣ;
– резандагӣ;
Зичии зоҳирии зарраҷаҳои чанг нисбат ба массаи он ба ҳаҷм муайян карда мешавад. Масалан барои зарраҳои пурра (бемасомадор) ифодаи ЗИЧЧИИ ЗОҲИРӢ БА зичии ҲАҚИҚӢ баробар аст.
Мафҳуми зиччии резандагӣ барои муайян кардани ҳаҷми чанг дар анборҳо, ҷорӣ шудааст. Ин зиччӣ барои қабати чанг ба таносуби массаи қабат ба ҳаҷми он баробар аст ва аз масомадорнокии зарраҳо ва аз раванди ташаккулёбии қабати чанг вобастагӣ дорад. Бо мурури замон зичии чанги резандагӣ зиёд мегардад.
Яке аз хусусияти муҳим дар вақти интихоби усули тозакунии ҳаво аз чанг ин часпандагии зарраҳо мебошад, аз сабаби он ки, чӣ қадаре хосияти часпандагии чанг зиёд бошад, ҳамон қадар эҳтимоли часпидани чанг ба элементҳои қубурҳои газӣ пайдо мешавад ва маҳкам шудани қисмҳои алоҳидаи чангқаппакҳо ба миён меояд. Часпандагии чанг ҳангоми намнокии он баланд шудан, зиёд мегардад.

Расми 14.1. Таснифоти таҷҳизоти чангқаппак
Бояд қайд намуд, ки чанги дисперснокиаш гурӯҳи 1 ба камчаспанда ва 2 ва 3 бошад – ба миёна часпанда, ва 4 – 5 – ба часпанда дахл дорад. Ҳангоми намнок намудан, чангҳои гуногун часпандагии гуногун доранд, аз ҳамин сабаб муайян намудани дараҷаи нам шудани он зарур аст.
Дар вақти интихоби реҷаи кори чангқаппакҳои бо усули тар ин хусусияти чанг бисёр муҳим аст. Дар баъзе ҳолатҳо инчунин заряди электрикии зарраҳоро низ ба назар гирифт, ки он ба рафти кор таъсир мерасонад.
Вобаста ба хусусияти ҷудо кардани зарраҷашои сахт аз фазаи газӣ, ҳамаи таҷҳизоти чанқаппакро ба синфҳо ҷудо менамоянд (расми 14.1).
Тозакунии ҳаворо аз ғашҳои сахт ва моеъ бо истифода системаҳои аспиратсионии вентилятсионӣ амалӣ намудан мумкин аст, ки параметрҳои он дар ҷадв. 14.1 оварда шудааст.

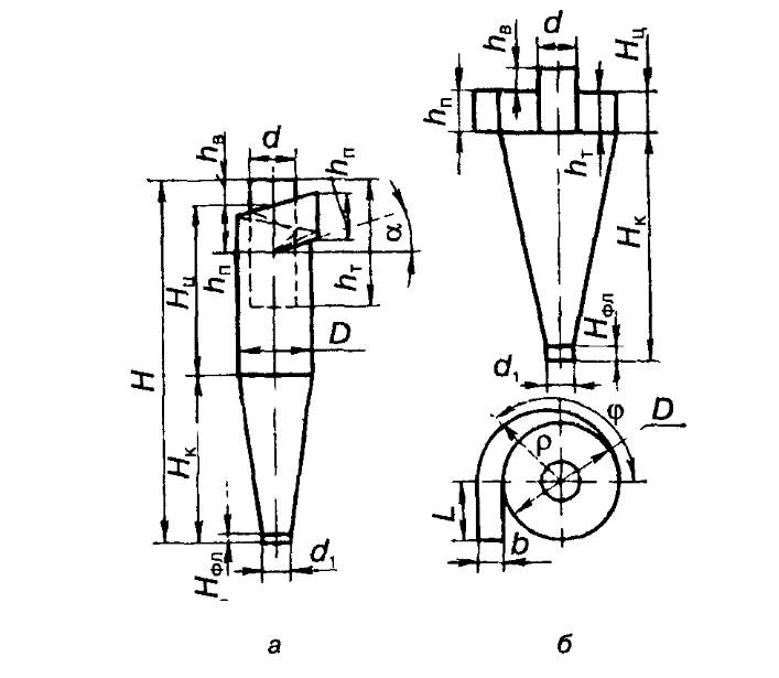
Аз ин намудҳои таҷҳизотҳои бо усули хушк – сиклонҳо бештар паҳн шудаанд (расми 14.2.). Масалан, онҳо дар қаппидани хокистар, ки дар марказҳои гармидиҳӣ ҳосил мешаванд, истифода бурда мешаванд. Дар сиклонҳо таҳшинкунии хокистари хушк дар натиҷаи даврзанӣ зери таъсири эффекти марказгурез ба вуҷуд меояд. Эффекти марказгурез бештар дар зарраҷаҳои калон ба назар мерасад.

Расми 14.2. Чангқаппакҳои сиклонӣ а – бо воридкунии тангенсиалӣ, б – бо белчаҳои аксиалии баргмонанд; в – батареявӣ;
Ба ғайр аз ин, дараҷаи тозакуни газҳо дар сиклонҳои батареягӣ пасттар, нисбат ба скрубберҳо ё электрофилтрҳо мебошад. Сиклонҳои батареявӣ одатан барои қапидани хокистар/чангҳои андозаашон калон, ҳамчун зинаи якуми тозакунӣ истифода бурда мешаванд. Барои кори муътадили сиклон герметинокии анбор зарур мебошад. Агар анбор ғайригерметикӣ бошад ба дараҷаи тозакунӣ таъсири манфӣ мерасонад.
Дарси амалӣ
Намудҳои гуногуни таҷҳизотҳо
Сиклонҳои силиндрӣ барои қапидани чанги хушки системаҳои аспиратсионӣ таъин шудаанд ва барои дар зинаи тозакунии пешакии газ то ворид шудан ба филтрҳо ва электрофилтрҳо истифода бурда мешаванд.

Расми 17.3. Сиклонҳои силиндрӣ (а) ва конусӣ (б)
Дарси КМРО.
Ҳисоб кардани сиклонҳо
Барои иҷроиши ҳисоби сиклон маълумотҳои ибтидоии пешакӣ зарур аст:
– ҳаҷми гаи тозашаванда Q, м3/с;
– зиччии газ ҳангоми шарити корӣ ρ, кг/м3;
– часпакии чанг дар ҳарорати корӣ µ, Па*с;
– консентратсияи воридшавандии заррачаҳои чанг свх, г/м3;
– зиччии заррачаҳои чанг ρч, кг/м3;
– самаранокии зарурии тозакунии газ η;.
Ҳисобкунии сиклонҳоро бо методи наздикгардонии пайдарпай бо тартиби муайян иҷро мекунанд.
Консентратсияи имконпазири ҳаддии моддаҳои ифлоскнанда дар ҳавои атмосферии маҳалҳои аҳолинишин. Таҳлили чадвали КИҲ.
15. Ҳифзи объектҳои обӣ аз ифлосшавӣ
15.1. Гардиши об дар табиат
Аз чор се ҳиссаи сатҳи кураи замин бо об пўшида шудааст. Қабати обии Заминро гидросфера меноманд. Гидросфера маҷмўи тамоми обҳои кураи заминро – рўизаминӣ, зеризаминӣ, обҳои пиряхҳо ва қабати барфиро ифода менамояд. Ба таркиби гидросфера оби атмосфера дохил мешавад, ки дар гардиши умумии обҳо нақши муҳимро мебозад. Ҷузъи асосии гидросфера объектҳое мебошанд, ки дар онҳо об ҷамъ шудааст (уқёнус, баҳр, кўл, дарё, ҳавз, ботлоқ, канал, қабати обҷамъшудаи замин ва ғ.)
Гардиши об дар табиат, ин раванди бефосилаи ҷойивазкунии об дар Замин аст (дар атмосфера, гидросфера ва қишри замин), ки дар он табаддулоти фазавии он ва каму беш доштани характери даврии он ифода мегардад. Он аз рўи кўчиши массавӣ ва аз рўи сарфи қувва муҳимтарин гардиш дар Замин буда, барандаи чунин амалиётҳо мебошад: бухоркунии об аз сатҳи оби уқёнуси ҷаҳонӣ ва хушкӣ, кўчиши буғҳои об бо ҷарёнҳои ҳавоӣ, конденсатсия ва бозгашти об дар намуди боришоти атмосферӣ ба уқёнус (гардиши хурди уқёнусӣ) ё ба хушкӣ, ки қисми он бо воситаи дарёҳо боз ба уқёнус бармегардад (гардиши калон).
Бо назардошти обе, ки аз сатҳи хушкӣ бухор шуда, дубора дар намуди боришоти атмосферӣ ба хушкӣ мерезад ҳамчун гардиши таҳҷоӣ ва ё дохилиқитъавӣ фарқ карда мешаванд. Маҷмўи равандҳои алоқамандро, ки гардиши сарбастаи обро дар муддати муайяни вақт ташкил медиҳад, силсилаи гидрологӣ меноманд.
Қувваи ҳаракатдиҳандаи гардиши глобалии об дар Замин, ин энергияи офтобӣ ва қувваи кашиш мебошанд. Тақрибан сеяки умумии энергияи офтобии ба Замин ворид гашта, барои ба вуҷуд овардани ҳаракати гардиши об сарф мешавад. Бо фурўбарии (хориҷкунии) гармӣ ҳодисаҳои бухоршавӣ, конденсатсияи буғҳои об, обшавӣ, яхбандӣ ва дигар гузаришҳои фазавии об ба вуҷуд меоянд. Бо таъсири қувваи вазнӣ афтиши боришоти атмосферӣ, ҳаракати обҳои рўизаминӣ ва зеризаминӣ ба вуҷуд меоянд, кадоме барои коркарди энергия (гидроэнергетика) истифода мешавад.
Ҳамин тавр, ба гардиши об, ки бо ҷараёни энергияи офтобӣ ба вуҷуд оварда мешавад, гардиши бисёр элементҳои химиявӣ ва пайвастаҳои онҳо алоқаманд аст. Дар гардиши калони об мавҷудоти зинда, экосистемаҳо ба таври аён иштирок доранд.
Гардиши об бо баланси обӣ тавсиф дода мешавад. Миқдоран нигоҳдории об дар «зарфиятҳо» (уқёнусҳо, пиряхҳо ва ғ.), инчунин ҷараёнҳои оби ба гардиши глобалии об ҷалб шуда, ки дар сарчашмаҳои гуногун пешниҳод шудаанд, фарқ мекунанд (дар ҷадвали1.19 миқдори миёнаи захираҳои об дар объектҳои табиӣ оварда шудааст).
15.2. Таснифи ғашҳои об ва усулҳои асосии бартараф кардани онҳо
Ғашҳои об – пайвастаҳои минералӣ ва органикӣ, ҳамчунин микроорганизмҳое, ки муҳити зисташон об аст (бактерияҳо, замбўрўғҳо, обсабзаҳо, соддатаринҳо).
Гуногунии ғашҳои об ҳангоми тозакунӣ ва омодасозии об барои истеъмолгарон душвориҳои муайянро пеш меоварад. Миқдори ғашҳои об садҳо маротиба аз адади маводҳое, ки усулҳои тозакунии онҳо коркард карда шудааст, зиёд аст. Зиёдшавии миқдори намудҳои ифлосиҳо дар оянда танҳо меафзояд. Бинобар ин стратегияе, ки мақсади коркарди усулҳои тозакуниро барои намудҳои ҷудогонаи ифлосиро дорад, бесамар ҳисобида мешавад. Ин муаммо, зарурияти таснифи хосиятҳои моддаҳо – ғашҳои об ва ошкор намудани он хосиятҳое, ки интихоби усулҳои тозакунии обро аз гурўҳи моддаҳои мазкур муайян мекунад, ба миён меорад. Дар натиҷа принсипи универсалии таснифи ғашҳои об коркард карда шуд.
Таснифи асосии ғашҳои об аз рўи ҳолати фазавӣ-дисперсии он чунин мебошад:
• тавсифи фазавӣ-дисперсии модда, ки рафтори онро дар муҳити обӣ, пас, муносибати онҳоро бо реагентҳои воридшаванда ва усули истифодашавандаи тозакунӣ, муайян мекунад;
• қобилияти бисёр моддаҳо дар муҳити обӣ тағир додани ҳолати фазави-дисперсии худ зери таъсири омилхои физикӣ-химиявӣ (рН, таркиби намакӣ, ҳарорат ва ғ.), ки имкониятҳои васеъро барои татбиқкунии роҳҳои технологии тозакунии обҳои табии ва ифлос фароҳам меоварад;
• мувофиқатии роҳҳои муайяни технологии дуркунии ғашҳо дар ҳолати фазавӣ-дисперсии онҳо.
Ғашҳои обро нисбатан ба чунин гурўҳҳо ҷудо намудан мумкин аст:
• зарраҳои калон – макрозарраҳо, ки бо чашми оддӣ дар намуди хирагии об дидан мумкин аст. Андозаи зарраҳо аз воҳиди микрометр (мкм) то 1 мм аст. Инҳо зарраҳои ғайриорганикии гетерогенӣ мебошанд. Онҳо бо об ҳудуди аниқ доранд ва худ такшин мешаванд;
• микрозаррахое, ки бо микроскопи оптикӣ дидан мумкин аст. Аммо бо чашми оддӣ ба намуди оппалестсентсия муайян намудан мумкин аст. Андозаи онҳо аз ҳиссаҳо то воҳиди микрометрро ташкил медиҳанд. Онҳо табиати ғайриорганикӣ ва биологӣ доранд. Бо сабаби ҳаракати броунӣ ин зарраҳо худ такшин намешаванд;
• зарраҳое, ки андозаҳояшон аз сад як ҳиссаи мкмро ташкил медиҳад ва асосан макромолекулаҳои калон мебошанд, ки ба маводҳои органикӣ ҳал мешаванд. Массаи молекулавиашон то 500000 воҳид (далтон) мебошад. Инчунин вирусҳо ва бактерияҳо низ дохил мешаванд;
• зарраҳои боз ҳам хурдтар – андозаҳояшон аз сад то ҳазор ҳиссаи мкмро ташкил медиҳад. Молекулаҳои маводҳои ғайриорганикӣ ва органикии бо массаи молекулавии аз 1000-50000 воҳид (далтон), ва инчунин баъзеи вирусҳо мебошанд;
• маҳлулхои ҳақиқӣ, дар таркибашон ионҳои ҳалшудаи маводҳои ғайриорганикӣ, ки андозаҳояшон бо ангстрем (1Å = 0,1 нм = 10-4мкм) чен карда мешаванд, доранд.
Барои дуркунии ҳар яки ин ғашҳо усулҳои гуногунро истифода бурдан мумкин аст. Ҳар як роҳи тозакунӣ ба худ якчанд равандҳоро дарбар мегирад, ки як маҷмўи таъсир ба макро- ва микросатҳ мебошад.
Макрозарраҳо ба таври худ такшин мешаванд. Бинобар ин, роҳи қулайтарини дуркунии чунин ғашҳо такшинкунӣ мебошад. Аммо раванди такшинкунӣ каммаҳсул мебошад, барои ҳамин, ҳам кам истифода бурда мешавад. Суръати такшинкуниро бо роҳи ҳосилкунии агрегатсиякунии зарраҳо бо ёрии реагентҳои махсус, ки ба об илова мекунанд, яъне усули дурдабандӣ ва флокулятсия зиёд карда мешавад. Зарраҳои сабуктар бо роҳи полонидан бо тўрҳо ва девораҳои масомадор (ковок) ҷудо карда мешавад.
Микрозарраҳо ба таври худ такшин намешаванд. Барои такшинкунии онҳо истифодаи усули дурдабандӣ ва флокулятсия ҳатмӣ мебошад. Чунин зарраҳоро бо усули микрополоиш дар маводҳои масомадор низ ҷудо намудан мумкин аст. Ҳангоми масомаҳои хурд то андозаи бактерияҳо маҳлул стерилизатсия карда мешавад.
Макромолекулаҳои калонро ҳам бо усули дурдабандӣ ва флокулятсия ҷудо кардан мумкин аст. Онҳоро инчунин бо усули микротасфия ва ултраполоиш дар мембранаҳои махсус, ки андозаи масомаҳояш аз андозаи зарраҳои ҷудошаванда хурд аст, ҷудо намудан мумкин аст.
Микрозарраҳои массаи молекулавиашон 1000-50000 воҳид (далтон), ва ҳамчунин бактерияҳоро аз маҳлул бо усули ултраполоиш ҷудо мекунанд.
Молекулахои пайвастаҳои органикӣ бо массаи молекулавии гуногун бо методи сорбсия дар сорбентҳои масомадор ё дар анионитҳои махсуси фурўбарандаи органикӣ дур карда мешавад.
Ионҳои ҳалшудаи маводҳои ғайриорганикиро бо усули реагентӣ, полоиш-нанополоиш ва таровиши чаппа, ё мубодилаи ионӣ истихроҷи комплексӣ намудан мумкин аст.
Ифлосиҳои органикӣ ва биологиро бо оксидкунандаҳои қавӣ бартараф намудан мумкин аст.
Ифлосиҳои биологӣ бо таъсири физикавӣ, ҳамчунин ултрасадо, разряди электрӣ, афканишоти ултрабунафш ғайрифаъол мегарданд.
Дар ҷадвали 15.1. спектри андозаҳои зарраҳо, ки ҳам дар таркиби обҳои табиӣ ва ҳам дар обҳои ифлос ҳастанд, ва ҳамчунин методҳои дуркунии ғашҳо оварда шудааст.
Ғашҳои дуруштдисперсӣ, ки бо об суспензияҳоро, эмулсияҳо, кафкҳоро ташкил медиҳад ва ҳамчунин планктон ва бактерияҳои патогенӣ аз ҷиҳати кинетикӣ ноустувор ҳастанд, дар ҳавзҳо дар ҳолати муаллақ зери қувваи гидродинамикӣ меистанд. Ингуна маводҳо дар натиҷаи кафидани ҷинсҳо ва шустани хоку гил бо обҳои ифлос ба ҳавзаҳо мерезанд. Ин ғашҳо бештар аз зарраҳои хоку гил, рег, лойқа, эмулсияи равғанҳои минералӣ, маҳсулотҳои нафтӣ ва ғ. иборат аст. Дар сатҳи зарраҳо метавонанд бактерияҳо, вирусҳо, маводҳои радиоактивӣ ҷамъ шаванд. Ин ғашҳоро аз об бо таъсири қувваҳои гравитатсионӣ, қувваи часпиш (адгезия), ки ба такшинӣ вобаста аст, самаранок дур кардан мумкин аст.
Ғашҳои об аз ҳиссаҳо то воҳиди мкм асосан аз зарраҳои коллоидӣ (минералӣ ва органикӣ), гуминӣ, фулвотезобҳо, ки аз қабати хоки ҷангалзорҳо, торф, ботлоқ шуста мешавад, иборат аст. Ин зарраҳо обро сиёҳтоб мекунанд. Инчунин пайвастаҳои калонмолекулавии пайдоишаш табиӣ, ки ба воситаи обҳои ифлос ба ҳавзҳо мерезад; вирусҳо ва дигар микроорганизмҳои коллоидии дараҷаи дисперсӣ иборат аст. Ғашҳои ин гурўҳ бо об системаҳои қавии агрегатии кинетикиро (ғашҳо амалан такшин намешаванд, вақти такшиншавии онҳо солҳо давом меёбад) ташкил медиҳанд. Ин ғашҳоро аз об асосан бо усули дурдабандӣ, сорбсия ва бо таъсири оксидкунандаҳо дур мекунанд.