

С. Е. Беликов, В. Р. Котлер
Котлы тепловых электростанций и защита атмосферы
Рекомендовано в качестве учебного пособия для студентов вузов и колледжей по специальности «Тепловые электростанции».
Введение
Книгу посвящаю Страдецкому Борису Евгеньевичу – Учителю, открывшему для меня мир теплотехники.
Сергей БеликовПо определению Всемирного энергетического совета, «…устойчивым является такое развитие, которое удовлетворяет потребности настоящего без нарушения возможности будущих поколений удовлетворять свои потребности» [1]. Это значит, что любые преобразования в отечественной энергетике должны быть нацелены на решение сразу двух основных проблем: во-первых, необходимо по приемлемым ценам обеспечить всё возрастающие потребности экономики в электроэнергии и, во-вторых, добиться, чтобы прирост генерирующих мощностей и функционирование действующих электростанций не снижали качество жизни российских граждан из-за ухудшения состояния окружающей среды.
Проведенные в последние годы преобразования и постепенный переход к рыночным отношениям в электроэнергетике создали условия для интенсивного наращивания генерирующих мощностей. Начато сооружение нескольких мощных энергоблоков на твердом топливе. Это, в первую очередь, энергоблок мощностью 225 МВт на Харанорской ГРЭС, усовершенствованный энергоблок мощностью 330 МВт на Каширской ГРЭС. Начата разработка новых котлов к энергоблокам на сверхкритические параметры пара на Томь-Усинской, Троицкой, Серовской и Рефтинской ГРЭС. Мощность этих блоков предположительно составит 550–660 МВт. На Новочеркасской и Череповецкой ГРЭС планируется установка котлов с циркулирующим кипящим слоем.
При техническом перевооружении действующих ТЭС на газомазутном топливе активно внедряются парогазовые установки (ПГУ). Уже несколько лет успешно работает первый блок мощностью 450 МВт на Северо-Западной ТЭЦ под Санкт-Петербургом. Реализованы проекты ПГУ на Калининградской ТЭЦ-2 и в г. Сочи. Ожидается сооружение парогазовых энергоблоков на ТЭЦ-26 Мосэнерго, Шатурской ГРЭС и ряде крупных ТЭЦ, которые пока что сжигают природный газ в котлах устаревших паротурбинных установок с КПД по выработке электроэнергии на уровне 30–35 %.
И во всех случаях учитываются не только экономическая эффективность инвестиций, но и экологические последствия реализации любого проекта. Сейчас на электростанциях работают котельные установки, спроектированные и построенные несколько десятилетий назад. В то время основой конструкции было экономичное и эффективное сжигание топлива (высокий КПД, низкие потери, долгосрочная безаварийная работа). В настоящее время, в дополнение к перечисленным, выдвигаются новые требования к оборудованию. В частности, к одному из основных элементов тепловой электростанции – котельной установке – предъявляются новые, более жесткие требования, связанные с обеспечением допустимых выбросов загрязняющих веществ в атмосферу.
«Энергетическая стратегия России на период до 2020 г.» (ЭС-2020) исходит из того, что рост спроса на электроэнергию по сравнению с 2002 г. составит 24 % в 2010 г. и 37 % в 2015-м [2]. Такой рост будет реализован, главным образом, за счет ввода новых мощностей на тепловых электростанциях. При этом ЭС-2020 предусматривает изменение структуры потребления топливно-энергетических ресурсов: рыночными методами будет снижаться гипертрофированная доля газа и, соответственно, увеличиваться доля угля при производстве электроэнергии. Это ещё больше осложнит экологическую проблему: при сжигании твердого топлива в дымовых газах содержатся золовые частицы и оксиды серы (SO2 и SO3), а количество оксидов азота (NOx) и монооксида углерода (СО) на угольных котлах больше, чем при сжигании газа. Данное обстоятельство заставляет уделять больше внимания экологическому аспекту как при проектировании новых, так и при эксплуатации действующих котельных установок.
Учитывая всё это, авторы постарались подготовить учебное пособие, в котором систематизированы и обобщены последние достижения, касающиеся начального звена технологического цикла тепловой электростанции: подготовки топлива к сжиганию, организации топочного процесса и получения пара в котлах различной конструкции. Используя результаты собственных исследований, а также наиболее значимые результаты исследований отечественных и зарубежных энергетиков в области котельной техники и экологии, авторы попытались создать новое пособие по котлам тепловых электростанций, в котором, наряду с традиционными вопросами, упор сделан на экологические характеристики котельных установок, сжигающих все виды органического топлива. Читатели не только воспримут информацию о процессах получения пара, но и познакомятся с условиями образования загрязняющих веществ при горении, методами подавления интенсивности их образования, конструкциями аппаратов для защиты атмосферы от газообразных и твердых выбросов.
Издание может быть использовано в качестве учебного пособия для студентов вузов, специализирующихся по курсу «Котельные установки ТЭС» и «Экология энергетики», а также будет полезным для повышения квалификации работников проектно-конструкторских организаций и эксплуатационного персонала тепловых электростанций.
Авторы выражают признательность научному редактору, к. т. н., доценту А. Я. Антонову, проявившему деятельное участие в создании этой книги, а также члену-корреспонденту Академии Наук России, д. т. н. Г. Г. Ольховскому за ценные указания при рецензировании рукописи.
Глава 1. Котельные установки. Назначение и классификация котлов. Особенности котлов для разных мощностей, параметров и видов топлива
Паровые котлы тепловых электростанций – это устройства, в которых химическая энергия органического топлива, превращаясь в тепловую энергию (перегретый пар), используется затем для получения механической энергии на валу турбогенератора и, соответственно, электрической энергии. Если для получения механической энергии применяется не конденсационная, а теплофикационная или противодавленческая турбина, то потребителю поступает ещё и тепловая энергия в виде технологического пара (рис. 1.1).

Рис. 1.1. Получение электроэнергии на угольной ТЭС: 1 – угольная шахта; 2 – паровой котел; 3 – паровая турбина, 4 – электрогенератор; 5 – повышающий трансформатор; 6 – конденсатор; 7 – канал охлаждающей воды; 8 – электрофильтр; 9 – дымовая труба
Кроме паровых котлов, на некоторых электростанциях можно встретить пиковые водогрейные котлы, в которых, опять же за счет сжигания органического топлива, вода только нагревается, не превращаясь в пар. Горячая вода может быть использована для технологических целей, но главное её назначение – отопление жилых и производственных помещений в холодное время года.
Таким образом, все котлы используют одно и то же рабочее тело – воду, но делятся на паровые и водогрейные. Паровые котлы, в свою очередь, можно разделить на промышленные (в них получают насыщенный или слегка перегретый пар для технологических нужд и отопления) и энергетические, перегретый пар которых используют в паровых турбинах.
В дальнейшем мы будем рассматривать только паровые котлы тепловых электростанций, то есть современные агрегаты для получения перегретого пара за счет сжигания органического топлива. Речь пойдет не только о котлах, но и котельных установках, в состав которых, кроме собственно котлов, входят вспомогательные устройства и механизмы, обеспечивающие нормальную работу основного агрегата.
Технология получения перегретого пара предполагает последовательность нескольких физических процессов. Всё начинается с подогрева питательной воды, которая поступает в котел при определенном давлении, создаваемом питательным насосом. Этот процесс происходит при однократном прохождении воды через трубы конвективной поверхности нагрева, называемой экономайзером (рис. 1.2). Подробнее о конструкции и условиях эксплуатации этого элемента котла рассказано в главе 4.
После экономайзера вода поступает в барабан, а затем в испарительные поверхности нагрева, которые располагают, как правило, в топочных камерах паровых котлов. Здесь происходит образование пара, который затем поступает в пароперегреватель (подробнее см. в гл. 4). Через обогреваемые дымовыми газами трубы пароперегревателя пар проходит однократно, а парообразующие поверхности нагрева могут быть разными. В котлах барабанного типа пароводяная смесь многократно проходит через обогреваемые трубки топочных экранов за счет естественной циркуляции или в результате многократно-принудительной циркуляции (с использованием специального насоса). В котлах, которые называют прямоточными, пароводяная смесь проходит через испарительные поверхности нагрева однократно, за счет давления, создаваемого питательным насосом.
Остановимся подробнее на особенностях процесса получения пара в котлах с естественной циркуляцией и в прямоточных котлах.
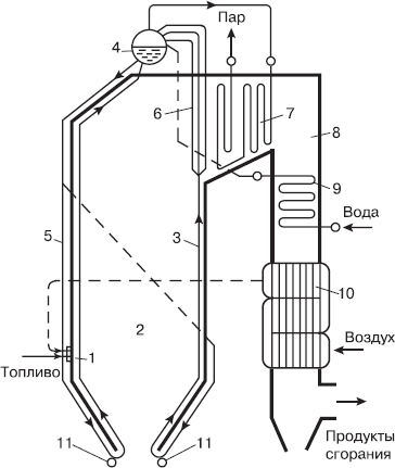
На рис. 1.2 приведена схема барабанного котла с естественной циркуляцией, выполненного по традиционной П-образной схеме (о других схемах компоновки паровых котлов будет рассказано ниже). Питательная вода, как показано на этой схеме, поступает в экономайзер, расположенный в конвективной шахте. Экономайзер – первая часть водопарового тракта котла: нагретая в нем вода поступает в барабан, который соединен как с необогреваемыми опускными, так и с обогреваемыми подъемными трубами и является замыкающим звеном контура циркуляции. По необогреваемым трубам котловая вода опускается к коллекторам, размещенным у нижней кромки топочной камеры. Из этих коллекторов вода поступает в вертикальные трубки топочных экранов. Именно здесь благодаря мощному тепловому потоку от сгорания органического топлива начинается собственно процесс парообразования. При однократном прохождении через топочные экраны испаряется не вся вода: в барабан возвращается пароводяная смесь. Доля пара в данной смеси (паросодержание) характеризует тепловую нагрузку испарительной поверхности нагрева. Величину, обратную этой доле, принято называть кратностью циркуляции (К). В объеме барабана происходит разделение (сепарация) воды и пара (подробнее см. в гл. 8). Пар выходит во входной коллектор пароперегревателя, а котловая вода вновь попадает в опускные трубы циркуляционного контура.

Рис. 1.2. Схема барабанного котла с естественной циркуляцией, работающего на пылевидном топливе: 1 – горелки; 2 – топочная камера; 3 – топочный экран; 4 – барабан; 5 – опускные трубы; 6 – фестон; 7 – пароперегреватель; 8 – конвективный газоход; 9 – экономайзер; 10 – трубчатый воздухоподогреватель; 11 – нижние коллекторы топочных экранов
Подъемно-опускное движение по контуру естественной циркуляции (то есть по необогреваемым опускным и обогреваемым подъемным трубам) происходит вследствие разности плотностей котловой воды и пароводяной смеси. Подробнее о закономерностях естественной циркуляции рассказано в главе 6, посвященной гидродинамике водопарового тракта котельной установки.
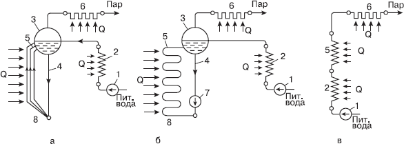
Для повышения надежности циркуляции на барабанных котлах повышенного давления (17–18 МПа) применяют принудительное движение пароводяной смеси в топочных экранах (рис. 1.3,б). Как показано на приведенных схемах, котел с принудительной циркуляцией (controlled circulation) отличается от котла с естественной циркуляцией (natural circulation) (рис. 1.3,а) наличием специального насоса для котловой воды.
На рис. 1.3,в представлена схема прямоточного котла (once through).
Прямоточные котлы отличаются от котлов с естественной и принудительной циркуляцией отсутствием барабана и однократным движением нагреваемой среды через испарительные поверхности нагрева. Можно сказать, что кратность циркуляции в прямоточных котлах К = 1, а гидравлическая система является разомкнутой (в отличие от барабанных котлов с естественной циркуляцией, гидравлическая система которых – замкнутая).

Рис. 1.3. Схема движения воды и водяного пара: а – барабанный котел с естественной циркуляцией; б – барабанный котел с принудительной циркуляцией; в – прямоточный котел; 1 – питательный насос; 2 – экономайзер; 3 – верхний барабан котла; 4 – опускные трубы; 5 – испарительные подъемные трубы; 6 – пароперегреватель; 7 – циркуляционный насос; 8 – нижний коллектор
Еще одна особенность прямоточных котлов – отсутствие постоянной (фиксированной) границы между экономайзерной, парообразующей и пароперегревательной поверхностями нагрева. По мере повышения давления в водопаровом тракте котла сокращается испарительная зона котла, и после достижения критического давления в котле остаются практически только экономайзерная и пароперегревательная части, а между ними сохраняется только зона фазового перехода.
В последние годы в Европе, США и Японии разрабатывают или уже появились котлы, рассчитанные на давление 30 и даже 35 МПа. Для таких котлов используют новый термин: «ультрасверхкритическое давление».
Большое значение имеет конфигурация котла, то есть взаимное расположение радиационных и конвективных поверхностей нагрева. Чаще всего встречаются котлы с П-образной компоновкой, когда топочная камера является первым газоходом (обычно с восходящим движением продуктов сгорания), а конвективные поверхности нагрева располагаются во втором, опускном газоходе (рис. 1.4,а). Топочную камеру с конвективной шахтой соединяет горизонтальный газоход, в котором обычно размещаются конвективные пакеты пароперегревателя или промпароперегревателя (при наличии в тепловой схеме энергоблока промежуточного перегрева пара). Важным достоинством такой компоновки является нижнее расположение мест ввода топлива в котел и выхода дымовых газов. Это позволяет расположить тягодутьевые механизмы и размольные устройства пылеугольных котлов на нулевой отметке.

Рис. 1.4. Схемы компоновок котлов: а – П-образная; б – Т-образная; в – башенная; г – U-образная (инвертная); д – плечевая
Основной недостаток П-образной компоновки – наличие поворотов на выходе из топки и на входе в опускную шахту котла. Эти повороты ухудшают омывание поверхностей нагрева, а на крупных котлах приводят к значительной неравномерности температуры продуктов сгорания по высоте горизонтального газохода. Для лучшего омывания поверхностей нагрева в котлах с П-образной компоновкой, как правило, устанавливают аэродинамический выступ на заднем экране.
В 1970–1980-е гг. российские энергетики начали выпускать котлы с Т-образной компоновкой, в которых продукты сгорания после топочной камеры опускались по двум газоходам, расположенным по обе стороны от топки (рис. 1.4,б). Такое решение увеличивает сечение (а следовательно – снижает скорость запыленных дымовых газов) в конвективной шахте, что уменьшает интенсивность износа труб пароперегревателя и экономайзера, расположенных в этой части котла. Для высокозольных углей (например, для экибастузского угля) такое решение было оправданным, хотя металлоемкость Т-образных котлов выше, чем у котлов с другой компоновкой.
Дополнительными преимуществами котлов с Т-образной компоновкой можно считать уменьшение высоты выходного окна топки (что улучшает температурный режим труб пароперегревателя), а также возможность использовать глубоковыдвижные обдувочные аппараты ограниченной длины (благодаря уменьшению ширины котла).
Примерно в те же годы европейские котлостроительные фирмы, преследуя ту же цель (снижение износа конвективных поверхностей), а также стараясь сократить размеры котельной ячейки, стали выпускать котлы башенного типа, в которых практически все конвективные поверхности нагрева (кроме регенеративного воздухоподогревателя) располагались непосредственно над топочной камерой. Такая компоновка, безусловно, требует существенного увеличения высоты главного корпуса, внутри которого устанавливается котельный агрегат (рис. 1.4,в). Но зато, наряду с уменьшением площади, удается обеспечить равномерное омывание конвективных поверхностей нагрева благодаря отсутствию поворотов, неизбежных при П– и Т-образных компоновках. Кроме того, подъемное движение продуктов сгорания несколько снижает газовое сопротивление. Правда, для мощных котлов башенного типа, сооружаемых в Европе, Японии и Южной Корее в последние годы, пришлось всё же после башенного котла выполнять опускной, свободный от поверхностей нагрева газоход, так как регенеративный воздухоподогреватель, дымосос и газоочистное оборудование могли быть установлены только на нулевой отметке.
Еще один вариант компоновки котельной установки – U-образный котел с топкой инвертного типа (рис. 1.4,г). Такие котлы сравнительно небольшой мощности устанавливали в Европе и США еще в первой половине прошлого века. Верхнее расположение регенеративного воздухоподогревателя позволяло существенно сократить протяженность воздушных коробов до горелок, а факел очень хорошо заполнял топочную камеру. При повышении мощностей котлов всё более ощутимыми становились недостатки такой компоновки: топливо от мельниц приходилось поднимать на большую высоту, а размещение тягодутьевых механизмов и золоуловителей на опорных конструкциях вызывало большие сложности.
В последние десятилетия котлостроительные заводы практически прекратили выпуск таких котлов, но внезапно интерес к ним снова возродился. Дело в следующем. При разработке котлов на ультрасверхкритические параметры с температурой свежего пара и промперегрева 600–700 °С, паропроводы от котла к турбине становятся настолько дорогими, что оправданными оказываются любые усложнения компоновки котла, если их результатом станет сокращение расстояния от выхода из пароперегревателя до стопорного клапана турбины.
Используемое топливо также оказывает влияние на конструкцию котельного агрегата. Так, например, некоторые европейские котлостроительные фирмы при сжигании малореакционных углей (тощих или антрацитов) удачно используют плечевые топки (рис. 1.4,д).
При сжигании твердого топлива в большинстве случаев нижняя часть топки представляет собой холодную воронку, в которой расплавленные в ядре горения золовые частицы охлаждаются до нужной температуры. Такие топки – с твердым шлакоудалением (ТШУ) – используют при сжигании бурых и большинства каменных углей. Но для небольшой группы углей с малым выходом летучих (антрациты и тощие угли) часто применяют топки с жидким шлакоудалением (ЖШУ). В таких топках вместо холодной воронки устанавливают слабонаклонный под. Трубы пода и нижней части топочной камеры покрывают шипами, на которые наносят огнеупорную массу. Всё это приводит к появлению пленки жидкого шлака, образовавшегося из минеральной массы угля. Шлак вытекает через летку в нижней части пода и гранулируется в шлаковой ванне. О целесообразности использования и конструктивных особенностях топок с жидким шлакоудалением подробнее рассказано в последующих разделах.
Газомазутные котлы не нуждаются в холодной воронке: нижняя часть топочной камеры у них представляет собой слабонаклонный под, закрытый экранными трубами. Конструкция конвективных поверхностей нагрева учитывает отсутствие золовых частиц в дымовых газах. Легче решаются проблемы очистки дымовых газов (особенно при сжигании природного газа, когда в топливе отсутствуют серосодержащие вещества).
В конструкции конвективных поверхностей нагрева угольных котлов необходимо учитывать наличие в дымовых газах золовых частиц, которые создают проблемы загрязнения и (или) износа труб пароперегревателя и экономайзера. За пылеугольным котлом обязательно должен быть установлен золоуловитель (например, электрофильтр), а в некоторых случаях – еще и весьма дорогие аппараты для очистки дымовых газов от сернистого ангидрида SO2 и оксидов азота NOx (подробнее – в гл. 11–12).
Для преодоления аэродинамического сопротивления конвективных поверхностей нагрева, а также аппаратов для очистки дымовых газов, котельная установка оборудуется дымососом (или дымососами). Исключение составляют только небольшие водогрейные котлы башенного типа, работающие обычно на природном газе. У таких котлов (типа ПТВМ) эвакуация дымовых газов из топочной камеры осуществляется за счет самотяги (рис. 1.5).

Рис. 1.5. Компоновка модернизированного котла ПТВМ – 100М: 1 – пакеты из мембранных панелей; 2 – пакеты из труб с наружным спиральным оребрением; 3 – экраны мембранные; 4 – горелки (6 шт.); 5 – вентиляторы; 6 – газопроводы рециркуляции
Но в крупных энергетических котлах, даже при использовании башенной компоновки, преодолеть аэродинамическое сопротивление котла и очистного оборудования удается только с помощью мощного дымососа, который подает продукты сгорания к дымовой трубе.
Глава 2. Органическое топливо и особенности его использования на тепловых электростанциях
2.1. Состав и основные характеристики органического топлива
Первичным источником энергии, который используется на тепловых электростанциях, является ископаемое топливо органического происхождения. Горючие вещества, входящие в состав топлива, – углерод С, водород Н и сера S (за исключением небольшой части серы, содержащейся в минеральной массе топлива – сульфатная сера). Кроме горючих веществ, в состав топлива входят кислород О (поддерживает горение, но теплоты не выделяет) и азот N (не участвующий в реакциях горения инертный газ). Кислород и азот иногда называют внутренним балластом топлива, в отличие от внешнего балласта, к которому относят золу и влагу.
Зола (обозначается буквой «А») – это минеральная часть топлива, включающая оксиды кремния, железа, алюминия, а также соли щелочных и щелочноземельных металлов.
Влага топлива (W) подразделяется на внешнюю и гигроскопическую. При длительном хранении твердого топлива в сухом месте оно теряет внешнюю влагу и становится «воздушно-сухим».
Таким образом, если какое-то количество топлива принять за 100 %, то можно записать:
Cr + Hr + Or + Nr + Sлr + Ar + Wr = 100 %. (2.1)
Индекс «r» в этом уравнении обозначает, что речь идет о рабочей массе топлива, полученного на электростанции (за рубежом обычно говорят не «рабочее», a «as receive», то есть «полученное» топливо).
Исключая из рабочего состава всю влагу, можно получить:
Cd + Hd + Od + Nd + Sлd + Ad = 100 %. (2.2)
Индекс «d» в этом уравнении обозначает «dry», то есть «на сухую массу».
Если пойти еще дальше и исключить золу (точнее – минеральную массу), то можно получить состав горючей массы топлива:
Cdaf + Hdaf + Ndaf + Odaf + Sлdaf = 100 %. (2.3)
Индекс «daf» в этом уравнении обозначает топливо – «dry ash free», то есть «сухое и свободное от золы».
Сера со значком «л», входящая в вышеприведенные уравнения, во-первых, не включает серу, входящую в состав золы, и, во-вторых, состоит из двух частей: серы органической и серы колчеданной (Fe2S), которая присутствует в некоторых марках углей в заметном количестве.
Следовательно, можно рассматривать еще и органическую массу топлива, которая не содержит серы колчеданной:
Co + Ho + Oo + No + So = 100 %. (2.4)
Для пересчета состава топлива, величины выхода летучих и теплоты сгорания с одной массы топлива на другую необходимо воспользоваться коэффициентами пересчета, приведенными в табл. 2.1.
Некоторые особенности при пересчете характеристик топлива возникают при использовании сланцев, имеющих повышенное содержание карбонатов. Если для обычных видов топлива горючая масса – это разница 100 – Wr – Аr, то при содержании карбонатов больше 2 % необходимо считать горючую массу по другой формуле:
100−Wr−Aиспрr −(СО2)K,
где Аиспр – зольность без учета сульфатов, образовавшихся при разложении карбонатов и с поправкой на сгорание серы колчеданной, то есть
Aиспрr = Ar−[2,5(Sa−Sст)d + 0,375 Sкd]·(1−Wr/100),
где S, Sст и Sк – содержание серы в лабораторной золе, сульфатной серы в топливе и колчеданной серы соответственно.
Горючими элементами топлива, как уже отмечалось, являются углерод, водород и сера. При полном сгорании с теоретически необходимым количеством окислителя эти компоненты выделяют разное количество теплоты:
С + О2 = CO2 − 8130 ккал/кг (34,04 МДж/кг);
2Н2 + O2 = 2Н2O − 29 100 ккал/кг (121,8 МДж/кг);
S + O2 = SO2 − 2600 ккал/кг (10,88 МДж/кг).
Следует учитывать, что углерод составляет большую часть рабочей массы топлива: в твердом топливе его доля равна 50–75 % (в зависимости от возраста углей), а в мазутах – 83–85 %. Водорода в топливе меньше, но он отличается очень высокой теплотой сгорания. Если продукты его сгорания сконденсировать (то есть учитывать не низшую, а высшую теплоту сгорания), выделенная теплота составит даже не 121,8, а 144,4 МДж/кг.