

Средства преодоления водных преград
Книга 2. Советская Армия
Олег Дерябин
© Олег Дерябин, 2023
ISBN 978-5-0060-1041-3 (т. 2)
ISBN 978-5-0055-1168-3
Создано в интеллектуальной издательской системе Ridero
Первые послевоенные годы развитие средств преодоления водных преград шло по пути модернизации существующего хорошо зарекомендовавшего себя парка ТМП и создание новых на основе этого парка, так были приняты на вооружение тяжелый понтонный парк ТПП и легкий понтонный парк ЛПП. Легкие переправочные средства были заменены однотипными штурмовыми лодками, в мостостроительных средствах и самоходных переправочно-десантных средствах дослуживали свой век дизель-молоты военного периода и плавающие автомобили поставленные по ленд-лизу.
Но, уже в это время шла работа по созданию кардинально новых средств преодоления водных преград. В это время взошла звезда конструктора Юрия Николаевича Глазунова, создавшего новый революционный понтонный парк определивший дальнейшее развитие всего переправочного дела. На основе созданного им парка ПМП, который еще не списан на пенсию, создаются новые парки не только в нашей стране, но и недружественных нам государствах.
В это же время талантливый конструктор Анатолий Федорович Кравцев создавал новые машины для форсирования водных преград, которые вошли в переправочно-десантные подразделения Советской Армии. Были приняты на вооружение плавающие транспортеры К-61, ПТС (ПТС-М) и гусеничные самоходные паромы ГСП. Массово начал поступать в войска созданный под его руководством танковый мостоукладчик МТУ. На основе компоновки опытного колесного мостоукладчика К-95, уже другими конструкторами были созданы и приняты на вооружение целый ряд колесных механизированных мостов (КММ, ТММ, ТММ-3).
Не отставали мостостроители, так на вооружении появились средства для строительства мостов из «подручных средств» которых нет до настоящего времени ни в одной армии, это КМС (КМС-Э) и УСМ.
После войны технический прогресс просто ворвался в инженерные войска, как говорил мой отец ветеран инженерных войск Дерябин Валентин Анатольевич: "Мы в то время были просто «заражены» техникой и стремились изучить ее всю".

Военные наплавные мосты и паромы
Понтонные парки довоенного и военного периода в основном имели понтоны открытого типа. С такими понтонами с Красной Армией до Берлина дошел лучший для своего времени тяжелый понтонный парк Н2П, который позволял переправлять все грузы армии, включая железнодорожные. В армиях противников конкуренту парка Н2П не было, однотипный немецкий парк «Type В» не мог переправлять свои тяжелые танки, а к концу войны и средние, для этого использовался тяжелый Крупповский парк «Type J» или доставшийся от чехословацкой и австрийской армии парк «Type Н» относящиеся к специальным паркам, аналогичные нашему СП-19.
Первым парком с закрытыми металлическими понтонами был ТМП (тяжелый мостовой парк), который с 1942 года начал поступать в войска. Задание на его разработку, параллельно с выпуском и модернизацией Н2П, было выдано из-за низкой живучести парков с открытыми понтонами при значительном волнении на водной преграде и обстреле. Этот парк послужил еще и в послевоенной Советской Армии.
После войны были созданы схожие с ТМП парки ТПП (тяжелый понтонный парк) и ЛПП (легкий понтонный парк), однако у них была в разы уменьшена трудоемкость работ по сборке паромов и мостов из-за блочной конструкции понтонов и верхнего строения, а так же уменьшения времени на разгрузку и погрузку понтонов. Но, несмотря на это жизнь ТПП и ЛПП в Советской Армии продлилась одно десятилетие, не считая времени нахождения на хранении и на вооружении других стран. Завершали свою службу они и в народном хозяйстве.
На пятки им уже наступал совершенно новый понтонно-мостовой парк ПМП, парк целой эпохи, созданный Юрием Николаевичем Глазуновым, который определил направление всего переправочного дела на несколько десятилетий вперед как у нас, так и за рубежом.

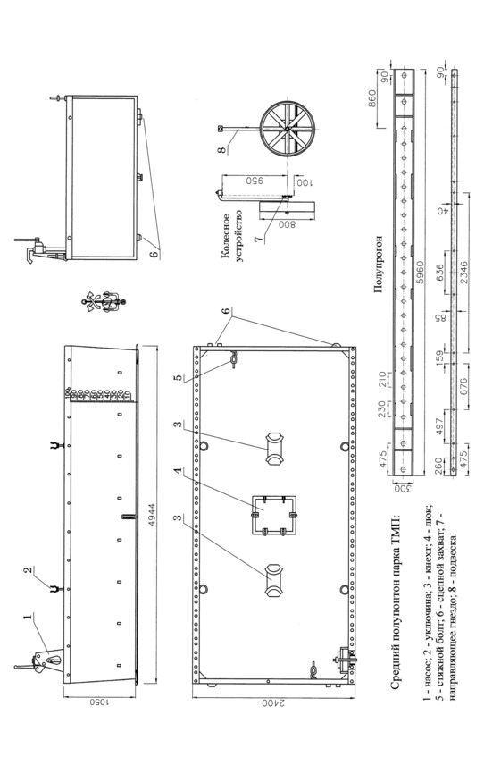
ТМП тяжелый понтонный парк
С окончанием Великой Отечественной войны постепенно демобилизовались и понтонные парки, из ветеранов дольше всех продержался тяжелый понтонный парк ТМП, подвергшийся небольшой модернизации. Потом он стал базой и для проектирования первого послевоенного тяжелого понтонного парка ТПП.

Разработка парка ТМП началась еще до войны на заводе №342 Наркомсудпрома СССР (Навашинский судостроительный завод) совместно с заводами №112 (Красное Сормово) и №300, а задание на изготовление нового понтонного парка было получено 31 июня 1941 года. В 1942 году на Навашинском заводе было изготовлено полтора комплекта парка, затем три с половиной комплекта в 1943 году, три комплекта в 1944 году и неполные два (1,75) в 1945 году. При изготовлении парка использовались технологии хорошо освоенного заводом парка Н2П. Всего в войска было поставлено 10 полковых комплектов понтонного парка. Первый комплект парка поступил в 8 тяжелый понтонно-мостовой полк на Донской фронт, где он был впервые применен в сентябре 1942 года в полосе 62 армии под Сталинградом.
ТМП по мере поступления на вооружение парков ТПП, были переданы в отдельные инженерно-саперные батальоны дивизий в ГСВГ и на вооружение Национальной народной армии ГДР. В ННА полупонтоны парка перевозились на автомобилях IFA G5.
Отличительной чертой в наименовании имущества было то, что ТМП был последним парком, где были полупонтоны и полупрогоны, в парке ТПП сменилось наименование и полупонтоны стали называться понтонами, а полупрогоны – прогонами, хотя внешне они мало отличались.
Внешние отличия понтонов ТМП от ТПП:
– полупонтон без гофр (за исключением понтоны ТПП первых серий);
– люк на палубе один и находится посередине полупонтона (на понтоне ТПП их два и расположены по краям);
– наличие ручного насоса (по левому борту со стороны транцевой переборки полупонтона);
– бортовые и кормовые уключины для весел (съемные);
– на палубе нет балок для опирания прогонов (на понтоне ТПП их две);
– нет рымных пуговиц;
– на носу носового полупонтона установлен браншпиль.
НАЗНАЧЕНИЕ И ОРГАНИЗАЦИЯ ПАРКА ТМП
Тяжелый понтонно-мостовой парк ТМП являлся табельным переправочным средством и обеспечивал оборудование мостовых и паромных переправ под грузы до 100 тонн, на реках со скоростью течения до 3 м/с. Из имущества парка собирались наплавные мосты грузоподъемностью 16, 50, 60, 100 тонн и перевозные паромы грузоподъемностью 16, 20, 30, 50, 70 и 100 тонн. Мосты грузоподъемностью 100 тонн были двухпутными, грузы весом свыше 50 т двигались по мосту только в одном направлении. В парке ТМП обр. 1952 г. собирались мосты грузоподъемностью 16, 50, 70 тонн и паромы 16, 35, 50 и 70 тонн..
Организационно парк делился на две части, каждая из которых содержалась парковой ротой, которая занималась хранением, обслуживанием и перевозкой имущества парка. Оборудованием и содержанием мостовых переправ из имущества парковой роты занимались три понтонные роты. Первоначально парк состоял на вооружении тяжелых понтонно-мостовых полков, затем побатальонно в составе некоторых понтонно-мостовых бригад совместно с парком Н2П.
После войны имущество парков было передано в переправочно-десантные роты отдельных инженерно-саперных батальонов дивизий. Рота состояла из трех взводов: плавающих машин, понтонного и автомобильного. Во взводе плавающих машин шесть плавающих автомобилей БАВ и шесть плавающих транспортеров К-61, в понтонном взводе только понтонеры для оборудования переправ. Автомобильный взвод занимался перевозкой и обслуживанием имущества парка ТМП, в нем было четверть парка (18 понтонных автомобилей, 2 настилочных автомобиля, 1 автомобиль с рамной опорой, 1 автомобиль с барабанной опорой, 2 буксирно-моторных катера, 1 автокран). Силами роты организовывалась десантная переправа на плавающих автомобилях и транспортерах и паромная переправа из двух 50-тонных перевозных паромов.
ХАРАКТЕРИСТИКА ПАРКА ТМП
Водоизмещение носового и среднего полупонтонов составляло 9 т, при осадке 75 см. Два полупонтона образовывали одинарный понтон, три – полуторный, четыре – двойной понтон. В модернизированном парке 1952 года схемы собираемых паромов и мостов отличались от парка военного периода.
Характеристика полупонтонов
Носовой полупонтон:
– вес – 1100 кг;
– длина – 5974 мм;
– ширина – 2400 мм;
– высота – 1050 мм.
Средний полупонтон:
– вес – 1100 кг;
– длина – 4944 мм;
– ширина – 2400 мм;
– высота – 1050 мм.
Характеристика паромов собираемых из ТМП обр. 1942 г.
Одинарный паром 16-т моста:
– грузоподъемность – 16 т;

– количество паромов собираемых из всего парка – 18;
– количество паромов собираемых из половины парка – 9;
– состав расчета на сборку парома – 24 понтонера и 3 ком. отд.;
– время сборки парома – 25—30 мин;
– количество пристаней из всего парка – 8;
– количество пристаней из половины парка – 4;
– расчет на сборку пристани – 16 понтонеров и 2 ком. отд.
Одинарный паром 50-т моста:
– грузоподъемность – 20 т;
– количество паромов собираемых из всего парка – 18;
– количество паромов собираемых из половины парка – 9;
– состав расчета на сборку парома – 24 понтонера и 3 ком. отд.;
– время сборки парома – 20—25 мин;
– количество пристаней из всего парка – 8;
– количество пристаней из половины парка – 4;
– расчет на сборку пристани – 16 понтонеров и 2 ком. отд.
Полуторный паром 50-т моста:
– грузоподъемность – 30 т;
– количество паромов собираемых из всего парка – 12;
– количество паромов собираемых из половины парка – 6;
– состав расчета на сборку парома – 40 понтонеров и 5 ком. отд.;
– время сборки парома – 25—30 мин;
– количество пристаней из всего парка – 8;
– количество пристаней из половины парка – 4;
– расчет на сборку пристани – 16 понтонеров и 2 ком. отд.
Одинарный паром 60-т моста:
– грузоподъемность – 30 т;
– количество паромов собираемых из всего парка – 12;
– количество паромов собираемых из половины парка – 6;
– состав расчета на сборку парома – 32 понтонера и 4 ком. отд.;
– время сборки парома – 20—25 мин;
– количество пристаней из всего парка – 8;
– количество пристаней из половины парка – 4;
– расчет на сборку пристани – 16 понтонеров и 2 ком. отд.
Полуторный паром 60-т моста:
– грузоподъемность – 50 т;
– количество паромов собираемых из всего парка – 8;
– количество паромов собираемых из половины парка – 4;
– состав расчета на сборку парома – 48 понтонеров и 6 ком. отд.;
– время сборки парома – 25—30 мин;
– количество пристаней из всего парка – 6;
– количество пристаней из половины парка – 3;
– расчет на сборку пристани – 16 понтонеров и 2 ком. отд.
Одинарный паром 100-т моста:
– грузоподъемность – 50 т;
– количество паромов собираемых из всего парка – 8;
– количество паромов собираемых из половины парка – 4;
– состав расчета на сборку парома – 48 понтонеров и 6 ком. отд.;
– время сборки парома – 30—35 мин;
– количество пристаней из всего парка – 3;
– количество пристаней из половины парка – 1;
– расчет на сборку пристани – 32 понтонера и 4 ком. отд.
Полуторный паром 100-т моста:
– грузоподъемность – 70 т;
– количество паромов собираемых из всего парка – 6;
– количество паромов собираемых из половины парка – 3;
– состав расчета на сборку парома – 72 понтонера и 9 ком. отд.;
– время сборки парома – 40—45 мин;
– количество пристаней из всего парка – 3;
– количество пристаней из половины парка – 1;
– расчет на сборку пристани – 32 понтонера и 4 ком. отд.
Перевозной 100-т паром:
– грузоподъемность – 100 т;
– количество паромов собираемых из всего парка – 3;
– количество паромов собираемых из половины парка – 1;
– состав расчета на сборку парома – 80 понт. и 10 ком. отд.;
– время сборки парома – 50—60 мин;
– количество пристаней из всего парка – 3;
– количество пристаней из половины парка – 1;
– расчет на сборку пристани – 32 понтонера и 4 ком. отд.
Характеристика мостов парка ТМП обр. 1942 г.
Однопутный 16-тонный:
– ширина проезжей части – 3.2 м;
– предельный общий вес переправляемого груза – 16 т;
– предельное давление на ось колесных грузов – 7 т;
– общая длина моста из парка – 445 м (напл. часть 371 м);
– общая длина моста из половины парка – 218 м (наплавная часть 191 м);
– состав на сборку моста – 648 понтонеров и 81 ком. отд.;
– время наводки моста – 4—5 часов.
Однопутный 50-тонный:
– ширина проезжей части – 4.0 м;
– предельный общий вес переправляемого груза – 50 т;
– предельное давление на ось колесных грузов – 15 т;
– общая длина моста из парка – 223 м (напл. часть 186 м);
– общая длина моста из половины парка – 105 м (наплавная часть 96 м);
– состав на сборку моста – 552 понтонера и 69 ком. отд.;
– время наводки моста – 3—4 часа.
Однопутный 60-тонный:
– ширина проезжей части – 4.0 м;
– предельный общий вес переправляемого груза – 60 т;
– предельное давление на ось колесных грузов – 15 т;
– общая длина моста из всего парка – 199 м (наплавная часть 126 м);
– общая длина моста из половины парка – 100 м (наплавная часть 66 м);
– состав на сборку моста – 576 понтонеров и 72 ком. отд.;
– время наводки моста – 3—4 часа.
Двухпутный 100-тонный:
– ширина проезжей части – 2 по 4.0 м;
– предельный общий вес переправляемого груза – 100 т;
– предельное давление на ось колесных грузов – 15 т;
– общая длина моста из парка – 109 м (наплавная часть 91 м);
– общая длина моста из половины парка – 54 м (наплавная часть 46 м);
– состав на сборку моста – 538 понтонеров и 66 ком. отд.;
– время наводки моста – 3—4 часа.
СОСТАВ МАТЕРИАЛЬНОЙ ЧАСТИ ПАРКА ТМП
Материальная часть парка делилась на:
– понтонное имущество;
– верхнее строение;
– козловые опоры;
– имущество береговых и переходных частей;
– паромные принадлежности;
– вспомогательные принадлежности;
– катера.
Основное имущество парка включало: 36 носовых и 36 средних полупонтонов; 462 полупрогона с зажимными болтами; 500 настилочных щитов; 20 настилочных досок; 66 связных щита; 90 пажилин; 360 перильных стоек; 672 стрингерных болта; 4 комплекта рамной опоры; 8 береговых лежней и 32 анкера; 8 аппарельных устройств; 2 лодки ЛГ-12; 2 лодки ЛМН; 72 спасательных нагрудника.
В комплекте парка имелось: 6 буксирно-моторных катеров БМК-70 и 2 разведывательных катера НКЛ-27.
Некоторое вспомогательное имущество было заимствовано из тяжелого понтонного парка Н2П.
Перечень и характеристики отдельных элементов парка ТМП
(вес, кг × длина, мм × ширина, мм × высота, мм)
Понтонное имущество:
– полупонтон носовой – 1100×5974×2400×1050
– полупонтон средний – 1100×4944×2400×1050
– стяжной болт – 1×223×-×23
– браншпиль в сборе – 39×428×270×340
– весло – 6×3600×140×100
– уключина кормовая – 1×208×106×30
– уключина бортовая – 1×330×85×38
– багор – 3,6×3000×750×50
– якорь легкий – 75×1182×910×215
– якорь тяжелый – 125×1400×330×252
– насос ручной в сборе – 24×850×330×-
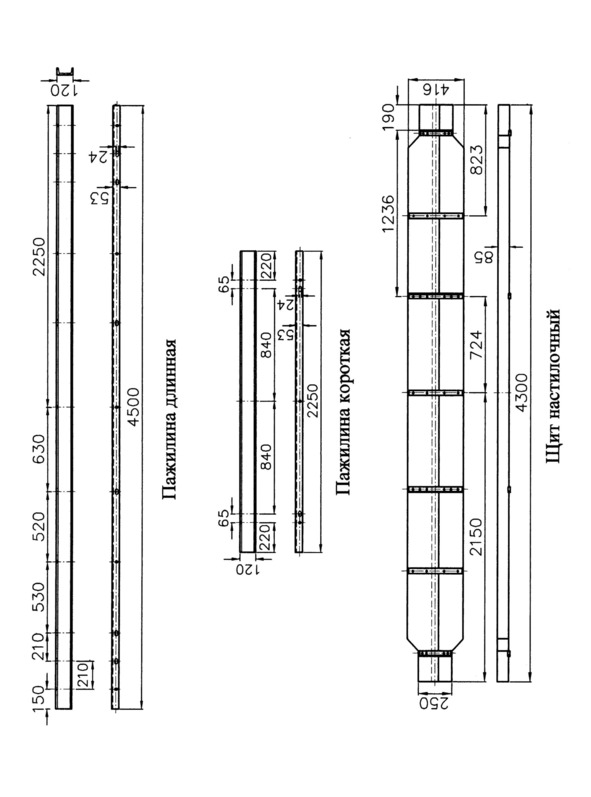
Верхнее строение:
– полупрогон – 220×5960×85×300
– болт зажимной – 2×140×105×72
– болт стрингерный – 0,8×140×-×24
– распорка короткая – 10×398×156×230
– распорка длинная – 15×810×156×230
– распорка специальная – 15×825×156×230
– щит связной – 108×4300×416×85
– щит настилочный – 85×4300×416×85
– доска настилочная – 40×4300×200×85
– пажилина длинная – 55×4500×55×120
– болт пажильный – 1,5×410×-×20
– стойка перильная – 2×1080×-×27
Козловые опоры:
– ригель – 426×4890×240×570
– труба верхняя – 52×1590×162×134
– труба нижняя – 50×1490×134×106
– шпора – 100×1500×1080×200
– палец запорный – 3.5×280×-×50
– стойка съемная – 26×1340×162×134
– палец кронштейна – 1×280×-×50
Имущество береговых и переходных частей:
– лежень береговой – 102×4700×236×180
– анкер – 12×1100×2200×65
– болт анкерный – 3×1200×-×20
– трос анкерный – 3×3500×-×14
– стяжка анкерная – 8×850×-×63
– крюк анкерный – 1×134×80×50
– балка анкерная – 60×2725×120×260
– пажилина короткая – 26×2250×55×120
Паромные принадлежности:
– аппарель – 250×3400×750×472
– нога аппарельная – 80×1350×500×1185
– кронштейн аппарели – 25×940×75×224
– труба соединительная – 25×960×100×100
– рычаг съемный – 12×2000×65×45
– кронштейн пристани – 41×1295×128×620
МАТЕРИАЛЬНАЯ ЧАСТЬ ПАРКА ТМП
Носовой полупонтон представлял собой стальную коробку с лыжеобразным носовым обводом. Сверху полупонтона была сплошная водонепроницаемая палуба. Полупонтон состоял из каркаса и обшивки из листовой стали, каркас образовывался из ряда поперечных рам (шпангоутов), верхних обвязок (стрингеров), нижних продольных скуловых уголков и поперечного набора (бимсов) под палубой, подкрепленного стойками (пиллерсами).
Обшивка изготавливалась из стали и имела такую же толщину, что и в парке Н2П – 1,5 мм, толщина палубы была 1 мм.
На палубе полупонтона имелся люк с водонепроницаемой крышкой, сварной кнехт для закрепления якорного и буксирного каната, фундамент под съемный брашпиль.
Для смыкания полупонтонов на кормовой переборке имелось два сцепных захвата внизу и два отверстия вверху с втулками, в которые вставлялись стяжные болты.




Средний полупонтон был без носового обвода и имел квадратное сечение и отличался количеством отверстий на стрингерах.
Брашпиль использовался для выбирания якорных канатов, притягивания паромов к пристани и удержания парома при погрузке и выгрузке.
Для перекатывания полупонтонов использовалось 36 колесных устройств состоящих из колес и подвесок. Колесное устройство крепилось к полупонтону с помощью ползуна, который вводился в специальное гнездо полупонтона. Также в комплекте парка имелось 12 тележек для перевозки элементов парка.
Прогоны входили в верхнее строение и служили для перекрытия пролетов в мостах, паромах и пристанях. Между собой прогоны соединялись зажимными болтами, к понтонам, рамным ригелям, береговым лежням и связным щитам прогоны крепились стрингерными болтами. Связные щиты служили поперечной связью и предохраняли прогоны от скручивания. Настилочные щиты образовывали проезжую часть. Пажилины предназначались для закрепления настила и являлись колесоотбоями.
Для устройства пристаней использовалась рамная (козловая) опора, которая состояла из ригеля, двух стоек и двух подъемников с кронштейнами и предназначалась для устройства береговых пролетов на мелководье а также пристаней. Барабанная опора в основном использовалась для устройства пристаней. Береговой лежень предназначался для устройства береговой опоры.
Аппарельное устройство предназначалось для погрузки и выгрузки паромов без использования пристаней, оно имело грузоподъемность 60 тонн. Аппарельное устройство состояло из аппарели, ноги, кронштейна, трубы и съемного рычага. В парках ТМП поздних выпусков аппарельное устройство отсутствовало, но было включено 4 барабанные опоры.
ПЕРЕВОЗКА ПАРКА ТМП
Перевозка парка осуществлялась на 108 автомобилями (102 трехтонных и 6 пятитонных). Для перевозки парка требовалось переоборудование силами войск 72 трехтонных автомобилей, остальным переоборудование не требовалось. При оборудовании автомобиля кузов снимался, вместо него устанавливалась рама. Часть имущества укладывалась в полупонтоны.
Также парк перевозился на трехтонных прицепах с использованием тракторов. Прицепы оборудовались как в заводских условиях, так и силами войск. Прицепы изготовленные на заводах имели металлическую раму и крепления для понтонного имущества парка. Для перевозки на прицепах оборудованных в заводских условиях требовалось 36 тракторов и 98 прицепов, при перевозке на прицепах оборудованных в войсках количество тракторов увеличивалось до сорока тракторов и до 108 прицепов. Из прицепов формировалось 36поездов по 3 прицепа, из них 24 понтонных поездов, 6 поездов для перевозки прогонного и паромного имущества с разведывательными катерами НКЛ-27, 2 поезда с береговым имуществом и буксирно-моторными катерами и 4 поезда по два прицепа с дополнительным имуществом, цистернами и катерами.
После войны парк перевозился 100 автомобилями ЗиС-151 (ЗиС-150). Для перевозки полупонтонов, прогонов и настила предназначалось 72 понтонных автомобиля. Перевозка рамных и береговых опор для устройства береговых опор осуществлялась на 4 автомобилях. Для барабанных и береговых опор также выделялось 4 автомобиля. Настилочные щиты и пажилины перевозило 12 автомобилей. Для перевозки катеров и навесных моторов выделялось 8 автомобилей. Все автомобили так же оборудовались силами войск. На понтонном автомобиле снимались борта и вдоль платформы прибивалось две ограничительные рейки, для предотвращения смещения полупонтона. Для крепления полупонтона изготавливались подкладочные и прижимные брусья, и тяги состоящие из запажильного болта и крюка.
Материальная часть была распределена с расчетом, чтобы из элементов перевозимых на четырех понтонных автомобилях, можно было собрать один 50-т мостовой паром.
Количество элементов перевозимое на понтонном автомобиле
(72 понтонных автомобиля)
– полупонтон носовой (средний) – 1;
– болты стяжные Н2П – 4;
– ломики понтонные – 1;
– весла Н2П – 5;
– уключины ТМП – 5;
– уключины Н2П – 1;
– багры Н2П – 1;
– якоря 100 кг – 1 (на носовом);
– канаты якорные окружностью 76 мм и длиной 85 м – 1;



– круги спасательные – 1;
– веревки бросательные – 1;
– кронштейны якорные – 1 (на носовом);
– браншпили в сборе – 1 (на носовом);
– насосы с кронштейнами – 1 (на носовом);
– черпаки Н2П – 1;
– пробки прострельные Н2П – 5;
– кранцы Н2П – 1.
– полупрогоны с зажимными болтами – 6 на носовом и 5 на среднем;
– болты зажимные (отдельно) – 4;
– болты стрингерные – 11;
– щиты настилочные – 5 (на среднем);
– стойки перильные – 4;
– распорки длинные – 2;
– распорки короткие – 1;
– ведра – 1 (на среднем);
– канаты вспомогательные окружностью 38 мм и длиной 20 м – 2;
– нагрудники спасательные – 1;
– скобы для стыкования прогонов – 1;
– сумки для уключин и болтов – 1;
– фонари аккумуляторные – 1 (на носовом);
– фонари сигнальные КСФ – 2;
– штропы длинные 4.5 м – 4;
– штропы короткие 2.5 м – 4
Количество элементов перевозимое на настилочном автомобиле
(12 настилочных автомобилей)
– щиты настилочные – 20;
– щиты связные – 3;
– доски настилочные – 1;
– пажилины – 6;
– канаты вспомогательные окр. 38 мм и длиной 20 м – 2;