
За рубежом парк ТПП состоял на вооружении в армиях ГДР, Польши, Венгрии, Вьетнама, Египта, Финляндии. В армии Китая парк состоит на вооружении до настоящего времени под названием Тип 62.
В Советской Армии носовой понтон парка послужил основой для комплекта мостостроительных средств КМС (КМС-Э). Ну и списанные понтоны еще долго можно было встретить в частях инженерных войск в качестве внештатных пожарных машин и оборудования мест для купания личного состава. Единственный понтонный автомобиль ЗиС-151 с носовым понтоном был утрачен в Ленинградском военно-историческом музее артиллерии, инженерных войск и войск связи еще в 70-е годы прошлого столетия.
НАЗНАЧЕНИЕ И ОРГАНИЗАЦИЯ ПАРКА ТПП
Тяжелый понтонный парк ТПП являлся штатным переправочным средством инженерных войск, обеспечивающим оборудование мостовых и паромных переправ для пропуска всех войсковых грузов.



Парк предназначен для устройства мостовых и паромных переправ грузоподъемностью 16, 50 и 70 тонн.
Понтонный парк ТПП полного состава содержался и обслуживался понтонным полком, половина парка – понтонным батальоном и четверть парка – понтонной ротой.
В переправочно-десантной роте отдельного инженерно-саперного батальона дивизии содержалось 1/4 парка ТПП и 3 буксирно-моторных катера.
ХАРАКТЕРИСТИКА ПАРКА ТПП
Характеристика понтонов
Носовой понтон:
– вес – 1051 кг;
– длина – 5.97 м;
– ширина – 2.4 м;
– высота – 1.15 м.
Средний понтон:
– вес – 998 кг;
– длина – 4.94 кг;
– ширина – 2.4 м;
– высота – 1.15 м.
Характеристика паромов собираемых из ТПП
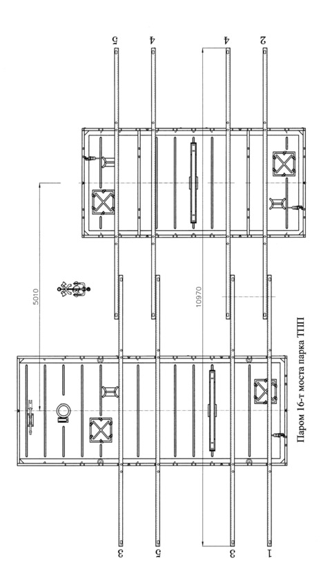
Паром 50-т моста:
– грузоподъемность при скорости течения до 2 м/с – 16 т;
– грузоподъемность при скорости течения более 2 м/с – 12 т;
– длина парома по настилу – 11 м;
– количество паромов собираемых из всего парка – 24;
– количество паромов собираемых из половины парка – 12;
– количество паромов собираемых из четверти парка – 6;
– расчет на сборку парома – 16 понтонеров и 2 ком. отд.;
– время сборки парома – 20—25 мин.
Паром полуторный 50-т моста:
– грузоподъемность при скорости течения до 2 м/с – 35 т;
– грузоподъемность при скорости течения более 2 м/с – 20 т;
– длина парома по настилу – 16 м;
– количество паромов собираемых из всего парка – 16;
– количество паромов собираемых из половины парка – 8;
– количество паромов собираемых из четверти парка – 4;
– расчет на сборку парома – 24 понтонера и 3 ком. отд.;
– время сборки парома – 25—30 мин.
Паром двойной 70-т моста:
– грузоподъемность при скорости течения до 2 м/с – 50 т;
– грузоподъемность при скорости течения более 2 м/с – 35 т;
– длина парома по настилу – 17 м;
– количество паромов собираемых из всего парка – 12;
– количество паромов собираемых из половины парка – 6;
– количество паромов собираемых из четверти парка – 3;
– расчет на сборку парома – 32 понтонера и 4 ком. отд.;
– время сборки парома – 30—35 мин.
Паром тройной 70-т моста:
– грузоподъемность при скорости течения до 2 м/с – 70 т;
– длина парома по настилу – 24.5 м;
– количество паромов собираемых из всего парка – 8;
– количество паромов собираемых из половины парка – 4;
– количество паромов собираемых из четверти парка – 2;
– расчет на сборку парома – 48 понтонеров и 6 ком. отд.;
– время сборки парома – 35 мин.
Паром перевозной большой площади:
– грузоподъемность при скорости течения до 2 м/с – 50 т;
– грузоподъемность при скорости течения более 2 м/с – 35 т;
– длина парома по настилу – 16 м;
– количество паромов собираемых из всего парка – 10;
– количество паромов собираемых из половины парка – 5;
– количество паромов собираемых из четверти парка – 2;
– расчет на сборку парома – 36 понтонеров и 3 ком. отд.;
– время сборки парома – 35—40 мин.
Паром перевозной 50-т специальный:
– грузоподъемность при скорости течения более 2 м/с – 50 т;
– длина парома по настилу – 16 м;
– количество паромов собираемых из всего парка – 10;
– количество паромов собираемых из половины парка – 5;
– количество паромов собираемых из четверти парка – 2;
– расчет на сборку парома – 36 понтонеров и 3 ком. отд.;
– время сборки парома – 35 мин.
Паром перевозной 50-70-т большой площади:
– грузоподъемность при скорости течения более 2 м/с – 50—70 т;
– длина парома по настилу – 16 м;
– количество паромов собираемых из всего парка – 8;
– количество паромов собираемых из половины парка – 4;
– количество паромов собираемых из четверти парка —2;
– расчет на сборку парома – 48 понтонеров и 3 ком. отд.;
– время сборки парома – 40 мин.
Паром перевозной 70-т специальный:
– грузоподъемность при скорости течения более 2 м/с – 70 т;
– длина парома по настилу – 16 м;
– количество паромов собираемых из всего парка – 8;
– количество паромов собираемых из половины парка – 4;
– количество паромов собираемых из четверти парка – 2;
– расчет на сборку парома – 48 понтонеров и 3 ком. отд.;
– время сборки парома – 35 мин.
Пристань на катковой опоре:
– грузоподъемность при скорости течения до 2 м/с – 50 т;
– грузоподъемность при скорости течения более 2 м/с – 50 т;
– длина парома по настилу – 6 м;
– количество паромов собираемых из всего парка – 4;
– количество паромов собираемых из половины парка —2;
– количество паромов собираемых из четверти парка – 1;
– расчет на сборку парома – 12 понтонеров и 1 ком. отд.;
– время сборки парома – 20 мин.
Характеристика мостов парка ТПП
При скорости течения до 1.5 м/с.
Мост 16-тонный:
– грузоподъемность -16 т;
– предельное давление на ось – 7 т;
– ширина проезжей части – 3.2 м;
– длина моста из всего парк общая – 335 м (наплавная 331 м);
– длина моста из полупарка общая – 163 м (наплавная 151 м);
– длина моста из четверти парка общая – 77 м (наплавная 66 м);
– расчет для сборки моста – 336 понтонеров и 48 ком. отд.;
– время сборки моста – 2.5 ч.
Мост 50-тонный:
– грузоподъемность -50 т;
– предельное давление на ось – 15 т;
– ширина проезжей части – 4.0 м;
– длина моста из всего парк общая – 265 м (наплавная 241 м);
– длина моста из полупарка общая – 133 м (наплавная 121 м);
– длина моста из четверти парка общая – 73 м (наплавная 61 м);
– расчет для сборки моста – 336 понтонеров и 48 ком. отд.;
– время сборки моста – 2 ч.
Мост 70-тонный:
– грузоподъемность -70 т;
– предельное давление на ось – 15 т;
– ширина проезжей части – 4.0 м;
– длина моста из всего парк общая – 205 м (наплавная 181 м);
– длина моста из полупарка общая – 103 м (наплавная 91 м);
– длина моста из четверти парка общая – 58 м (наплавная 46 м);
– расчет для сборки моста – 336 понтонеров и 48 ком. отд.;
– время сборки моста – 2.5 ч.
При скорости течения свыше 1.5 м/с.
Мост 50-тонный:
– грузоподъемность -35 т;
– предельное давление на ось – 15 т;
– ширина проезжей части – 4.0 м;
– длина моста из всего парк общая – 265 м (наплавная 241 м);
– длина моста из полупарка общая – 133 м (наплавная 121 м);
– длина моста из четверти парка общая – 73 м (наплавная 61 м);
– расчет для сборки моста – 336 понтонеров и 48 ком. отд.;
– время сборки моста – 2.5 ч.
Мост 50-70-тонный специальный:
– грузоподъемность -50-70 т;
– предельное давление на ось – 15 т;
– ширина проезжей части – 4.0 м;
– длина моста из всего парк общая – 185 м (наплавная 161 м);
– длина моста из полупарка общая – 93 м (наплавная 81 м);
– длина моста из четверти парка общая – 53 м (наплавная 41 м);
– расчет для сборки моста – 336 понтонеров и 48 ком. отд.;
– время сборки моста – 3 ч.
Мост 16-тонный специальный:
– грузоподъемность -16 т;
– предельное давление на ось – 7 т;
– ширина проезжей части – 3.2 м;
– длина моста из всего парк общая – 333 м (наплавная 309 м);
– длина моста из полупарка общая – 148 м (наплавная 136 м);
– длина моста из четверти парка общая – 77 м (наплавная 5 м);
– расчет для сборки моста – 336 понтонеров и 48 ком. отд.;
– время сборки моста – 4 ч.
СОСТАВ МАТЕРИАЛЬНОЙ ЧАСТИ ПАРКА ТПП
Материальная часть тяжелого понтонного парка делилась на:
– группу понтона;
– группу пролетного строения;
– группу жестких опор (рамные и катковые);
– группу береговых частей и паромных принадлежностей;
– группу вспомогательных средств;
– группу моторных средств.
Группа понтона обеспечивала устройство плавучих опор, которые состояли из одного, двух, трех или четырех понтонов. В материальной части парка были изменены названия по сравнению с прежними парками, так раньше было деление на полупонтоны и полупрогоны, в парке ТПП назвали – понтоны и прогоны.
Основное имущество парка включало:48 носовых понтонов; 48 средних понтонов; 192 короткие распорки; 240 длинных распорок; 32 специальные распорки; 768 настилочных щитов; 96 настилочных досок; 112 пажилин длинных; 4 рамные опоры; 4 катковые опоры; 8 береговых лежней; 12 буксирно-моторных катеров.
Перечень и характеристики отдельных элементов парка ТПП
(вес, кг × длина, мм × ширина, мм × высота, мм)
Группа понтона:
– понтон носовой – 1051×5997×2400×1150
– понтон средний – 988×4944×2400×1150
– турникет – 34×1768×136×222
– прижимная балка – 23×1600×124×120
– стяжной болт – 1×223×40
– шпиль – 19ר304×355
– весло – 5.8×3600×140×100
– уключина бортовая – 1.1×330×106×36
– уключина кормовая – 0.8×208×106×36
– багор – 3.6×3000×85ר50
– якорь легкий – 75×1182×765×215
– якорь тяжелый – 125×1400×910×252
– насос ручной – 5.2×1480×340ר70
Группа пролетного строения:
– прогон – 209×5960×85×300
– болт зажимной – 3×240ר70
– болт стрингерный – 0.6×142×40
– распорка короткая – 8.8×398×156×230
– распорка длинная – 13.5×810×156×230
– распорка специальная – 15.1×825×186×256
– щит настилочный – 88×4300×415×75
– доска настилочная – 35.2×4300×200×75
– пажилина длинная – 54.8×4500×120×53
– болт пажильный – 1.6×410×40
– стойка перильная – 1.9×100ר27
– лом прогонный – 6.7×1300×260ר28
– ломик – 1.2×410×160ר20
Рамная опора (группа жестких опор):
– ригель – 326.5×5028×196×476
– стойка рамная – 72×3400ר168
– штырь стойки – 2.2×290ר39
– шпора – 75ר1200
– штырь шпоры – 1.5×290ר25
– захват – 2×250×210
Катковая опора (группа жестких опор):
– каток – 243×2120×-×1040
– перекладина катка – 272×2592×1025×644
– штырь перекладины – 1×205ר30
– стойка перекладины – 51×868×248×130
– штырь стойки – 0.5×270ר16
– стойка подъемная – 11.2×1150×150×100
– обойма – 1.9×170×130×54
– дышло – 60×1673×820×210
Группа береговых частей и паромных принадлежностей:
– лежень береговой – 119.3×4700×400×120
– анкер – 22.8×1100×260×85
– балка аппарельная – 58×2768×300×80
– пажилина короткая – 27.4×2250×120×53
– сходня – 81.8×2000×650×96
Группа вспомогательных средств:
– грузовая стрела – 150×4000×820
– таль ручная – 21.7×665×143×177
– пресс прогонов – 150×2000×750×820
Группа моторных средств:
– БМК-90 (буксирно-моторный катер) – 2450×7830×2100×1500
МАТЕРИАЛЬНАЯ ЧАСТЬ ПАРКА ТПП
Понтоны первой серии, выпущенные до 1953 года, были с набором аналогичным парку ТМП и толщиной обшивки 1—1.5 мм, далее поперечный набор заменили гофрами. Замена поперечного набора гофрами позволила уменьшить трудоемкость изготовления понтонов, за счет сокращения сварочных работ и экономить металл, что позволило довести толщину обшивки до 2 мм без увеличения веса понтонов.
Носовой понтон представляет собой стальную сварную коробку с лыжеобразным носовым обводом. Сверху у понтона сплошная водонепроницаемая палуба. Понтон состоит из каркаса и обшивки из листовой стали толщиной 2 мм. Понтон имеет штампованные гофры которые заменяют шпангоутные рамы. Каркас образовывается из верхних продольных связок (стрингеров), нижних продольных скуловых полозьев, кормовой и носовой обвязок и внутреннего набора. На палубе, для образования понтонного блока имеется турникет для разворота прогонов и щитов.
На понтоне размещалось пружинное поворотное устройство (турникет), на котором закреплялись прогоны и настилочные щиты. Поворотное устройство обеспечивало быстро повернуть элементы пролетного строения из транспортного положения в положение позволяющее сразу производить стыковку с другими понтонными блоками. Для оси турникета в шпангоутной раме, усиленной подкосами, имелся стакан. Шпиль крепился на фундаменте в виде конуса из листового металла, закрепленного в носовой части понтона. Под палубой находился металлический ящик для мелких принадлежностей.
В комплект понтона входили три прижимные балки с болтами предназначавшиеся для крепления на понтоне прогонов и щитов.
Стыковка понтонов между собой осуществлялась с помощью сцепного устройства состоявшего из двух захватов и двух стяжных болтов. Захваты были аналогичны с парком ТМП.
Средний понтон отличался отсутствием носового обвода и элементов якорного крепления, кроме кнехтов. Средний понтон мог стыковаться с соседним любым концом понтона.







Для сохранения плавучести при повреждении обшивки было предусмотрено заполнение понтонов труднозатопляемым материалом.
Прогон изготавливался из прокатного швеллера №38а, длиной 5,96 м и весом 209 кг, этот вес считался предельным при работе с прогонами вручную.
Настилочный щит состоит из трех брусков, это позволяет изготавливать его из мелкоразмерного леса. Для защиты от износа установлены металлические решетки. Толщина защитной рамки 4 мм, вес 6 кг.
Настилочная доска служила для заполнения просветов в настиле, а так же в перевозных паромах как часть настила.
Для крепления настила служили пажилины, которые одновременно были колесоотбоями, они крепились к крайним прогонам пажильными болтами. Пажилины изготавливались из прокатного швеллера №12.
Для устройства береговых опор в пристанях и мостах использовались береговые лежни и анкерные крепления.
В парке имелось два типа жестких опор – рамные и катковые. Рамные предназначались только при оборудовании мостовых переправ в качестве промежуточных опор в береговых пролетах. Береговая часть состояла из одного или нескольких береговых пролетов, которые использовались при недостаточной глубине у берега (меньше 0.8 м) или при нехватке плавучих опор для перекрытия водной преграды.
Катковые использовались для устройства пристаней. Грузоподъемность катковой опоры составляла 50 т. Каток представлял водонепроницаемый цилиндр. Для установки катковой опоры на противоположном берегу, в собранном виде ее прикрепляли к плавающему автомобилю, так же можно было использовать буксирно-моторный катер.
ПЕРЕВОЗКА ПАРКА ТПП
Материальная часть парка ТПП перевозится на 96 понтонных автомобилях ЗиЛ-157 (ЗиС-151), 4 автомобилях ЗиЛ-157 (ЗиС-151) с береговыми пролетами на рамных опорах, 4 автомобилях ЗиЛ-157 (ЗиС-151) с пристанями на катковых опорах, 12 автомобилях ЗиЛ-157 (ЗиС-151) с настилочными щитами и вспомогательными средствами и для буксировки катеров. Грузовые платформы на шасси автомобилей устанавливались в воинских частях, куда для оказания помощи выезжали специалисты с Навашинского судостроительного завода.
Понтонный автомобиль перевозил понтонный блок, который включал понтон и верхнее строение с оснасткой, готовый для перевозки, разгрузке и погрузке, и сборке паромов на воде. На каждый понтонный блок назначался расчет из четырех понтонеров.
На двух понтонных автомобилях перевозились все элементы для сборки 5 погонных метров 50-тонного моста. Для сборки перевозных 16-т перевозного парома требовалось четыре понтонных автомобиля, 35-т – шесть, 50-т – восемь понтонных автомобилей.
Базовым автомобилем в понтонном парке был ЗиС-151, затем ЗиЛ-157. Оборудование понтонного автомобиля включало грузовую платформу, лебедку с двумя тросами и погрузочную балку. Погрузочная балка применялась при погрузке и разгрузке понтонных блоков. Остальные автомобили для перевозки имущества парка оборудовались силами войск.





Перечень имущества перевозимого на понтонном автомобиле:
– понтон – 1;
– турникет – 1;
– прогон с двумя зажимными болтами – 4;
– щит настилочный – 6;
– доска настилочная – 1;
– пажилина длинная – 1;
– весло – 2;
– багор – 1;
– прижимная балка со штырями – 1;
– прижимная балка без штырей – 2;
– распорка короткая – 2;
– распорка длинная – 2;
– якорь -1;
– канат якорный – 1;
– стойка перильная – 2;
– круг спасательный – 1;
– лом прогонный – 1;
– канат причальный – 1;
– жилет спасательный – 1;
– уключина бортовая – 2;
– уключина кормовая – 1;
– болт зажимной с гайкой – 9;
– болт стрингерный с гайкой – 12;
– болт пажильный с гайкой – 2;
– ломик – 1;
– канат перильный – 1;
– строп длинный – 3;
– строп короткий – 3.
На настилочном автомобиле перевозилось 16 настилочных щитов. На автомобилях с береговыми опорами перевозилось по одной рамной или катковой опоре.
ПЕРЕДВИЖЕНИЕ ПАРОМОВ ПО ВОДЕ
Передвижение паромов по воде осуществлялось при помощи катеров. В отличие от парка ТМП, в парке ТПП было увеличено количество катеров до 12 штук из расчета один катер на 50-т паром.
На оснащение парка состояли первые послевоенные буксирно-моторные катера БМК-90 и БМК-150, так же была внедрена в практику транспортировка паромов методом толкания, перешедшая в дальнейшем во все последующие парки, до этого паромы в отечественных парках передвигались только буксировкой катерами. Для обслуживания переправы и доставки на противоположный берег катковых опор использовались штатные плавающие автомобили БАВ, при недостатке катеров они могли использоваться для буксировки паромов.
ЭКСПЛУАТАЦИЯ ПАРКА ТПП
1. Действия расчета с материальной частью парка
В отличие от парка ТМП, понтонный автомобиль парка ТПП самостоятельно производил как разгрузку сбрасыванием понтонного блока, так и погрузку с помощью лебедки. Расстояние между понтонными автомобилями при разгрузке понтонных блоков должно было быть 7—10 м. Автомобиль подавался задним ходом к урезу воды, снимались стяжные хомуты с рымных пуговиц понтона, сбрасывался предохранительный крючок с молоточка сцепного захвата и понтонный блок сбрасывался на воду. Для работы с одним понтонным блоком назначался расчет из четырех понтонеров (половина понтонного отделения).
2. Устройство мостовых переправ
Понтонный мост состоял из наплавной и береговой части, а так же аппарельных выездов. Наплавная часть состояла из мостовых паромов, соединенных жесткими стыками. Мостовые паромы собирались из полупаромов, состоящих из 1—4 понтонных блоков, в зависимости от грузоподъемности моста. Наплавная часть вводилась в линию моста поворотом или попаромно (позвенно). Береговая часть состояла из одного или нескольких береговых пролетов.
3. Устройство паромных переправ
Перевозными паромами являлись мостовые паромы 50-т и 70-т моста (с уменьшением грузоподъемности), за исключением 50-т парома большой площади, который собирался по отдельной схеме. Нормальный 50-т перевозной паром собирался из двух 70-т мостовых паромов. Мостовой 50-т паром являлся 16-т перевозным паромом, а при добавлении третьей опоры образовывал 35-т перевозной паром. Для устройства пристаней использовались катковые опоры грузоподъемностью 50-т, а так же изготавливаемые из местных материалов пристани на клеточных и свайных опорах под грузы 70 т.




ТАБЕЛЬ ПАРКА ТПП
Группа понтона:
– понтон носовой – 48;
– понтон средний – 48;
– прижимная балка (без штырей) – 192;
– прижимная балка (со штырями) – 96;
– шпиль с двумя рукоятками – 32;
– весло – 192;
– уключина бортовая – 192;
– уключина кормовая – 72;
– багор – 96;
– якорь тяжелый – 48;
– якорь легкий – 24;
– канат якорный окр. 75—90 мм и длиной 80—85 мм – 72;
– круг спасательный – 96;
– веревка бросательная – окр. 30—35 мм и дл. 30—35 м – 96;
– насос ручной – 32;
– кранец – 96.
Группа пролетного строения:
– прогон с двумя запажильными болтами – 432;
– болт зажимной с гайкой – 784;
– болт стрингерный с гайкой – 864;
– распорка короткая – 192;
– распорка длинная – 240;
– распорка специальная – 32;
– щит настилочный – 768;
– доска настилочная – 96;
– пажилина длинная – 112;
– болт пажильный с гайкой – 256;
– лом прогонный – 96:
– стойка перильная – 224;
– ломик -96.
Группа жестких опор:
– опора рамная – 4;
– опора катковая – 4.
Группа береговых частей и паромных принадлежностей:
– лежень береговой – 8;
– анкер – 48;
– оттяжка анкерная – 24;
– балка аппарельная – 56;
– пажилина короткая – 16;
– сходни – 16.
Группа вспомогательных средств:
– жилет спасательный – 96;
– канат перильный окр. 40 мм и длиной 20—25 мм – 60;
– костюм плавательный – 24;
– крюк для вытаскивания понтонов – 4;
– кувалда – 16;
– пресс прогонов – 2;
– рулетка 20 м – 4;
– рупор – 16;
– свайка для сращивания канатов – 8;
– стрела грузовая – 4;
– штроп окружностью 30 мм и длиной 4.5 м – 320;
– штроп окружностью 30 мм и длиной 2.5 м – 320;
– таль ручная – 16;
– трос стальной диаметром 11 мм и длиной 200 м;
– флаг с длинным древком – 24;
– флаг с коротким древком – 24;
– чехол для флагов с длинным древком – 8;
– чехол для флагов с коротким древком – 8.
Запасные принадлежности: